Removal Procedure
- Remove the grille from the vehicle. Refer to
Grille Replacement
in Exterior Trim.
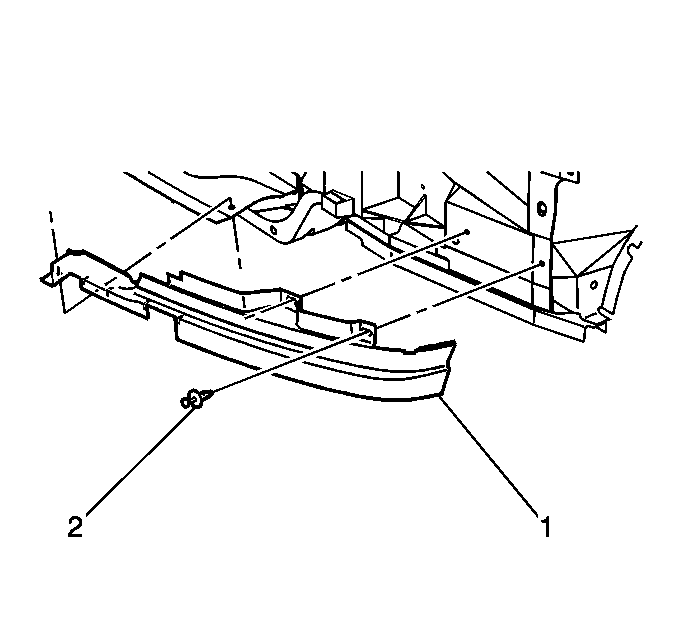
- Remove the push-pin (2)
retaining the front bumper filler (1) to the radiator support.
- Remove the front bumper filler (1) from the vehicle.
Installation Procedure
- Install the front bumper
filler (1) to the vehicle.
- Install the push pin rivets (2) in order to retain the front bumper
filler (1) to the radiator support.
- Install the radiator grille to the vehicle. Refer to
Grille Replacement
in Exterior Trim.