GM Service Manual Online
For 1990-2009 cars only

Rear Bench Seat Replacement All Except Luxury

Removal Procedure

  1. Press a drift punch or a similar tool into the release hole of the seat belt buckle while pulling on the safety belt in order to remove the quick release latch plates for the lap/shoulder belts.

  2. Object Number: 783237  Size: SH
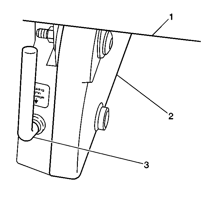
  3. Rotate the locking pin (3) at the rear of the seat riser out of the retainer.
  4. Pull the locking pin (3) out from the rear of the seat riser.

  5. Object Number: 333666  Size: SH
  6. Stow the locking pin in the hole provided at the rear of the seat riser (2).

  7. Object Number: 333671  Size: SH
  8. Lift the seat up and out of the floor rails.

  9. Object Number: 333672  Size: SH
  10. Remove the seat from the vehicle.

Installation Procedure


    Object Number: 333672  Size: SH
  1. Install the seat to the vehicle.

  2. Object Number: 333671  Size: SH
  3. Align the seat attaching points with the slots in the floor rail.
  4. Push the seat forward in the rail in order to lock the front of the seat risers onto the pins on the inside of the floor rail.

  5. Object Number: 333666  Size: SH
  6. Remove the locking pin (3) from the stored position at the rear of the seat riser (2).

  7. Object Number: 783237  Size: SH
  8. Locate the hole in the floor rail at the rear of the seat riser (2) and insert the locking pin.
  9. Rotate the locking pin (3) at the rear of the seat riser (1) into the retaining clip.
  10. Insert the latch plate into the seat belt buckle in order to install the quick release latch plate for the lap/shoulder belt.
  11. Push in order to engage the latch plate with the seat belt buckle.