GM Service Manual Online
For 1990-2009 cars only
Makes
🢒
Chevrolet
🢒
2000
🢒
Express
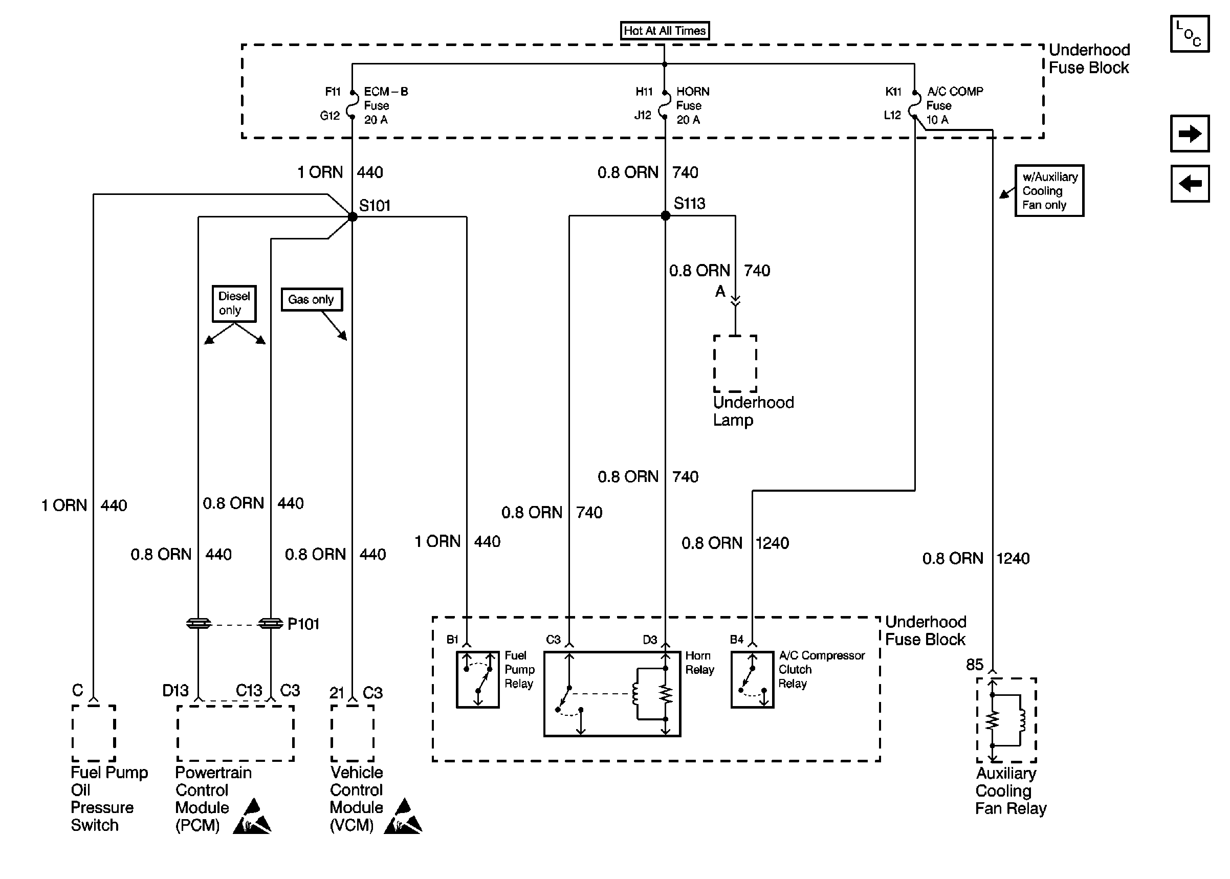
🢒 Cell 10: ECM-B, HORN and A/C COMP Fuses
Cell 10: ECM-B, HORN and A/C COMP Fuses
Cell 10: ECM-B, HORN and A/C COMP Fuses
Power and Grounding Components
Cell 10: FRONT HEATED SEATS, REAR HEATED SEATS, HTD MIR, AUX FAN, and RR DEFOG Fuses
Cell 10: ABS, BLOWER, STOP Fuses and Brake Lamp Relay
Handling Electrostatic Discharge Sensitive Parts Notice
Handling Electrostatic Discharge Sensitive Parts Notice