GM Service Manual Online
For 1990-2009 cars only
Makes
🢒
Chevrolet
🢒
2000
🢒
Express
🢒 Cell 14: G101 (4.3L)
Cell 14: G101 (4.3L)
Cell 14: G101 (4.3L)
Power and Grounding Components
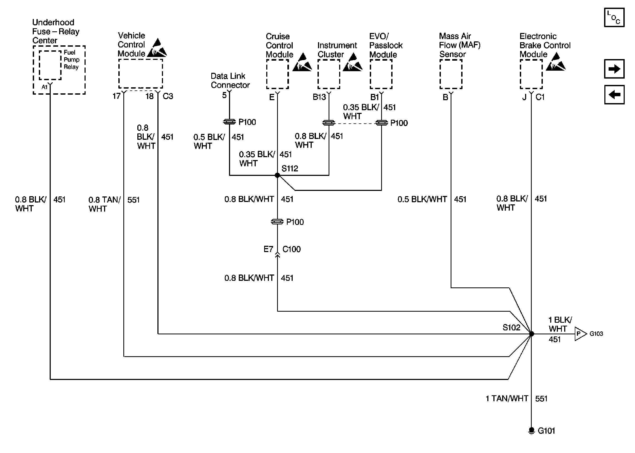
Cell 14: G102, C105, Heated Oxygen Sensor, Bank 2 Sensor 1 (G103) (4.3L)
Cell 14: G202; C203, C204 (G200)
Handling ESD Sensitive Parts Notice
Handling ESD Sensitive Parts Notice
Handling ESD Sensitive Parts Notice
Handling ESD Sensitive Parts Notice
Cell 14: G103 (4.3L)