GM Service Manual Online
For 1990-2009 cars only
Makes
🢒
Chevrolet
🢒
2000
🢒
Express
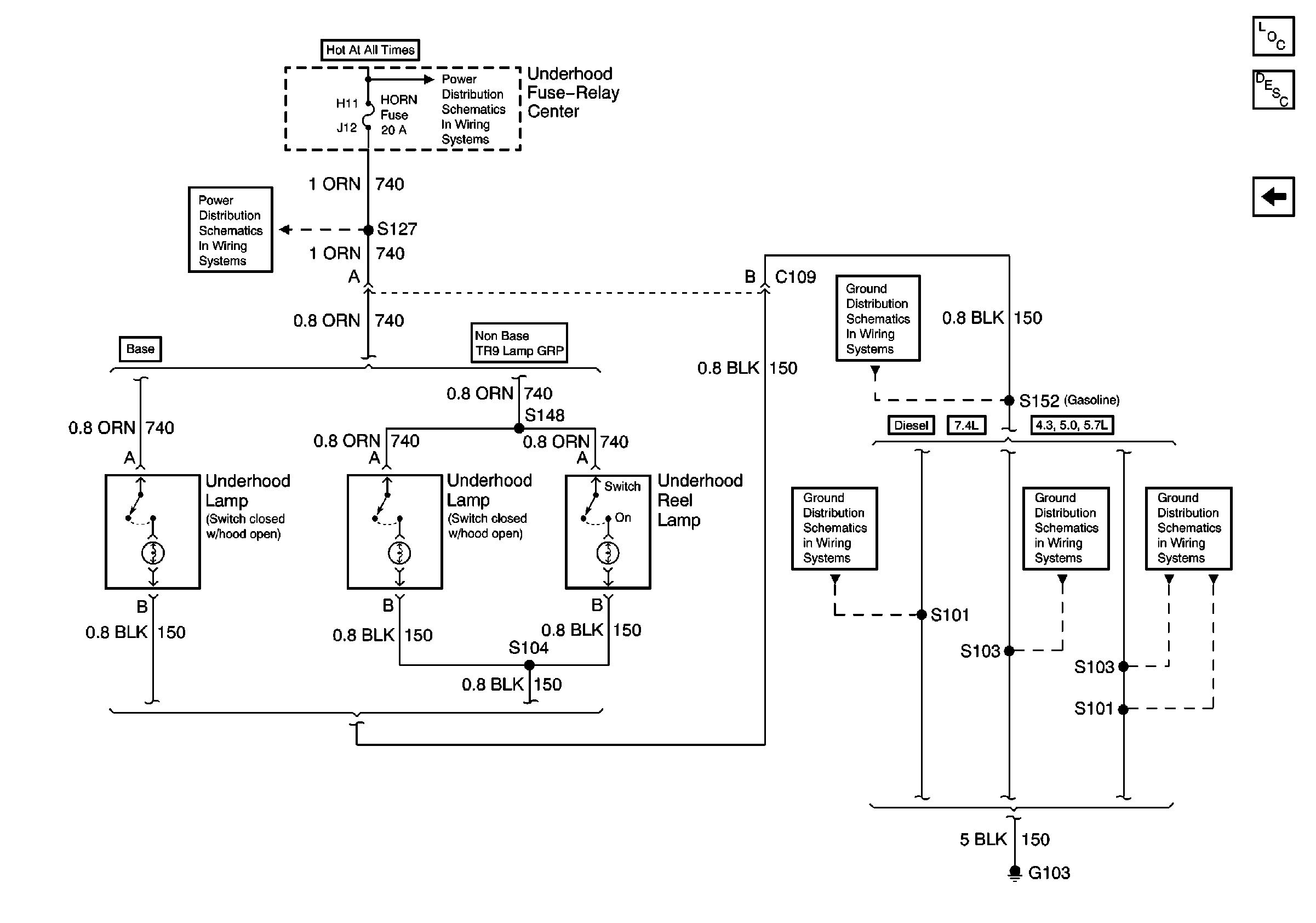
🢒 Underhood Lamps
Underhood Lamps
Underhood Lamps
Lighting Systems Components
Interior Lights Circuit Description
Stepwell Lamps
ECM B, HORN, and A/C Fuses
ECM B, HORN, and A/C Fuses
Components through S152 to G103 (Gasoline Engines)
G103 (6.5L Engine)
G103 (7.4L Engine)
G103 (4.3L, 5.0L, and 5.7L Engines)