GM Service Manual Online
For 1990-2009 cars only
Makes
🢒
Chevrolet
🢒
2000
🢒
Express
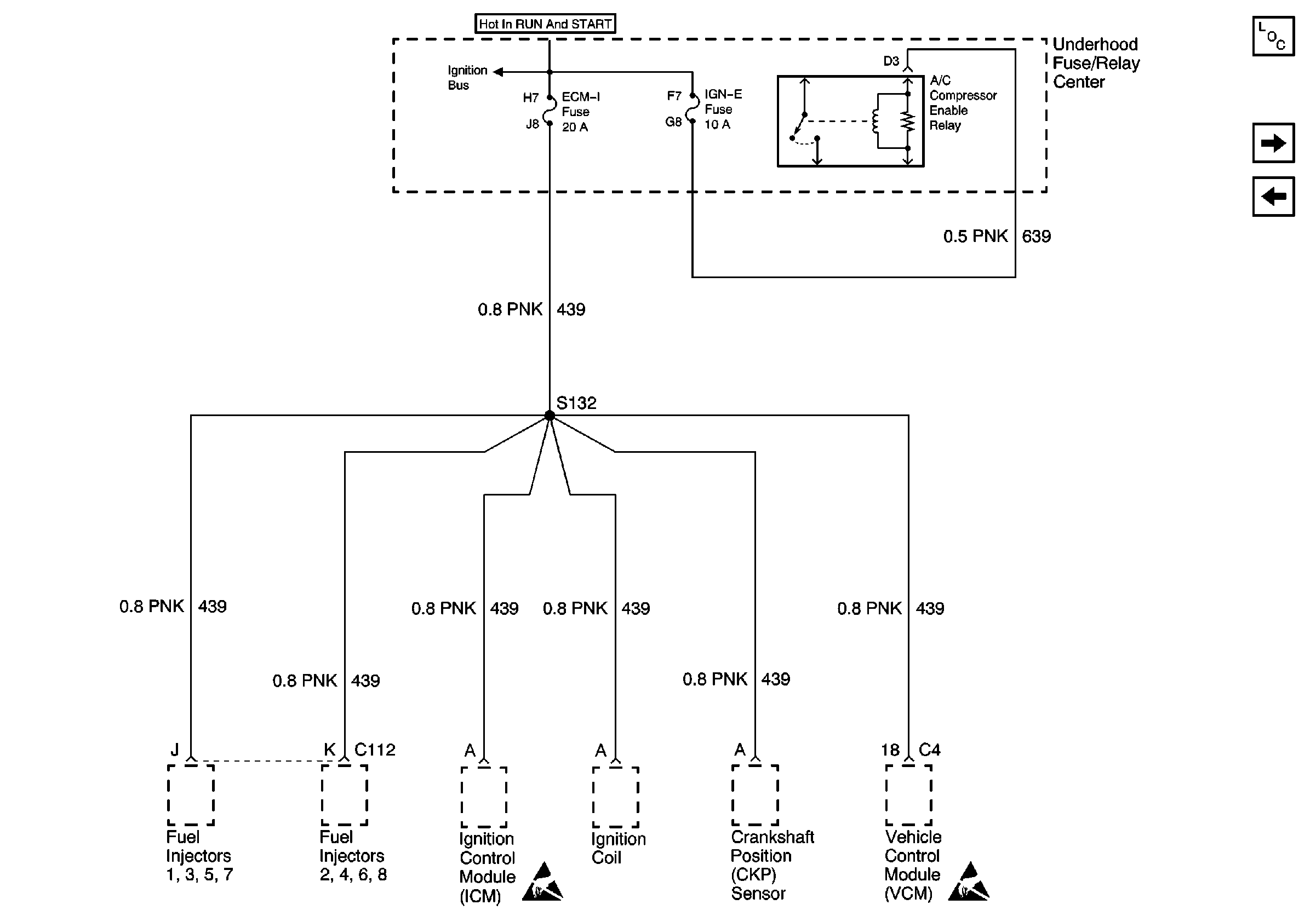
🢒 ECM-I and IGN E Fuses (7.4L)
ECM-I and IGN E Fuses (7.4L)
ECM-I and IGN E Fuses (7.4L)
Power and Grounding Components
LH HDLP, LH HIBM, RH HDLP, and RH HIBM Fuses
ECM 1 and IGN E Fuses (6.5L)
IGN A, IGN B Fuses, and Ignition Switch
Handling ESD Sensitive Parts Notice
Handling ESD Sensitive Parts Notice