GM Service Manual Online
For 1990-2009 cars only
Makes
🢒
Chevrolet
🢒
2000
🢒
Express
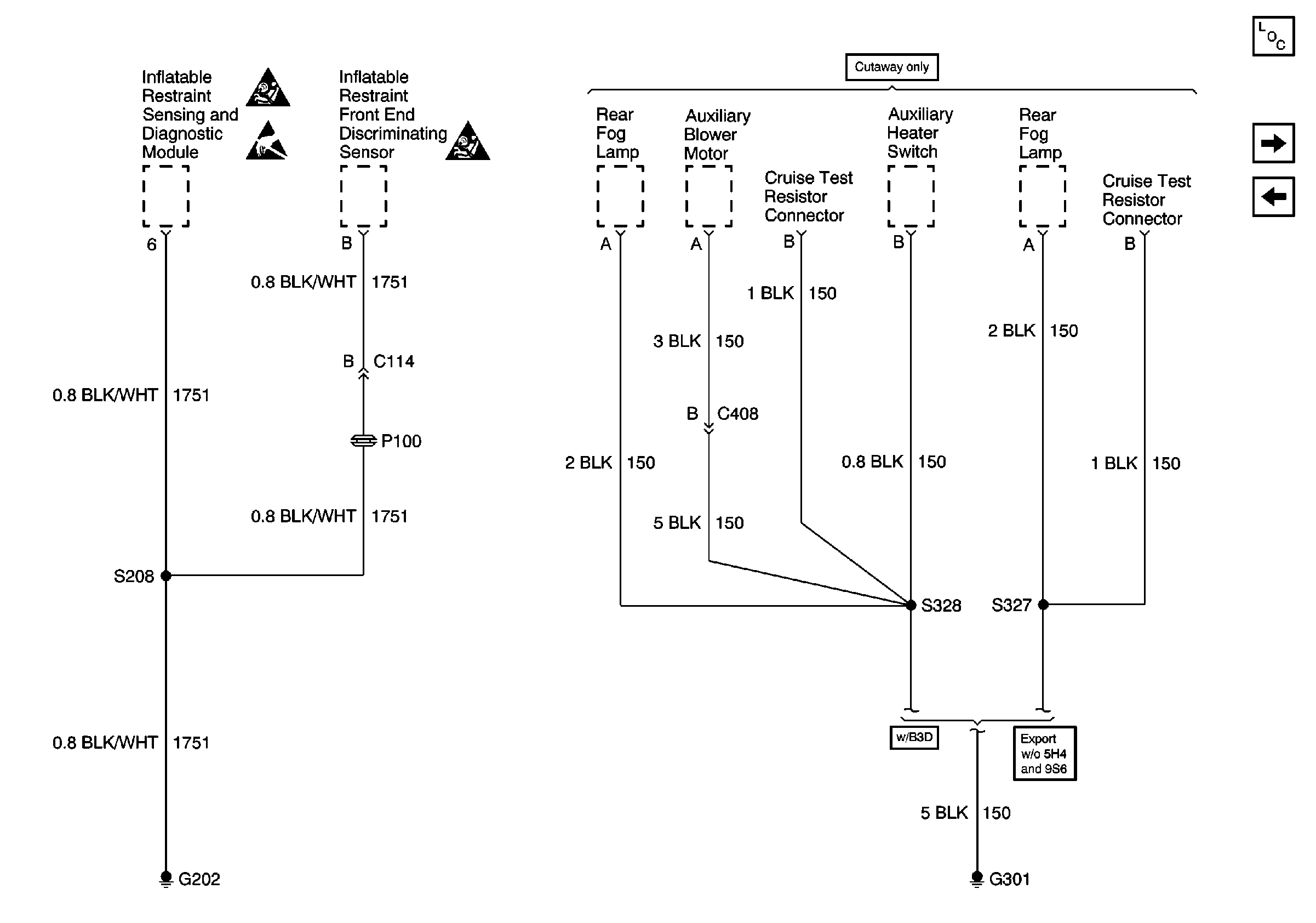
🢒 G202 and G301
G202 and G301
G202 and G301
Power and Grounding Components
G400
G200
SIR Handling Caution
Handling ESD Sensitive Parts Notice
SIR Handling Caution