GM Service Manual Online
For 1990-2009 cars only

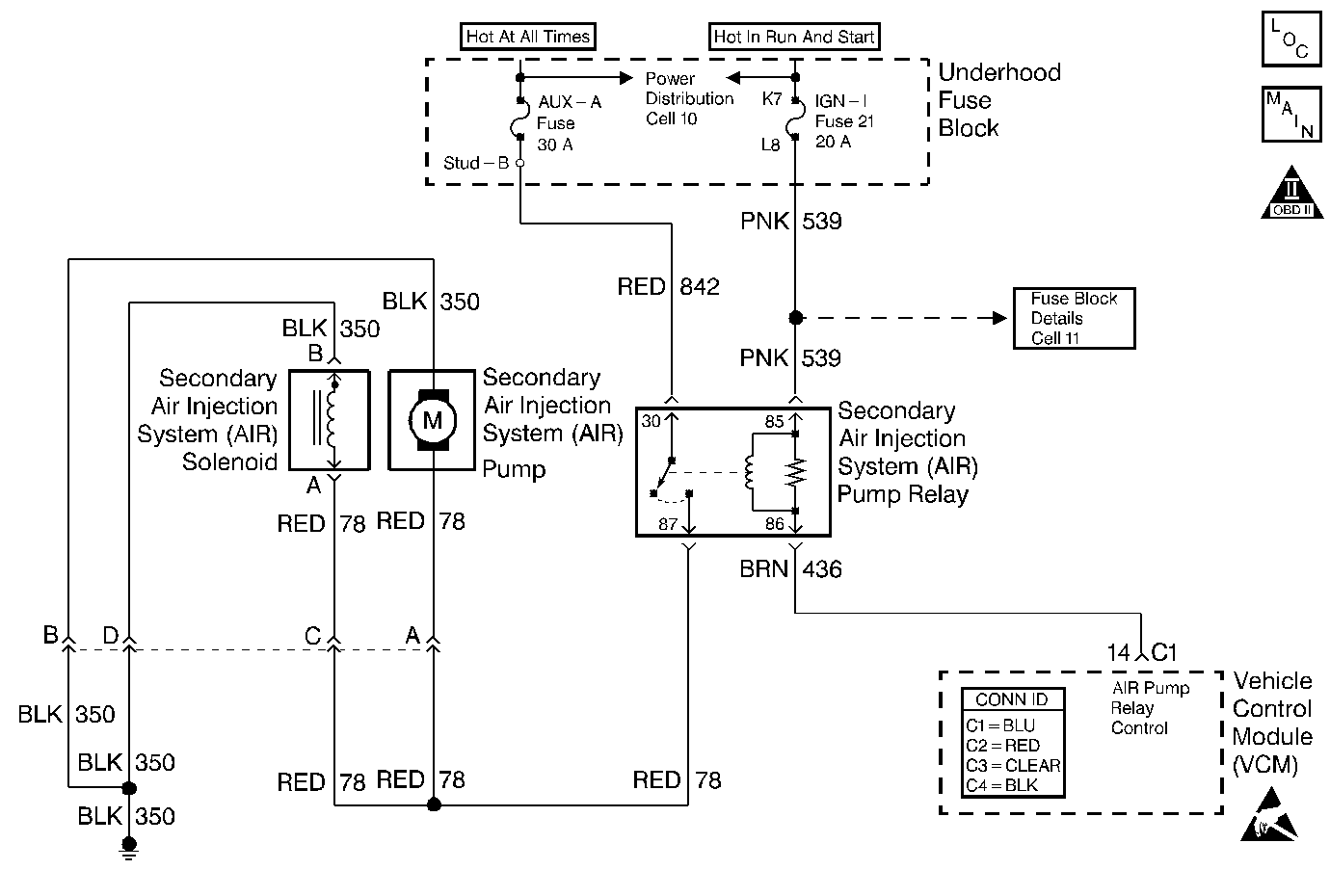
Object Number: 394259  Size: MF
AIR/EVAP - Comp Loc Figure
Air Pump Controls
OBD II Symbol Description Notice
Handling ESD Sensitive Parts Notice

Circuit Description

A secondary air injection (AIR) pump is used on this vehicle to lower tail pipe emissions at start-up. The VCM supplies a ground to the AIR pump relay, which energizes the AIR pump and the AIR solenoid.

When the AIR pump is enabled, the VCM monitors the heated oxygen sensor (HO2S) voltage. If the HO2S voltages go below a calibrated threshold value, the VCM interprets this as an indication that the AIR system is operational.

When the AIR pump is disabled, the VCM monitors the HO2S voltages. The HO2S voltages should increase to mroe a calibrated threshold value and switch normally.

If the VCM did not sense more than a predetermined amount of HO2S rich switches, a malfunction will be reported.

The VCM will activate the AIR pump during Closed Loop mode operation. When the AIR system is activated, the VCM will monitor the HO2S voltages and the short term fuel trim values for both banks of the engine. If the AIR system is operating properly, the HO2S voltages should go low and the short term fuel trim should go high.

The VCM checks that the HO2S voltages return to more than a rich threshold when the AIR pump is disabled.

If the VCM determines that the HO2S voltages for both banks did not respond as expected during the tests, DTC P0410 will set. If only one sensor responded, the VCM will set either DTC P1415 or P1416 to indicate which bank's AIR system is inoperative.

Conditions for Running the DTC

    • No mass air flow (MAF) sensor DTCs
    • No manifold absolute pressure (MAP) sensor DTCs
    • No intake air temperature (IAT) sensorDTCs
    • No engine coolant temperature (ECT) sensor DTCs
    •  No throttle position (TP) sensor DTCs
    • No heated oxygen sensor (HO2S) DTCs
    • No vehicle speed sensor (VSS) DTCs
    • No system voltage DTCs
    • No fuel trim DTCs
    • No misfire DTCs
    • No CCP DTCs
    • The MAF is less than 25 g/s
    • The engine load is less than 34 percent
    • The Power Enrichment mode is not active
    • The Decel Fuel Cutoff (DFCO) mode is not active
    • The Convertor Over-Temperature mode is not active
    • The engine run time after Closed Loop is more than 20 seconds
    • The air/fuel ratio is 14.7:1
    • The Fuel Trim count is 124-132
    • The engine speed is more than 550 RPM
    • The ECT is 80 - 107°C (176 - 225°F)
    • The system voltage is more than 11.7 volts
    • The IAT is more than 2°C (36°F)

Conditions for Setting the DTC

The HO2S voltage is more than 222 mV for more than 1 second when the AIR pump is enabled

Action Taken When the DTC Sets

    • The control module illuminates the malfunction indicator lamp (MIL) if a failure is detected during 2 consecutive key cycles.
    • The control module sets the DTC and records the operating conditions at the time the diagnostic failed. The failure information is stored in the scan tool Freeze Frame/Failure Records.

Conditions for Clearing the MIL or DTC

    • The control module turns OFF the MIL after 3 consecutive drive trips when the test has run and passed.
    • A history DTC will clear if no fault conditions have been detected for 40 warm-up cycles. A warm-up cycle occurs when the coolant temperature has risen 22°C (40°F) from the startup coolant temperature and the engine coolant reaches a temperature that is more than 70°C (158°F) during the same ignition cycle.
    • Use a scan tool in order to clear the DTCs.

Diagnostic Aids

A low AIR system volume may cause DTC P1415, P1416, or an intermittent complaint. Also check for the following conditions:

    • Any pinched, kinked, or restricted AIR pipes, hoses, or fittings
    • Any leaks, holes, or loose fittings or hoses
    • A restricted or obstructed AIR pump inlet
    • Any leaks or restrictions in the vacuum hoses for the AIR shut-off valve.

An AIR supply hose that is melted before the check valve could indicate exhaust gas back-flow past the check valve.

An intermittent may be caused by any of the following conditions:

    • A poor connection
    • Rubbed through wire insulation
    • A broken wire inside the insulation

Thoroughly inspect any circuitry that is suspected of causing the intermittent complaint. Refer to Testing for Intermittent Conditions and Poor Connections in Wiring Systems.

If a repair is necessary, refer to Wiring Repairs or Connector Repairs in Wiring Systems.

Test Description

The numbers below refer to the step numbers on the diagnostic table.

  1. This step will determine if the secondary air injection (AIR) system is functioning correctly.

  2. The engine must be running for this test to ensure a vacuum supply to the system.

  3. This step will determine if the AIR pump is capable of producing airflow.

  4. This step will determine if the VCM is capable of controlling the AIR pump relay.

Step

Action

Value(s)

Yes

No

1

Did you perform the Powertrain On-Board Diagnostic (OBD) System Check?

--

Go to Step 2

Go to Powertrain On Board Diagnostic (OBD) System Check

2

Inspect the AIR maxifuse.

Is the fuse open?

--

Go to Step 13

Go to Step 3

3

Inspect the ignition fuse.

Is the fuse open?

--

Go to Step 29

Go to Step 4

4

  1. Install the scan tool.
  2. Start the engine and allow the engine to run for 2 minutes.
  3. Verify the engine is running at a normal operating temperature and in Closed Loop.
  4. Command the AIR Pump ON with the scan tool.

Does the Short Term Fuel Trim indicate a change of more than the specified value within 30 seconds?

20%

Go to Step 5

Go to Step 6

5

The DTC is intermittent.

Are any additional DTCs stored?

--

Go to the applicable DTC table

Go to Diagnostic Aids

6

  1. Turn ON the ignitionn leaving the engine OFF.
  2. Command the AIR pump ON with the scan tool.

Is the AIR pump running?

--

Go to Step 7

Go to Step 9

7

With a scan tool, command the AIR pump OFF

Is the AIR pump OFF?

--

Go to Step 16

Go to Step 8

8

  1. Turn OFF the ignition.
  2. Disconnect the AIR pump relay.
  3. Turn ON the ignition, leaving the engine OFF.

Is the AIR pump ON?

--

Go to Step 34

Go to Step 9

9

  1. Turn OFF the ignition.
  2. Disconnect the AIR pump relay.
  3. Turn the ignition ON, leaving the engine OFF.
  4. Probe the B+ terminal of the AIR pump relay at the relay connector with a test lamp connected to ground.

Does the test lamp illuminate?

--

Go to Step 10

Go to Step 31

10

Jumper the B+ terminal to the AIR pump feed circuit at the relay harnesses connector using a fused jumper.

Is the AIR pump ON?

--

Go to Step 22

Go to Step 11

11

  1. Leave the jumper installed.
  2. Disconnect the AIR pump electrical connector.
  3. Probe terminal A of the AIR pump electrical connector with a test lamp connected to ground.

Does the test lamp illuminate?

--

Go to Step 12

Go to Step 33

12

  1. Leave the jumper installed.
  2. Connect a test lamp from terminal A to terminal B of the AIR pump harness connector.

Does the test lamp illuminate?

--

Go to Step 37

Go to Step 39

13

  1. Turn OFF the ignition.
  2. Disconnect the AIR relay
  3. Remove the AIR maxifuse.
  4. Probe the battery feed terminal at the AIR pump relay harness connector with a test lamp connected to B+.

Does the test lamp illuminate?

--

Go to Step 32

Go to Step 14

14

  1. Disconnect the electrical connector from the AIR pump and the AIR solenoid.
  2. Probe the AIR pump/AIR solenoid feed circuit at the AIR pump relay harness connector with a test lamp connected to B+.

Does the test lamp illuminate?

--

Go to Step 35

Go to Step 15

15

  1. Install the following component:
  2. • A new AIR maxifuse
    • The AIR pump relay
    • The AIR pump solenoid.
  3. Connect the electrical connectors to the AIR pump and the AIR solenoid.
  4. Turn ON the ignition, leaving the engine OFF.
  5. With a scan tool, command the AIR pump ON.

Does the AIR maxifuse open?

--

Go to Step 45

Go to Step 30

16

  1. Turn the ignition OFF.
  2. Disconnect the AIR solenoid harness connector.
  3. Turn ON the ignition, leaving the engine OFF.
  4. Probe the terminal for the solenoid B+ circuit at the AIR solenoid harness connector with a test lamp connected to ground.
  5. Command the AIR pump ON with the scan tool.

Does the test lamp illuminate?

--

Go to Step 17

Go to Step 33

17

Connect a test lamp between terminal A and terminal B of the AIR solenoid valve harness connector

With a scan tool, command the AIR pump ON.

Does the test lamp illuminate?

--

Go to Step 18

Go to Step 37

18

  1. Disconnect the vacuum harness from the AIR solenoid.
  2. Connect a vacuum gauge to the vacuum source hose.
  3. Start the engine

Is the reading on the gauge more than the specified value

10 in. Hg

Go to Step 19

Go to Step 38

19

  1. Connect ONLY the vacuum supply hose to the AIR solenoid.
  2. Connect a vacuum gauge to the other port of the AIR solenoid.
  3. With a scan tool, command the AIR pump ON with the engine running.

Is the reading on the gauge more than the specified value?

10 in. Hg

Go to Step 20

Go to Step 45

20

  1. Connect the vacuum hose to the AIR solenoid.
  2. Disconnect the AIR shut-off valve inlet hose at the AIR shut-off valve.
  3. Start the engine.
  4. Command the AIR pump ON with the scan tool.

Is air flow present at the AIR shut-off valve inlet hose?

--

Go to Step 21

Go to Step 37

21

  1. Reconnect the AIR inlet hose to the AIR shut-off valve
  2. Disconnect the AIR shut-off valve output hose at the AIR shut-off valve.
  3. Start the engine.
  4. Command the AIR pump ON with the scan tool.

Does air flow from the AIR shut-off valve?

--

Go to Step 28

Go to Step 40

22

Turn ON the ignition.

Probe the ignition feed circuit terminal at the AIR pump relay with a test lamp connected to ground

Does the test lamp illuminate?

--

Go to Step 23

Go to Step 31

23

Probe the control circuit at the relay connector with a test lamp connected to B+.

With a scan tool, command the AIR pump ON.

Does the test lamp illuminate?

--

Go to Step 24

Go to Step 25

24

Probe the control circuit at the relay connector with a test lamp connected to battery positive.

With a scan tool, command the AIR pump OFF.

Does the test lamp illuminate?

--

Go to Step 36

Go to Step 27

25

Disconnect the connectors from the VCM. Probe the control circuit at the relay connector with a test lamp connected to ground.

Does the test lamp illuminate?

--

Go to Step 42

Go to Step 26

26

Test the control circuit for continuity between the relay and the VCM.

Does the meter show continuity?

--

Go to Step 46

Go to Step 41

27

Disconnect the VCM connectors. Test the control circuit for a short to ground.

Did you find a problem?

--

Go to Step 43

Go to Step 46

28

Check for leaks or restrictions in the following components:

    • The hoses
    • The check valves
    • The fittings
    • The AIR pipes
    • The exhaust manifolds

Did you find a problem?

--

Go to Step 44

Go to Diagnostic aids

29

  1. Turn ON the ignition.
  2. Probe the ignition feed circuit terminal at the AIR pump relay connector with a test lamp connected to B+.

Does the test lamp illuminate?

--

Go to Step 32

Go to Diagnostic Aids

30

  1. Reconnect the AIR pump.
  2. With a scan tool, command the AIR pump ON.

Does the AIR maxifuse open?

 

Go to Step 37

Go to Diagnostic Aids

31

Repair the open in the circuit between the fuse and the relay.

Is the repair complete?

--

Go to Step 48

--

32

Repair the short to ground in the circuit between the fuse and the relay.

Is the repair complete?

--

Go to Step 48

--

33

Repair the open in the circuit between the relay and the AIR pump.

Is the repair complete?

--

Go to Step 48

--

34

Repair the short to voltage in the circuit between the relay and the AIR pump.

Is the repair complete?

--

Go to Step 48

--

35

Repair the short to ground between the Air relay and the AIR pump.

Is the repair complete?

--

Go to Step 48

--

36

Replace the AIR pump relay.

Is the repair complete?

--

Go to Step 48

--

37

Replace the AIR pump.

Is the repair complete?

--

Go to Step 48

--

38

Repair the leak or restriction in the vacuum hose.

Is the repair complete?

--

Go to Step 48

--

39

Repair the open in the AIR pump ground circuit.

Is the repair complete?

--

Go to Step 48

--

40

Replace the AIR shut-off valve.

Is the repair complete?

--

Go to Step 48

--

41

Repair the open in the AIR relay control circuit between the relay and the VCM.

Is the repair complete?

--

Go to Step 48

--

42

Repair the short to voltage in the AIR relay control circuit between the relay and the VCM.

Is the repair complete?

--

Go to Step 48

--

43

Repair the short to ground in the AIR relay control circuit between the relay and the VCM.

Is the repair complete?

--

Go to Step 48

--

44

Repair the air delivery system as necessary.

Is the repair complete?

--

Go to Step 48

--

45

Replace the AIR pump solenoid.

Is the repair complete?

--

Go to Step 48

--

46

Check the VCM connections. Repair as necessary.

Was a repair necessary?

--

Go to Step 48

Go to Step 47

47

Important: The replacement VCM must be programmed.

Replace the VCM. Refer to VCM Replacement/Programming .

Is the action complete?

--

Go to Step 48

--

48

  1. Install the scan tool.
  2. Start the engine and allow the engine to run for 2 minutes.
  3. Verify the engine is running at normal operating temperature and in Closed Loop.
  4. Command the AIR pump ON with the scan tool.

Does the Short Term Fuel Trim indicate a change of more than the specified value within 30 seconds?

20%

Go to Step 49

Go to Step 6

49

  1. Using the scan tool, clear the DTCs.
  2. Start the engine.
  3. Allow the engine to idle until the engine reaches a normal operating temperature.
  4. Select the DTC and the Specific DTC functions on the scan tool.
  5. Operate the vehicle within the Conditions for Setting the DTC until the scan tool indicates the diagnostic Ran.

Does the scan tool indicate the diagnostic Passed?

--

Go to Step 50

Go to Step 6

50

Select the Capture Info option and review the captured info using the scan tool.

Are there any DTCs displayed that have not been diagnosed?

--

Go to the applicable DTC table

System OK