GM Service Manual Online
For 1990-2009 cars only

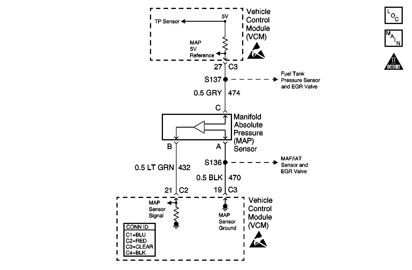
Object Number: 683345  Size: MF
Engine Controls Components
Sensor Controls: MAP, Fuel Tank Pressure Sensor, IAT, TP Sensor, ECT
OBD II Symbol Description Notice
Handling ESD Sensitive Parts Notice
Handling ESD Sensitive Parts Notice
VCM Connector End Views

Circuit Description

The manifold absolute pressure (MAP) sensor is a pressure sensor. The control module supplies the MAP sensor a reference voltage, signal, and ground circuits. When manifold vacuum is low, the MAP sensor signal voltage rises to a value near the reference voltage, and the MAP sensor signal voltage decreases when the manifold vacuum increases. The control module monitors the MAP sensor signal circuit voltage in order to calculate the vacuum within the intake manifold.

Certain vehicle models will also use the MAP sensor in order to calculate the barometric pressure (BARO) when the ignition switch is turned ON and the engine is NOT cranked. This BARO reading may also be updated whenever the engine is operated at wide open throttle (WOT).

This DTC is determines if the MAP sensor signal input to the VCM does not closely match what the predicted value for the MAP sensor should be. The VCM calculates what the MAP signal voltage should be, based on engine RPM. If the MAP sensor voltage and the predicted MAP sensor values do not closely match, this DTC will be set.

Conditions for Running the DTC

    • No active TP sensor DTCs
    • No active EGR DTCs
    • Any variation in engine speed is less than 75 RPM
    • Any variation in throttle position is less than 1.5 percent
    • Any variation in idle air is less than 4 steps
    • The change in EGR flow rate is less than 2 percent
    • No change in brake switch status
    • No change in clutch switch status (manual transmission)
    • No change in AC clutch status for 2 seconds
    • The engine speed is between 400-5000 RPM

Conditions for Setting the DTC

The MAP voltage is outside acceptable limits for more than 24 seconds.

Action Taken When the DTC Sets

    • The control module illuminates the malfunction indicator lamp (MIL) if a failure is detected during 2 consecutive key cycles.
    • The control module sets the DTC and records the operating conditions at the time the diagnostic failed. The failure information is stored in the scan tool Freeze Frame/Failure Records.

Conditions for Clearing the MIL or DTC

    • The control module turns OFF the MIL after 3 consecutive drive trips when the test has run and passed.
    • A history DTC will clear if no fault conditions have been detected for 40 warm-up cycles. A warm-up cycle occurs when the coolant temperature has risen 22°C (40°F) from the startup coolant temperature and the engine coolant reaches a temperature that is more than 70°C (158°F) during the same ignition cycle.
    • Use a scan tool in order to clear the DTCs.

Diagnostic Aids

Inspect the MAP sensor vacuum source for leaks, restrictions, or faulty connections.

Important: After removing the MAP sensor from the intake manifold, replace the MAP sensor to intake manifold seal.

Remove the MAP sensor from the intake manifold and gently twist the sensor in order to test for intermittent connections. Output changes of more than 0.1 volt indicate a bad connector or connection.

An intermittent may be caused by any of the following conditions:

    • A poor connection
    • Rubbed through wire insulation
    • A broken wire inside the insulation

Thoroughly inspect any circuitry that is suspected of causing the intermittent complaint. Refer to Testing for Intermittent Conditions and Poor Connections in Wiring Systems.

If a repair is necessary, refer to Wiring Repairs or Connector Repairs in Wiring Systems.

Test Description

The numbers below refer to the step numbers on the diagnostic table.

  1. This step checks the MAP sensors ability to correctly indicate barometric pressure.

    In order to determine the correct MAP sensor display of barometric pressure for any elevation perform either of the following:

  2. • Compare the recorded MAP sensor display value to the BARO display on a known good vehicle.
    • Obtain the local weather service barometer reading (inch Hg). Multiply the barometer reading by 3.4. The result indicates the correct BARO value in kPa for your area.
  3. This step checks the MAP sensors ability to correctly indicate engine vacuum.

    The MAP sensor display is only active while the engine is operating.

Step

Action

Values

Yes

No

1

Important: Before clearing the DTCs, use the scan tool Capture Info to save the Freeze Frame and Failure Records for reference. The control modules data is deleted once the Clear Info function is used.

Did you perform the Powertrain On-Board Diagnostic (OBD) System Check?

--

Go to Step 2

Go to Powertrain On Board Diagnostic (OBD) System Check

2

  1. Install the scan tool.
  2. Remove the MAP sensor from the intake manifold while leaving the harness connected.
  3. Plug the MAP sensor vacuum source in the intake manifold.
  4. Important: Other DTCs may set when performing the following steps:

  5. Start the engine.
  6. Check and record the MAP sensor kPa display.

Is the value more than the specified value shown?

75 kPa@altitude

95 kPa@sea level

Go to Step 3

Go to Step 6

3

  1. Turn OFF the ignition.
  2. Connect a J 23738-A hand vacuum pump to the MAP sensor.
  3. Important: The engine must remain operating during all steps that observe the MAP sensor display. Slightly raise idle during testing in order to prevent engine stalling.

  4. Start the engine.
  5. Observe the MAP sensor kPa as you SLOWLY apply vacuum 1 inch Hg at a time.
  6. Each inch of vacuum should result in a 3-4 kPa drop in the MAP sensor display.

  7. Observe the MAP sensor display for a skip or jump while increasing vacuum up to 20 inches Hg.

Did you observe a skip or jump in the scan tools pressure?

--

Go to Step 6

Go to Step 4

4

Observe the MAP sensor kPa display with 20 inches Hg of vacuum applied to the MAP sensor.

Is the value less than the value shown?

34 kPa

Go to Step 5

Go to Step 6

5

  1. Slightly raise the idle in order to prevent the engine from stalling.
  2. Disconnect the MAP sensor from the J 23738-A hand vacuum pump.
  3. The MAP sensor display should return to the value recorded in Step 2.

Does the MAP sensor display return to the recorded value?

--

Go to Diagnostic Aids

Go to Step 6

6

Check the MAP sensor connections.

Did you find a problem?

--

Go to Step 7

Go to Step 8

7

Repair the connections as necessary. Refer to Connector Repairs in Wiring Systems.

Is the action complete?

--

Go to Step 9

--

8

Replace the MAP sensor. Refer to Manifold Absolute Pressure Sensor Replacement .

Is the action complete?

--

Go to Step 9

--

9

  1. Using the scan tool, clear the DTCs.
  2. Start the engine.
  3. Allow the engine to idle until the engine reaches normal operating temperature.
  4. Select DTC and the Specific DTC function.
  5. Enter the DTC number which was set.
  6. Operate the vehicle, with the Conditions for Setting this DTC, until the scan tool indicates that the diagnostic Ran.

Does the scan tool indicate that the diagnostic Passed?

--

Go to Step 10

Go to Step 2

10

Does the scan tool display any additional undiagnosed DTCs?

--

Go to the applicable DTC table

System OK