GM Service Manual Online
For 1990-2009 cars only

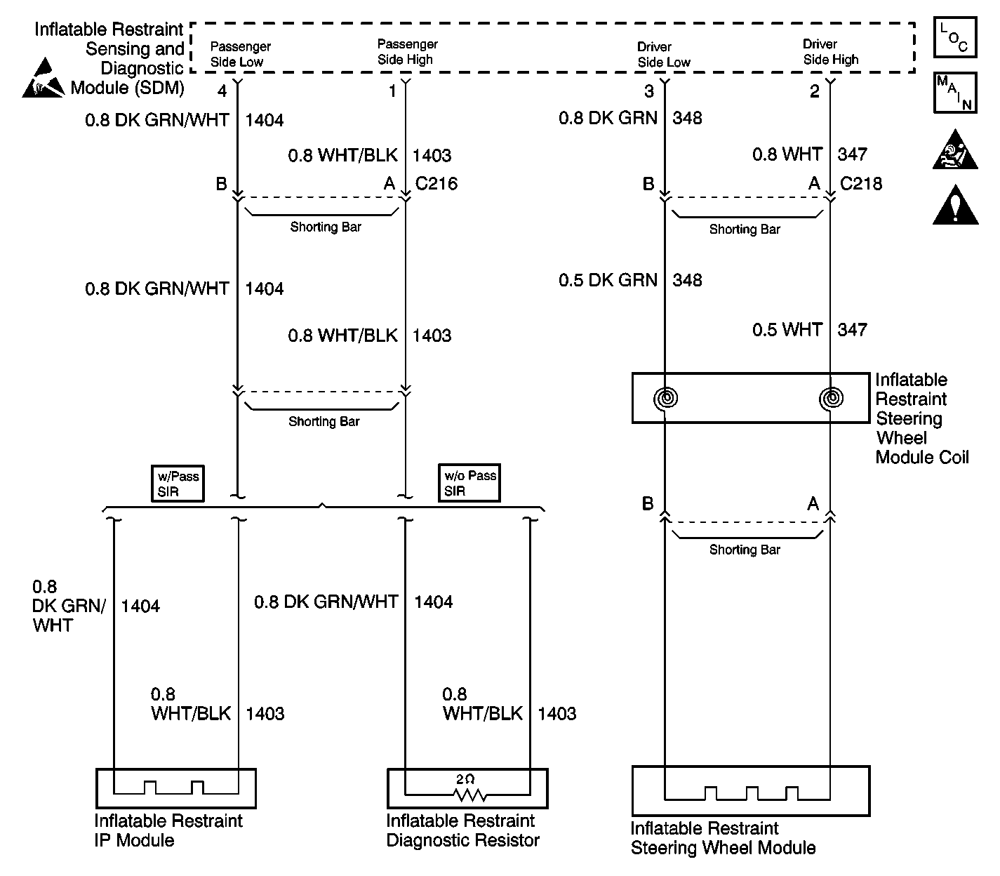
Object Number: 576666  Size: LF
SIR Components
SIR Schematics
SIR Caution
SIR Schematic Icons
Handling ESD Sensitive Parts Notice

Circuit Description

When you first turn the ignition switch to the RUN position, the inflatable restraint sensing and diagnostic module (SDM) performs tests to diagnose critical malfunctions within itself. The SDM then measures the following circuits to verify that they are within their respective normal voltage ranges:

    • IGNITION 1 voltage
    • Deployment loop voltages

Then the SDM proceeds with the RESISTANCE MEASUREMENT test. During one portion of the RESISTANCE MEASUREMENT test, the SDM performs the following steps:

    • Grounds the PASSENGER SIDE LOW terminal 4 through an internal current sink.
    • Connects the PASSENGER SIDE HIGH terminal 1 to an internal constant current source.
    • The PASSENGER SIDE HIGH produces proportional voltage drops in the deployment loop.
    • Measures the voltage difference between PASSENGER SIDE HIGH and PASSENGER SIDE LOW.
    • Calculates the resistance of the passenger deployment loop using the measured voltage.

Conditions for Setting the DTC

    • The driver and passenger deployment loops are not open.
    • The driver and passenger deployment loops are not shorted to voltage.
    • The passenger deployment loop is not shorted to ground.
    • The passenger deployment loop resistance is less than 1.4 ohms.

Action Taken When the DTC Sets

The SDM turns ON the AIR BAG warning lamp.

Conditions for Clearing the DTC

    • Current DTC
        The following conditions must be met:
       - The resistance of the passenger deployment loop is more than 1.4 ohm.
       - The ignition switch is cycled.
    •  History DTC
       - You issue a scan tool CLEAR CODES command.
       - After 250 malfunction free ignition cycles have occurred.

When you issue a scan tool CLEAR CODES command and the malfunction is still present, the DTC will not reappear until the next ignition cycle.

Diagnostic Aids

The following may cause an intermittent condition:

    • A short circuit between CKT 1403 and CKT 347.
    • A short circuit between CKT 1403 and CKT 348.
    • A short circuit between CKT 1403 and CKT 1404.
    • A malfunctioning shorting bar on the inflatable restraint module connector.

The diagnostic table directs the technician to note the entry value of PASSENGER RESISTANCE. Comparing the value of PASSENGER RESISTANCE over multiple ignition cycles may be helpful in determining if an intermittent condition exists.

When measurements are requested in this table, use the J 39200 Digital Multimeter with the correct terminal adapter from the J 35616 Connector Test Adapter Kit. When an inspection for proper connection is requested, refer to Testing for Intermittent Conditions and Poor Connections in Wiring Systems. When a wire, connector or terminal repair is requested, use the J-38125 Terminal Repair Kit. Refer to Wiring Repairs in Wiring Systems.

Test Description

The numbers below refer to the step numbers on the diagnostic table:

  1. This test determines the deployment loop resistance measured by the inflatable restraint sensing and diagnostic module (SDM).

  2. This test isolates the malfunction to one side of the inflatable restraint IP module yellow 2-way connector.

  3. This test inspects for a short from CKTs 1403 to 1404.

  4. This test inspects for a short from CKTs 1403 to 348.

DTC B1016 Passenger Deployment Loop Resistance Low

Step

Action

Value(s)

Yes

No

1

Was the SIR Diagnostic System Check performed?

--

Go to Step 2

Go to Diagnostic System Check - SIR

2

  1. Turn the ignition switch to the OFF position.
  2. Connect the Scan Tool to the DLC.
  3. Turn the ignition switch to the RUN position.
  4. Request the SIR data list display.
  5. Read and record on the repair order the passenger deployment loop resistance PASSENGER RESISTANCE.
  6. Request the SIR DTC display.

Is DTC B1022 also present?

--

Go to Step 3

Go to Step 4

3

  1. Turn the ignition switch to the OFF position.
  2. Disconnect the inflatable restraint steering wheel and IP module yellow 2-way connectors at the base of the steering column and behind the passenger knee bolster.
  3. Repair the short from CKT 347 to CKT 1403.

Is the repair complete?

--

Go to Step 12

--

4

  1. Turn the ignition switch to the OFF position.
  2. Disconnect the inflatable restraint IP module yellow 2-way connector located behind the passenger knee bolster.
  3. Reconnect the 2-way connector.
  4. Verify that the CPA is properly installed.
  5. Turn the ignition switch to the RUN position.
  6. Using a Scan Tool , request the SIR data list display.
  7. Read the passenger deployment loop resistance PASSENGER RESISTANCE.

Is PASSENGER RESISTANCE less than the specified value?

1.4 ohms

Go to Step 6

Go to Step 5

5

  1. Turn the ignition switch to the OFF position.
  2. Replace the inflatable restraint IP module yellow 2-way harness connector. Refer to Connector Repairs in Wiring Systems.

Is the repair complete?

--

Go to Step 12

--

6

  1. Turn the ignition switch to the OFF position.
  2. Disconnect the inflatable restraint steering wheel and IP module yellow 2-way connectors at the base of the steering column and behind the passenger knee bolster.
  3. Connect the J 38715-A to the harness connectors.
  4. Turn the ignition switch to the RUN position.
  5. Using the Scan Tool , request the SIR data list display.
  6. Read the passenger deployment loop resistance PASSENGER RESISTANCE.

Is PASSENGER RESISTANCE less than the specified value?

1.4 ohms

Go to Step 8

Go to Step 7

7

  1. Turn the ignition switch to the OFF position.
  2. Replace the inflatable restraint IP module. Refer to Inflatable Restraint Instrument Panel Module Replacement .

Is the repair complete?

--

Go to Step 12

--

8

  1. Turn the ignition switch to the OFF position.
  2. Disconnect the inflatable restraint sensing and diagnostic module (SDM). Refer to Inflatable Restraint Sensing and Diagnostic Module Replacement .
  3. Disconnect the J 38715-A .
  4. Measure the resistance from the SDM harness connector terminal 1 to terminal 4.

Is the resistance less than the specified value?

OL

Go to Step 9

Go to Step 10

9

  1. Turn the ignition switch to the OFF position.
  2. Repair the short from CKT 1403 to CKT 1404.

Is the repair complete?

--

Go to Step 12

--

10

Measure the resistance from the SDM harness connector terminal 1 to terminal 3.

Is the resistance less than the specified value?

OL

Go to Step 11

Go to Sensing and Diagnostic Module Integrity Check

11

Repair the short from CKT 1403 to CKT 348.

Is the repair complete?

--

Go to Step 12

--

12

  1. Reconnect all SIR system components
  2. Verify that all components, connectors and CPAs are properly mounted.

Have all SIR components been reconnected and properly mounted?

--

Go to Step 13

--

13

Clear all SIR DTCs.

Have all SIR DTCs been cleared?

--

Go to Diagnostic System Check - SIR

--