GM Service Manual Online
For 1990-2009 cars only

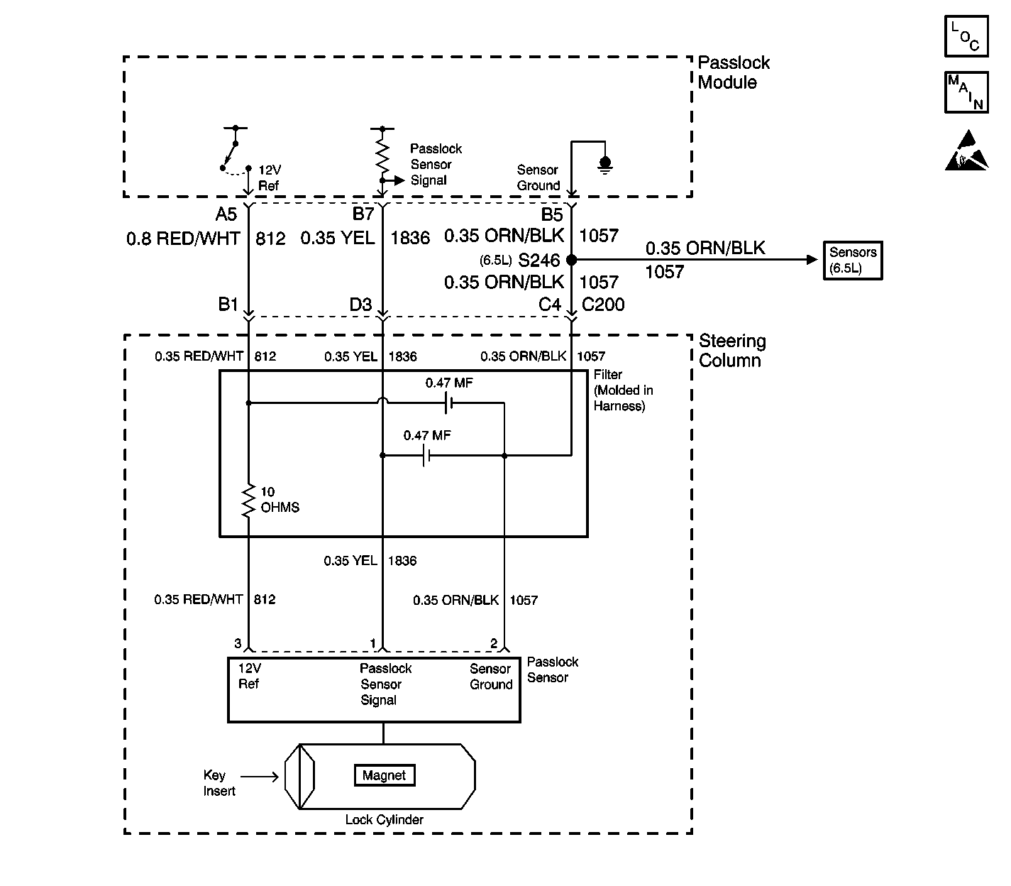
Object Number: 573247  Size: LF
Theft Deterrent System Components
Theft Deterrent System Schematics Passlock
Theft Deterrent System Schematic Icons
GAUGES Fuse, Fuel Sender Buffer Module, Low Engine Coolant Level Indicator Module, Low Engine Coolant Indicator Sensor, G103, G201, G209

Circuit Description

The Passlock™ Module will read an analog voltage from the Passlock™ Sensor. Based on an internal reference, the Passlock™ Module will determine if the measured voltage is open, shorted to ground, a valid code, or a tamper code. There are 10 possible valid code combinations. The Passlock™ Module will only accept the last learned valid code.

Conditions for Setting the DTC

    • The Passlock™ Module will inspect for a valid code when the ignition is rotated from ON to crank.
    • The Passlock™ Module is reading a different code value than previously learned from the Passlock™ Sensor.

Action Taken When the DTC Sets

    • The vehicle will not run if the fault occurs before the vehicle is started. The security telltale will be flashing.
    • If the vehicle is running when the fault occurs, the Passlock™ Module will be in the fail enabled mode allowing the vehicle to start and run. The security telltale will be ON.

Conditions for Clearing the DTC

    • The DTC will clear after an ignition cycle has occurred without the fault.
    • Passlock™ Module history codes will be cleared after 100 ignition cycles with no current codes active.
    • Using a scan tool

Diagnostic Aids

    • When replacing the Passlock™ Sensor, all the sensor components; the lock, the sensor, the filter, and the harness, are included as a replacement part and must be replaced.
    • Use the scan tool in order to test the Passlock™ data voltage and the Passlock™ code.
    • Perform a visual inspection of the wiring and the connectors.
    • Inspect the Passlock™ Sensor harness and the filter for an intermittent or poor connections (including the in-line connector). Refer to Testing for Intermittent Conditions and Poor Connections .

Test Description

The numbers below refer to the numbers on the diagnostic table.

  1. If the Passlock™ Sensor has been replaced without the Passlock Learning Procedure, DTC B2960 will set.

  2. This step will determine if the problem is in the Passlock™ Sensor or the Passlock™ Module. A 5 volt signal is normal for the Passlock™ signal input with the Passlock™ Sensor disconnected.

Step

Action

Value(s)

Yes

No

1

Did you perform the VTD Diagnostic System Check?

--

Go to Step 2

Go to Diagnostic System Check - Theft Deterrent

2

Has the Passlock sensor just been replaced?

--

Go to Step 6

Go to Step 3

3

  1. Turn the ignition switch ON.
  2. Disconnect the Passlock™ sensor connector.
  3. Connect a DMM between the Passlock™ sensor connector terminal 3 and terminal 2.

Is the voltage reading within the specified range?

4.9-5.0 volts

Go to Step 5

Go to Step 4

4

  1. Remove the jumper.
  2. Replace the Passlock™ Module. Refer to Theft Deterrent Module Replacement .

Is the repair complete?

--

Go to Step 6

--

5

  1. Remove the jumper.
  2. Replace the Passlock™ Sensor in the electronic column lock module assembly.
  3. • With Tilt Wheel
       - To disassemble the lock module assembly, refer to Electronic Column Lock Module - Disassemble - Off Vehicle in Steering Wheel and Column - Tilt.
       - To assemble the lock module assembly, refer to Electronic Column Lock Module - Assemble - Off Vehicle in Steering Wheel and Column - Tilt.
    • With Standard Wheel
       - To disassemble the lock module assembly, refer to Electronic Column Lock Module - Disassemble - Off Vehicle in Steering Wheel and Column - Standard.
       - To assemble the lock module assembly, refer to Electronic Column Lock Module - Assemble - Off Vehicle in Steering Wheel and Column - Standard.

Is the repair complete?

--

Go to Step 6

--

6

  1. Reconnect all the previously disconnected connectors and the components.
  2. Ensure that the ignition switch is ON.
  3. Connect the scan tool.
  4. Clear the DTCs.
  5. Perform one of the following Passlock™ reprogramming procedures:

Is the repair complete?

--

Go to Diagnostic System Check - Theft Deterrent

--