GM Service Manual Online
For 1990-2009 cars only

Fuel Filter Replacement Passenger/Cargo Van

Removal Procedure

Important: Inspect the fuel tank internally and clean the fuel tank if you find a restricted fuel filter. Refer to Fuel System Cleaning .


    Object Number: 34089  Size: SH

    Caution: Unless directed otherwise, the ignition and start switch must be in the OFF or LOCK position, and all electrical loads must be OFF before servicing any electrical component. Disconnect the negative battery cable to prevent an electrical spark should a tool or equipment come in contact with an exposed electrical terminal. Failure to follow these precautions may result in personal injury and/or damage to the vehicle or its components.

  1. Disconnect the negative battery cable.
  2. Relieve the fuel system pressure. Refer to Fuel Pressure Relief .
  3. Raise the vehicle. Refer to Lifting and Jacking the Vehicle in General Information.
  4. Clean all the fuel filter connections and the surrounding areas before disconnecting the fuel pipes in order to avoid possible contamination of the fuel system.
  5. Disconnect the fuel feed pipe (5) from the fuel filter outlet.

  6. Object Number: 34091  Size: SH
  7. Disconnect the fuel feed pipe from the fuel filter inlet (3).
  8. Cap the fuel pipes in order to prevent fuel system contamination.

  9. Object Number: 588984  Size: SH
  10. Remove the fuel filter from the bracket.
  11. Inspect the fuel pipe O-rings for cuts, nicks, swelling, or distortion. Replace the O-rings if necessary.

Installation Procedure


    Object Number: 588984  Size: SH
  1. Install the fuel filter into the bracket.
  2. Remove the caps from the fuel pipes.

  3. Object Number: 34091  Size: SH
  4. Connect the fuel feed pipe to the fuel filter inlet (3).

  5. Object Number: 34089  Size: SH
  6. Connect the fuel feed pipe (5) to the fuel filter outlet.
  7. Lower the vehicle.
  8. Tighten the fuel filler cap.
  9. Connect the negative battery cable.
  10. Inspect for leaks:
  11. 8.1. Turn ON the ignition for 2 seconds.
    8.2. Turn OFF the ignition for 10 seconds.
    8.3. Turn ON the ignition.
    8.4. Inspect for fuel leaks.

Fuel Filter Replacement Cutaway Van

Removal Procedure

Important: Inspect the fuel tank internally and clean the fuel tank if you find a restricted fuel filter. Refer to Fuel System Cleaning .


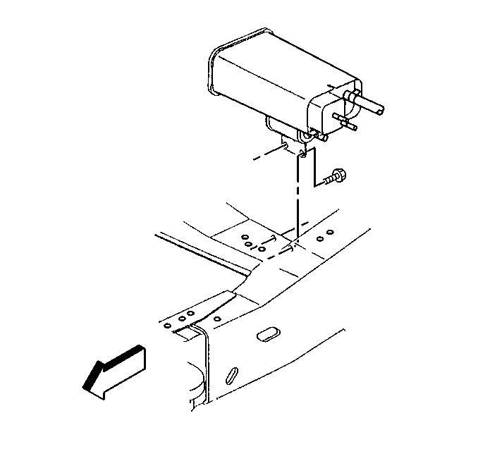
    Object Number: 601689  Size: SH
  1. Remove the mounting bolts from the EVAP canister bracket .

  2. Object Number: 588983  Size: SH

    Caution: Unless directed otherwise, the ignition and start switch must be in the OFF or LOCK position, and all electrical loads must be OFF before servicing any electrical component. Disconnect the negative battery cable to prevent an electrical spark should a tool or equipment come in contact with an exposed electrical terminal. Failure to follow these precautions may result in personal injury and/or damage to the vehicle or its components.

  3. Disconnect the negative battery cable.
  4. Relieve the fuel system pressure. Refer to Fuel Pressure Relief .
  5. Raise the vehicle. Refer to Lifting and Jacking the Vehicle in General Information.
  6. Clean all the fuel filter connections and the surrounding areas before disconnecting the fuel pipes in order to avoid contamination of the fuel system.
  7. Disconnect the fuel feed pipe (7) from the fuel filter outlet.
  8. Disconnect the fuel feed pipe (3) from the fuel filter inlet.
  9. Cap the fuel pipes in order to prevent fuel system contamination.

  10. Object Number: 588984  Size: SH
  11. Remove the fuel filter from the bracket.
  12. Inspect the fuel pipe O-rings for cuts, nicks, swelling, or distortion. Replace the O-rings if necessary.

Installation Procedure


    Object Number: 588983  Size: SH
  1. Install the fuel filter into the bracket.
  2. Remove the caps from the fuel pipes.
  3. Connect the fuel feed pipe (3) to the fuel filter inlet.
  4. Connect the fuel feed pipe (7) to the fuel filter outlet.

  5. Object Number: 601689  Size: SH

    Notice: Use the correct fastener in the correct location. Replacement fasteners must be the correct part number for that application. Fasteners requiring replacement or fasteners requiring the use of thread locking compound or sealant are identified in the service procedure. Do not use paints, lubricants, or corrosion inhibitors on fasteners or fastener joint surfaces unless specified. These coatings affect fastener torque and joint clamping force and may damage the fastener. Use the correct tightening sequence and specifications when installing fasteners in order to avoid damage to parts and systems.

  6. Install the mounting bolts to the EVAP canister bracket .
  7. Tighten
    Tighten the bolts to 12 N·m (106 lb in).

  8. Lower the vehicle.
  9. Tighten the fuel filler cap.
  10. Connect the negative battery cable.
  11. Inspect for leaks:
  12. 9.1. Turn ON the ignition for 2 seconds.
    9.2. Turn OFF the ignition for 10 seconds.
    9.3. Turn ON the ignition.
    9.4. Inspect for fuel leaks.