GM Service Manual Online
For 1990-2009 cars only
Makes
🢒
Chevrolet
🢒
2001
🢒
Express
🢒
Engine
🢒
Engine Controls - 4.3L
🢒 Emission Hose Routing Diagram
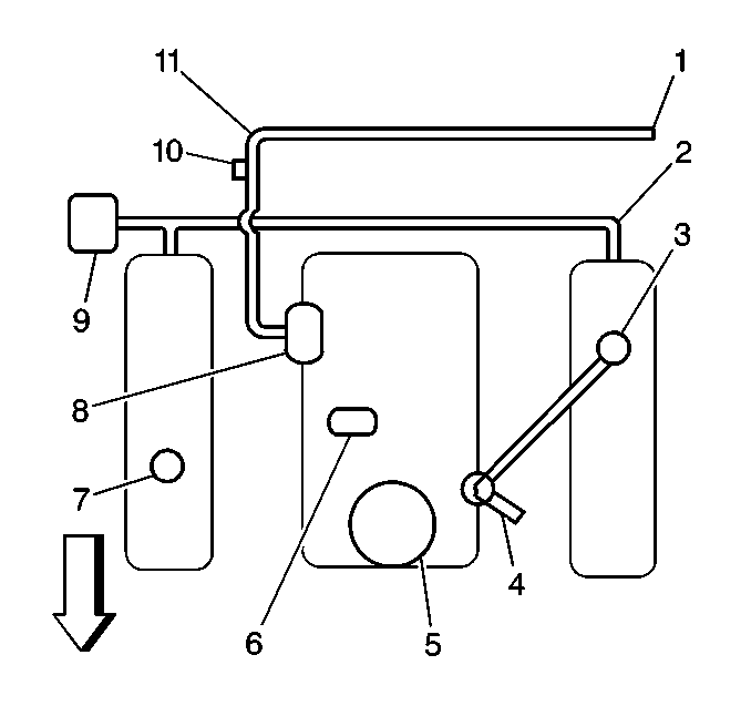
Figure
1:
(1)
To EVAP Canister
(2)
To AIR Pump (If Applicable)
(3)
Positive Crankcase Ventilation (PCV)
(4)
To HVAC (If Applicable)
(5)
Throttle Body
(6)
Manifold Absolute Pressure (MAP) Sensor
(7)
Crankcase Vent
(8)
EVAP Canister Purge Solenoid Valve
(9)
AIR Pump (If Applicable)
(10)
EVAP Service Port
(11)
EVAP Canister Purge Hose
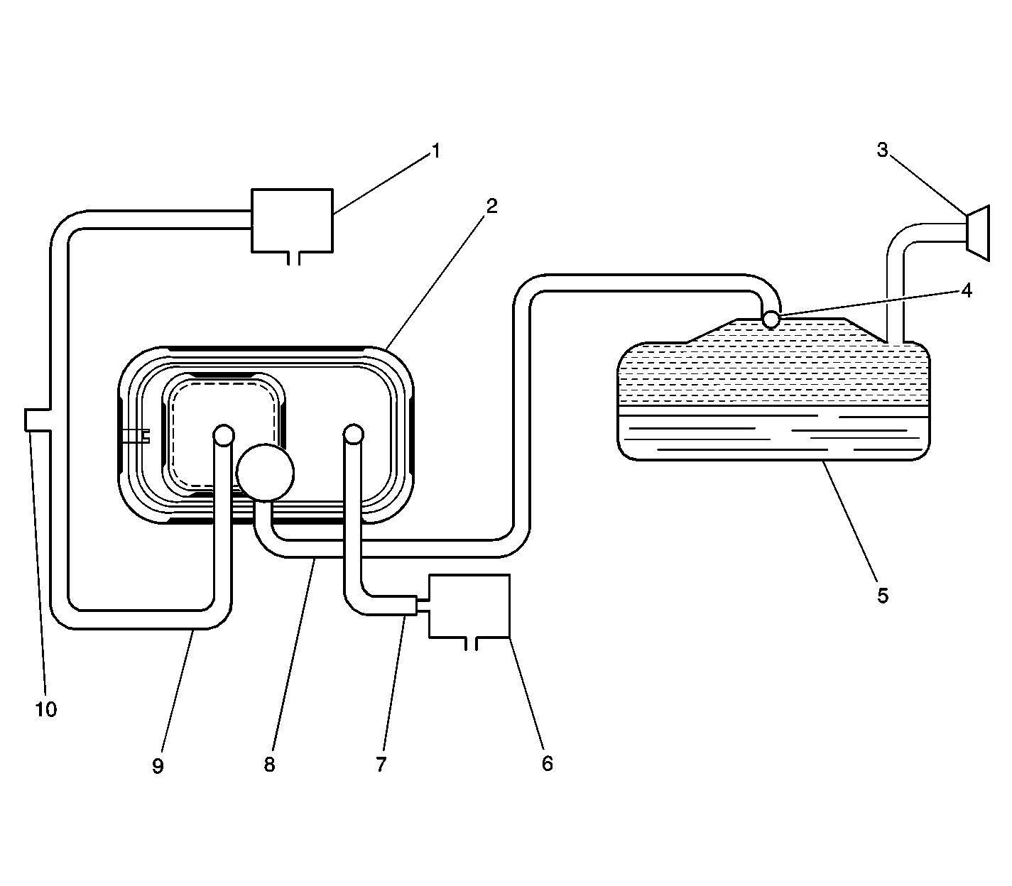
Figure
2:
EVAP System Overview
(1)
EVAP Canister Purge Solenoid
(2)
EVAP Canister
(3)
Fuel Fill Neck/Fill Cap
(4)
Rollover Valve/Fuel Tank Pressure (FTP) Sensor
(5)
Fuel Tank
(6)
EVAP Canister Vent Solenoid
(7)
Vent Hose/Pipe
(8)
EVAP Vapor Pipe
(9)
EVAP Purge Pipe
(10)
EVAP Service Port