GM Service Manual Online
For 1990-2009 cars only

Purpose

To control spark knock or detonation, a knock sensor (KS) system is used. The KS system allows the powertrain control module (PCM) to adjust ignition timing in order to eliminate spark knock. This process provides optimal driveability and fuel economy under all operating conditions.

Operation

The PCM uses a KS in order to detect abnormal vibration in the engine, such as detonation, or spark knocking. Mounted in the engine block, the KS produces an AC signal at all engine speeds and loads. Next, the PCM adjusts the spark timing based on the amplitude, and on the frequency of the KS signal. The PCM calculates a normal level of engine noise, also known as the noise channel, from the KS signal. The noise channel consists of an upper and lower region. A normal KS signal should vary within the noise channel as shown in the Knock Sensor Signal - Normal. A KS signal outside the noise channel, as shown in Knock Sensor Signal - Knock Present, indicates spark knock. The PCM will then adjust the spark timing to eliminate the engine knock.

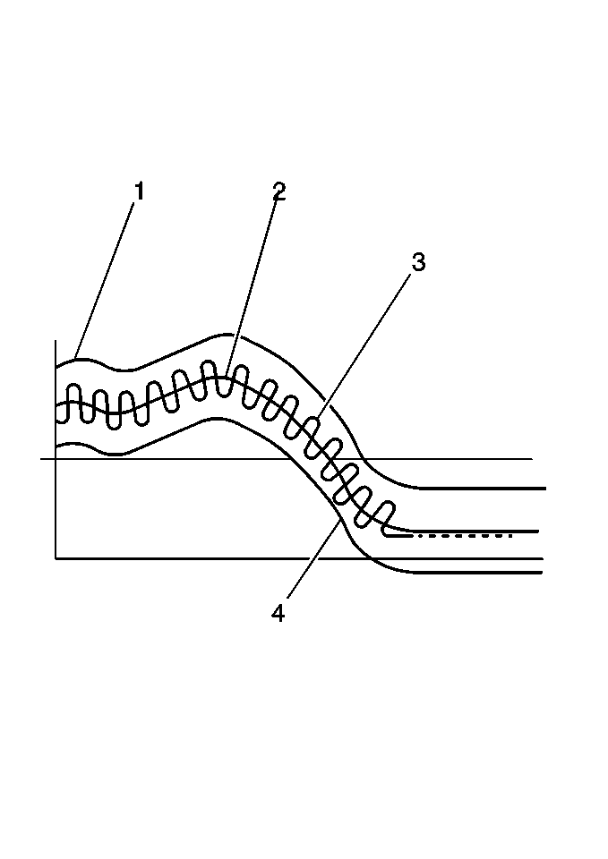
Knock Sensor Signal - Normal


Object Number: 245257  Size: MH
(1)Upper Noise Channel Region
(2)Noise Channel Average
(3)Knock Sensor Signal
(4)Lower Noise Channel Region

Knock Sensor Signal - Knock Present


Object Number: 245253  Size: MH
(1)Upper Noise Channel Region
(2)Noise Channel Average
(3)Knock Sensor Signal
(4)Lower Noise Channel Region

Diagnosis

A diagnostic trouble code (DTC) may be set for the following conditions or faults:

    • The PCM malfunctions in a manner which will not allow the PCM to run a diagnostic of the KS circuit.
    • The KS signal is outside of the assigned noise channel.
    • The KS signal is not present.
    • The PCM is unable to eliminate the knocking condition using the maximum spark retard.