GM Service Manual Online
For 1990-2009 cars only

Removal Procedure


    Object Number: 334930  Size: SH
  1. Remove the brace (8) attached to the fender and cowl.
  2. Disconnect the electrical connector from the AIR pump (1).
  3. Disconnect the electrical connector from the solenoid valve (6).

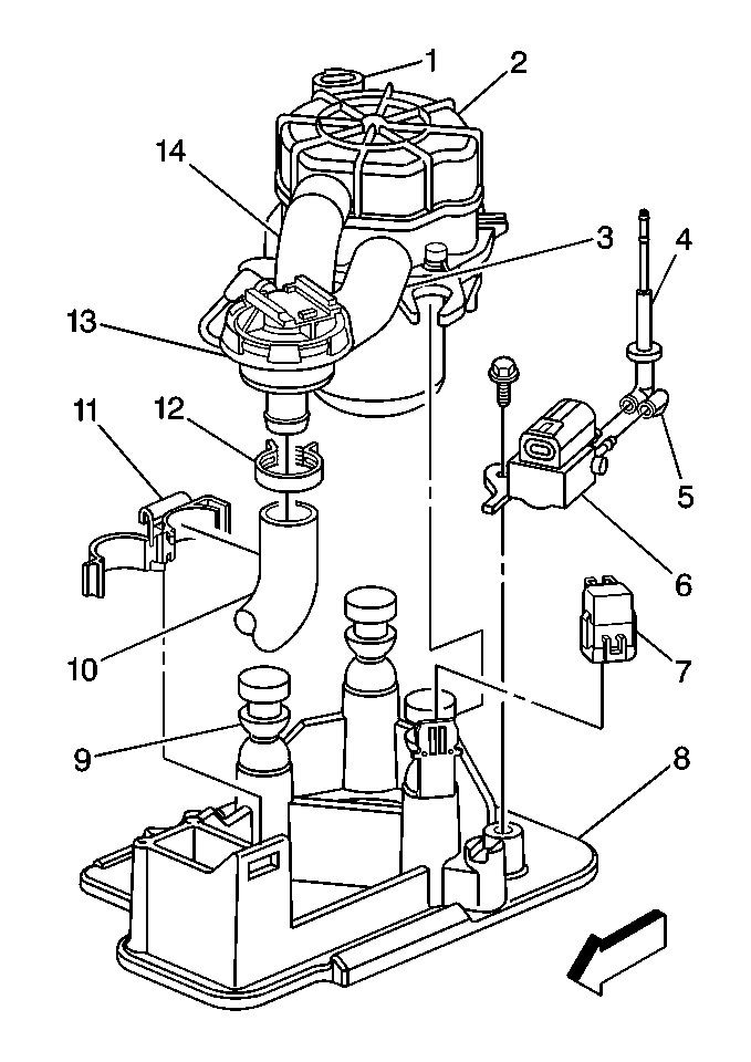
  4. Object Number: 349261  Size: MH
  5. Disconnect the electrical connector from the relay (7).
  6. Remove the hose clamp (12) from the shut-off valve hose (10).
  7. Remove the hose from the shut-off valve.
  8. Remove the vacuum line (5) from the solenoid valve (6).

  9. Object Number: 334923  Size: SH
  10. Remove the assembly hold-down bolt (2) and the block (3).
  11. Remove the AIR pump assembly (1).

  12. Object Number: 349261  Size: MH
  13. Release the rubber mounting posts (9) from the AIR pump (2).
  14. Remove the hoses (3, 14) from the AIR pump.
  15. Remove the AIR pump.

Installation Procedure


    Object Number: 349261  Size: MH
  1. Install the AIR pump (2) onto the rubber mounting posts (9).
  2. Connect the hoses (3, 14) to the AIR pump.

  3. Object Number: 334923  Size: SH
  4. Install the AIR pump assembly (1) into the vehicle.
  5. Install the assembly hold-down block (3) and the bolt (2).
  6. Notice: Use the correct fastener in the correct location. Replacement fasteners must be the correct part number for that application. Fasteners requiring replacement or fasteners requiring the use of thread locking compound or sealant are identified in the service procedure. Do not use paints, lubricants, or corrosion inhibitors on fasteners or fastener joint surfaces unless specified. These coatings affect fastener torque and joint clamping force and may damage the fastener. Use the correct tightening sequence and specifications when installing fasteners in order to avoid damage to parts and systems.

  7. Install the mounting bolt.
  8. Tighten
    Tighten the bolt to 25.0 N·m (18 lb ft).


    Object Number: 349261  Size: MH
  9. Connect the hose (10) to the shut-off valve (13).
  10. Connect the hose clamp (12) to the shut-off valve hose (10).
  11. Connect the electrical connector to the AIR pump (2).
  12. Connect the electrical connector to the solenoid valve (6).
  13. Connect the electrical connector to the relay (7).
  14. Connect the vacuum line diagnostic trouble code (DTC) (5) to the solenoid valve.

  15. Object Number: 334930  Size: SH
  16. Install the brace (8) to the fender and cowl.
  17. Check the system for proper operation.