GM Service Manual Online
For 1990-2009 cars only

Tools Required

    • J 44466-12 CSFI Fuel Metering Body Jumper Block
    • J 44466-13 Screws
    • J 44466-11 IAFM fuel Transfer Tube Recycling Tube
    • J 41413 EVAP Pressure/Purge Diagnostic Station
    • J 44466-10 Regulator and Hose Assembly
    • J 39021 Fuel Injector Coil/Balance Tester
    • J 39021-210 Injector Switch Box
    • J 39021-301 Injector Harness Connector (4.3L)
    • J 38500-A Fuel Injector Cleaner

Fuel Injector Cleaning Procedure


    Object Number: 334517  Size: SH
  1. Loosen the fuel filler cap to relieve vapor pressure in the fuel tank.
  2. Remove the positive crankcase ventilation (PCV) clean air tube from air inlet duct and set aside.
  3. Remove the resonator and air inlet duct from throttle body.
  4. Remove the brake booster vacuum hose and connector from intake manifold.
  5. Remove the electrical connector from the central sequential fuel injection (CSFI) fuel metering body.
  6. Remove the spark plug wires from 1, 3 and 5 from the distributor cap.
  7. Remove the fuel line bolt (4) at the rear of intake manifold.

  8. Object Number: 648217  Size: SH
  9. Relieve the fuel system pressure.
  10. Remove the nuts (1) and clamp (2) from the fuel pipe.
  11. Remove fuel pipes from the metering body.
  12. Important: Make sure that the fuel pipe O-rings, washers, and spacers are present and in their proper position.


    Object Number: 648221  Size: SH
  13. Install the J 44466-12 (2) and the J 44466-13 (1) to the metering body and tighten.

  14. Object Number: 648219  Size: SH
  15. Install the J 44466-11 (4) , clamp (2) and J 44466-13 (1) to the fuel pipe and tighten.

  16. Object Number: 648216  Size: SH
  17. Obtain the J 41413 , close the valve (2) on the tank (3), and remove the regulator assembly.
  18. Install the J 44466-10 (5) to the J 41413 tank (3)

  19. Object Number: 648224  Size: SH
  20. Connect the J 44466-10 hose (1) to the J 44466-12 (3).
  21. Install the J 39021 , the J 39021-210 and J 39021-301 (4) to the metering body electrical connector.
  22. Adjust the amperage selector switch on J 39021 to 0.5  amps.

  23. Object Number: 648216  Size: SH
  24. Open the valve (2) on the tank (3).
  25. Open the valve (4) on the J 44466-10 to pressurize the fuel system. Then close valve (4) before firing injectors.
  26. Important: The minimum pressure required on the gage (6) is 150 psi. If 150 psi is not obtained, the tank (3) must be refilled prior to performing this procedure.

  27. Fire one injector using the J 39021 . Observe a pressure drop on the gage (6) and verify the injector/poppet valve operation. An injector/poppet that is stuck and not operational will have no pressure drop on the gage. If an injector remains stuck, repeat the procedure multiple times (as required) until the injector is operational.
  28. Repeat steps 19 and 20 for each individual injector to verify that all injector/poppet valve assemblies are unstuck and functional.
  29. Shut off pressure valve (2) on the tank (3) of the J 41413 .
  30. Bleed off the pressure at the J 44466-10 .
  31. Install the PCV fresh air tube to the air inlet duct.

  32. Object Number: 648224  Size: SH
  33. Disconnect and remove the J 44466-10 (1) from the J 44466-12 (3) and the J 41413 .
  34. Remove the J 39021-301 J 39021-210 and J 39021 from the metering body.
  35. Install the vehicle electrical connector to the metering body.
  36. Install brake booster vacuum hose and connector to the intake manifold.
  37. Install ignition wires 1, 3, and 5 to the distributor cap.
  38. Install the resonator and air intake duct to the throttle body and hand tighten wing nut.

  39. Object Number: 651337  Size: SH
  40. Obtain J 38500-A (2).
  41. Important: Make sure the valve at the bottom of the canister (3) is closed.

  42. Remove the canister top and add Top Engine Cleaner GM P/N 12346535 to the canister.
  43. Fill the remainder of the canister with regular unleaded gasoline and install the canister top.
  44. Suspend J 38500-A from a convenient underhood location.

  45. Object Number: 648224  Size: SH
  46. Connect the hose from J 38500-A (1) to the service port on the J 44466-12 (3).

  47. Object Number: 651337  Size: SH
  48. Open valve (3) at the bottom of J 38500-A .
  49. Connect a shop air source to the fitting at the top of J 38500-A and adjust the regulator (1) to 75 psi.
  50. Let the vehicle run at idle until the canister is empty and the vehicle stalls.
  51. Remove the shop air supply from J 38500-A .
  52. Depressurize the J 38500-A .
  53. Disconnect the J 38500-A hose from the J 44466-12 .
  54. Remove the PCV clean air tube from the air inlet duct and set aside.
  55. Remove the resonator and air inlet duct from the throttle body and set aside.
  56. Remove ignition wires 1, 3, and 5 from the distributor cap.
  57. Remove brake booster vacuum hose and connector from the intake manifold.
  58. Bleed the residual pressure from J 44466-12 .

  59. Object Number: 648221  Size: SH
  60. Remove J 44466-13 (1) and J 44466-12 (2) from the metering body.

  61. Object Number: 648219  Size: SH
  62. Remove J 44466-13 (1), clamp (2) and J 44466-11 (4) from the fuel pipe (3).
  63. Important: Make sure that all of the O-rings (6 and 8), washers (7), and spacers (5) are present and in proper position.


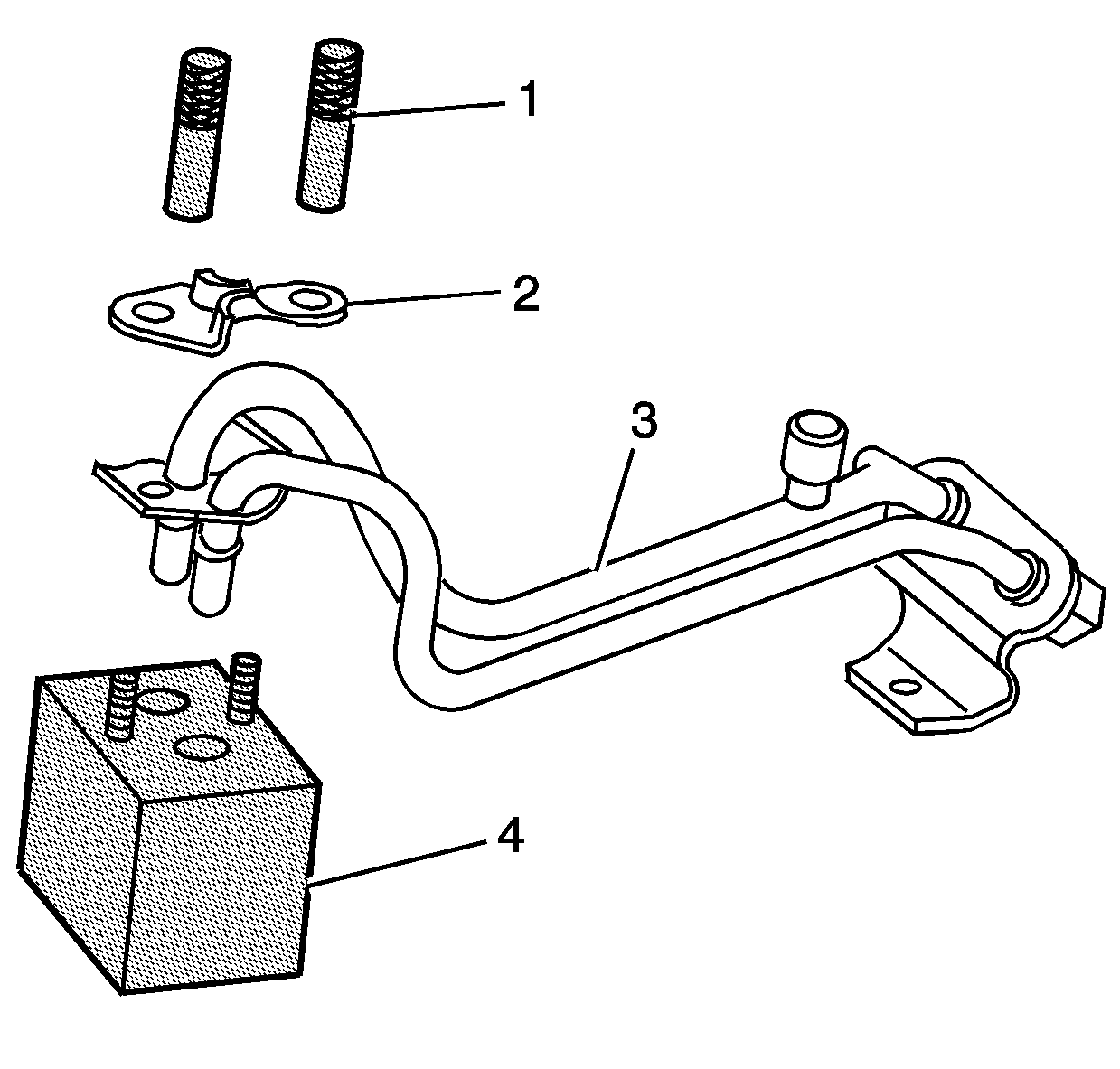
    Object Number: 334517  Size: SH
  64. Install the fuel pipe (3) to the metering body.
  65. Notice: Use the correct fastener in the correct location. Replacement fasteners must be the correct part number for that application. Fasteners requiring replacement or fasteners requiring the use of thread locking compound or sealant are identified in the service procedure. Do not use paints, lubricants, or corrosion inhibitors on fasteners or fastener joint surfaces unless specified. These coatings affect fastener torque and joint clamping force and may damage the fastener. Use the correct tightening sequence and specifications when installing fasteners in order to avoid damage to parts and systems.

  66. Install the clamp (2) and nuts (1).
  67. Tighten
    Tighten nuts to 3 N·m (27 lb ft).

  68. Apply threadlock GM P/N 12345382 or equivalent to the threads of the fuel pipe bolt (4).
  69. Install the fuel pipe bolt.
  70. Tighten
    Tighten the bolt to 6 N·m (53 lb ft).

  71. Install the brake booster vacuum hose and connector to the intake manifold.
  72. Install the resonator and air inlet duct to the throttle body.
  73. Install the PCV clean air tube to the inlet duct.
  74. Install brake booster vacuum hose and connector to the intake manifold.
  75. Install ignition wires 1, 3, and 5 to the distributor cap.
  76. Add one (1) ounce of Port Fuel Injector Cleaner GN P/N 12345104 (in Canada P/N 12345515) to the vehicle fuel tank for each gallon of gasoline estimated to be in the tank.
  77. Important: Instruct the customer to add the remainder of the bottle of Port Fuel Injector Cleaner to the vehicle fuel tank at the next fill up.

  78. Hand tighten the fuel tank filler cap.
  79. Start the vehicle and check for fuel leaks.
  80. Using a Tech II scan tool, check for any stored Powertrain DTC codes. Clear codes as required.
  81. Disconnect Tech II scan tool.
  82. Important: Advise the customer to change brands of fuel.