GM Service Manual Online
For 1990-2009 cars only
Figure 1:

Data Link Connector (DLC)


Object Number: 535672  Size: MF
(1)Data Link Connector (DLC)
Figure 2:

MAF, IAT and Air Cleaner


Object Number: 690103  Size: LF
(1)Mass Air Flow (MAF) Sensor
(2)Air Cleaner Assembly
(3)Intake Air Temperature (IAT) Sensor
Figure 3:

PCM and Underhood Relay Center


Object Number: 688475  Size: LF
(1)Powertrain Control Module (PCM)
(2)Underhood Relay Center
Figure 4:

Purge Solenoid, Ignition Coil, Oil Pressure/Fuel Pump Switch and CMP


Object Number: 209635  Size: MF
(1)EVAP Canister Purge Solenoid
(2)Ignition Control Module
(3)Ignition Coil
(4)Oil Pressure Switch
(5)Camshaft Position Sensor (CMP)
Figure 5:

Knock Sensor and CKP


Object Number: 209638  Size: SF
(1)Knock Sensor (KS)
(2)Crankshaft Position (CKP) Sensor
Figure 6:

TP, IAC and PCV


Object Number: 209640  Size: SF
(1)Idle Air Control (IAC) Valve
(2)Positive Crankcase Ventilation (PCV) Valve
(3)Throttle Position (TP) Sensor
Figure 7:

MAP, EGR, Purge Solenoid, and Throttle Body


Object Number: 209643  Size: SF
(1)Throttle Body
(2)Exhaust Gas Recirculation (EGR) Valve
(3)Generator
(4)Evaporative Emission (EVAP) Canister Purge Valve
(5)Manifold Absolute Pressure (MAP) Sensor
Figure 8:

ECT and EGR


Object Number: 217936  Size: SF
(1)Exhaust Gas Recirculation (EGR) Valve
(2)Engine Coolant Temperature (ECT) Sensor
Figure 9:

Heated Oxygen Sensors (HO2S) 5.0/5.7L Light Duty


Object Number: 430019  Size: MF
(1)HO2S Bank 1 Sensor 3
(2)HO2S Bank 1 Sensor 1
(3)HO2S Bank 2 Sensor 1
Figure 10:

Heated Oxygen Sensors (HO2S) 5.7L Heavy Duty


Object Number: 404297  Size: SF
(1)HO2S Bank 2 Sensor 2
(2)HO2S Bank 1 Sensor 2
(3)HO2S Bank 1 Sensor 1
(4)HO2S Bank 2 Sensor 1
Figure 11:

Vehicle Speed Sensor - 4L60E


Object Number: 209622  Size: SF
(1)Vehicle Speed Sensor (VSS)
Figure 12:

Vehicle Speed Sensor - 4L80E


Object Number: 537877  Size: MF
(1)Vehicle Speed Sensor (VSS)
Figure 13:

Fuel Tank Assembly - NE7


Object Number: 536395  Size: MF
(1)Fuel Pump/Sender Assembly
(2)Fuel Tank
Figure 14:

EVAP Canister and Fuel Tank - NL1


Object Number: 247639  Size: LF
(1)Evaporative Emission (EVAP) Vent Valve
(2)Evaporative Emission (EVAP) Canister
(3)Fuel Tank
(4)Fuel Pump/Sender Assembly
Figure 15:

Fuel Filter and EVAP Canister


Object Number: 536459  Size: MF
(1)Evaporative Emission (EVAP) Canister
(2)Fuel Filter
Figure 16:

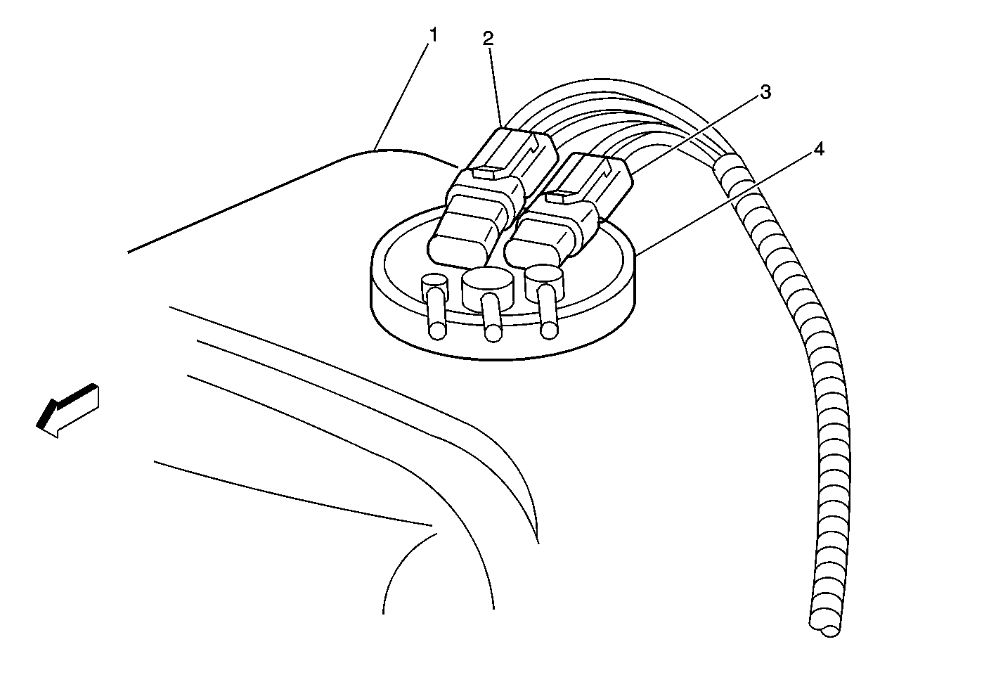
Fuel Tank Pressure Sensor and Fuel Level Sender Assembly


Object Number: 235167  Size: MF
(1)Fuel Tank
(2)Fuel Tank Pressure Sensor Connector
(3)Fuel Level Sender Connector
(4)Fuel Tank Sender Assembly