GM Service Manual Online
For 1990-2009 cars only

Removal Procedure (Enhanced EVAP)

    Caution: Unless directed otherwise, the ignition and start switch must be in the OFF or LOCK position, and all electrical loads must be OFF before servicing any electrical component. Disconnect the negative battery cable to prevent an electrical spark should a tool or equipment come in contact with an exposed electrical terminal. Failure to follow these precautions may result in personal injury and/or damage to the vehicle or its components.

  1. Disconnect the negative battery cable.

  2. Object Number: 238422  Size: SH
  3. Disconnect the vent valve electrical connector.
  4. Disconnect the canister vent hose.

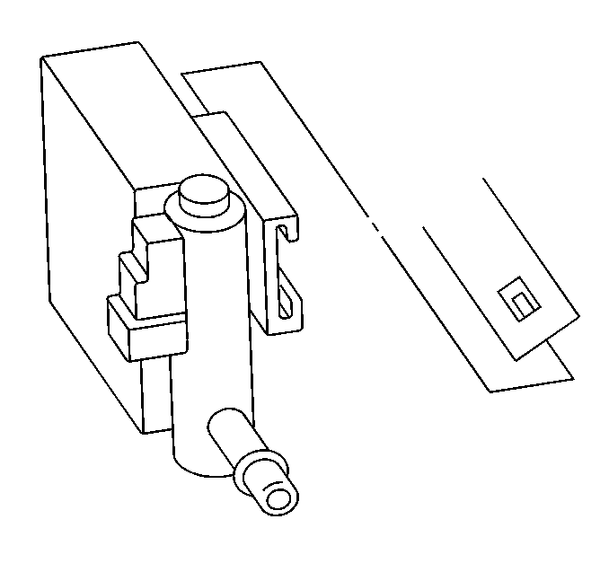
  5. Object Number: 276388  Size: SH
  6. Bend back the tang on the bracket.
  7. Slide the vent valve off the bracket.

Installation Procedure (Enhanced EVAP)


    Object Number: 276388  Size: SH
  1. Slide the vent valve onto the bracket.
  2. Connect the canister vent hose.

  3. Object Number: 238422  Size: SH
  4. Connect the electrical connector.
  5. Connect the negative battery cable.