GM Service Manual Online
For 1990-2009 cars only

Removal Procedure

  1. Raise and support the vehicle. Refer to Lifting and Jacking the Vehicle in General Information.
  2. Remove the leaf spring assembly from vehicle. Refer to Leaf Spring Replacement .

  3. Object Number: 3267  Size: SH
  4. Remove the bushing from the leaf spring using the following procedure:
  5. 3.1. Place the leaf spring in a press.
    3.2. Press the bushing out.
    3.3. Clean the spring bushing bore of any foreign or old bushing material.

Installation Procedure


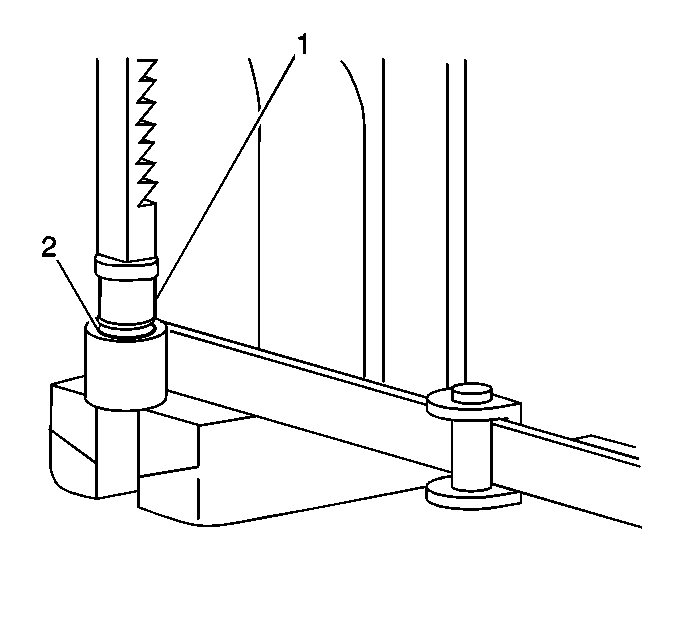
    Object Number: 3268  Size: SH
  1. Apply rubber lubricant to the bushing (1) and spring eye (2).
  2. Install the bushing to the leaf spring.
  3. 2.1. Place the leaf spring in a press.
    2.2. Press the bushing into the spring.
  4. Install the leaf spring assembly to the vehicle. Refer to Leaf Spring Replacement .
  5. Remove the safety stands.
  6. Lower the vehicle.