GM Service Manual Online
For 1990-2009 cars only

Pinion Depth Adjustment 8.6, 9.5 Inch Axles

Tools Required

    • J 21777-85 Gage and Plate
    • J 34925 Pinion Setting Gage and Components
    • J 8001 Dial Indicator Set

    Important: Make sure all of the tools, the differential side bearing bores, and the pinion bearing cups are clean before proceeding.

  1. Lubricate the pinion bearings with axle lubricant. Refer to Fluid and Lubricant Recommendations in Maintenance and Lubrication.
  2. Install the pinion bearings into the axle housing.

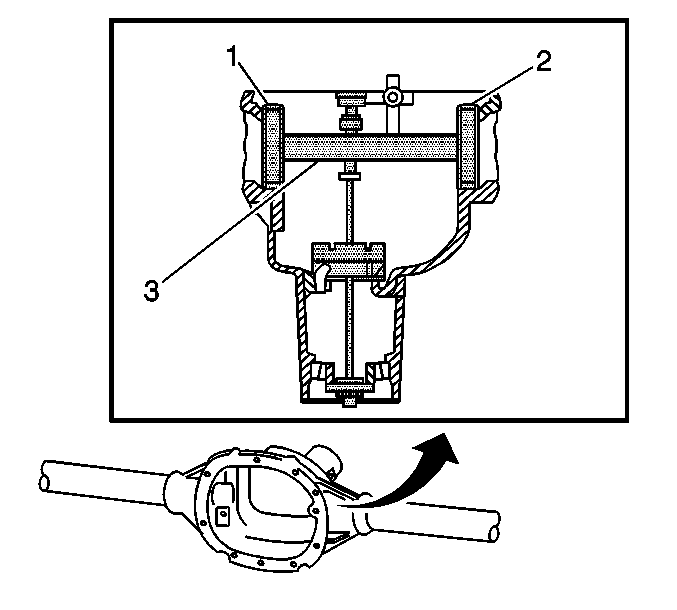
  3. Object Number: 651745  Size: SH
  4. Assemble the following components into the axle housing:
  5. • For the 8.6 inch axle, assemble the J 21777-35 (1), the J 21777-43  (2), the J 21777-42  (3), and the J 21777-29 (4) as shown.
    • For the 9.5 inch axle, assemble the J 21777-8 (1), the J 21777-43  (2), the J 21777-42  (3), and the J 21777-85  (4) as shown.
  6. While holding the J 21777-43 stationary, install an inch-pound torque wrench on the nut of the J 21777-43 and tighten the nut until a rotating torque of 1.7 N·m (15 lb in) is obtained.
  7. Rotate the assembly several times in both directions in order to seat the pinion bearings.

  8. Check the rotating torque of the assembly. If the torque is less than 1.7 N·m (15 lb in), tighten the nut on the J 21777-43 until a rotating torque of 1.7-2.3 N·m (15-20 lb in) is obtained.

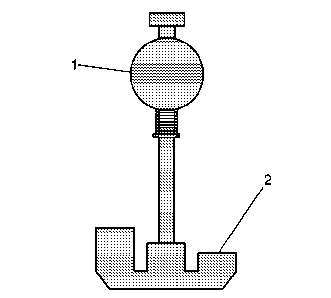
  9. Object Number: 651746  Size: SH
  10. Assemble the following components into the differential carrier bore of the axle housing:
  11. • For the 8.6 inch axle, assemble the J 21777-45 (1, 2) to the J 21777-1 (3) as shown.
    • For the 9.5 inch axle, assemble the J 21777-86 (1, 2) to the J 21777-1 (3) as shown.
  12. Install the bearing caps.
  13. Notice: Refer to Fastener Notice in the Preface section.

  14. Install the bearing cap bolts.
  15. Tighten
    Tighten the bearing cap bolts to 75 N·m (55 lb ft).

  16. Rotate the J 21777-1 within the J 21777-45 (8.6 inch axle), or the J 21777-86 (9.5 inch axle). The J 21777-1 must rotate back and forth freely within the discs. If the J 21777-1 does not rotate freely, disassemble the components, inspect for proper seating and/or mis-aligned components and re-assemble.

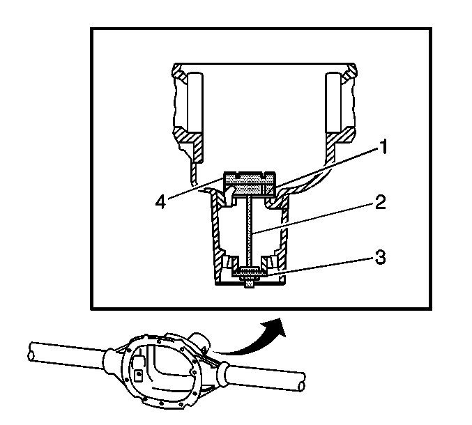
  17. Object Number: 670320  Size: SH
  18. Align the plunger of the J 21777 -1 (1) to the 8.5 inch gauge block setting of the J 21777-29 (8.6 inch axle), or the J 21777-85 (9.5 in axle).
  19. Install the J 8001 to the J 21777-1 as follows:
  20. 11.1. Loosely clamp the J 8001 onto the stem on the J 21777-1.
    11.2. Place the contact pad of the J 8001 onto the mounting post of the J 21777-1.
    11.3. With the contact pad of the J 8001 touching the mounting post of the J 21777-1, loosen the lock nut on the J 8001 and push down on the J 8001 until the needle the J 8001 has turned 3/4 of a turn clockwise.
    11.4. Tighten the clamp on the J 8001 finger tight.
  21. Move the plunger of the J 21777-1 back and forth until the needle of the J 8001 indicates the greatest deflection.
  22. The deflection is the point where the needle changes direction.


    Object Number: 670316  Size: SH
  23. At the greatest point of deflection, move the housing of the J 8001 until the needle indicates zero.
  24. Move the plunger of the J 21777-1 back and forth again to verify the zero setting. Adjust the housing of the J 8001 1 as necessary to set the needle to zero.
  25. Rotate the plunger of the J 21777-1 away from the J 21777-29 (8.6 inch axle) or the J 21777-85 (9.5 inch axle) until the J 21777-1 no longer touches the J 21777-29 (8.6 inch axle) or the J 21777-85 (9.5 inch axle).
  26. The value indicated on the J 8001 is the thickness of the shim needed in order to set the depth of the pinion.
  27. Select the shim that indicates the proper thickness. Measure the shim with a micrometer in order to verify that the thickness is correct.
  28. Remove the pinion depth setting tools.
  29. Remove the pinion bearings.
  30. Install the pinion shim between the pinion gear and the inner pinion bearing. Refer to Drive Pinion Bearings Replacement .

Pinion Depth Adjustment 10.5 Inch Axle

  1. Install the differential, if necessary. Refer to Differential Replacement.
  2. Important: Measure and record the thickness of the pinion gear bearing retainer shim before any service procedures are performed to the pinion gear bearing retainer assembly.

  3. Install the original shim to the pinion bearing retainer. If the original shim is not available, install a 0.41 mm (0.016 in) shim to build pinion depth.
  4. Important:  Do not apply sealant to the pinion gear bearing retainer at this time.

  5. Install the pinion gear bearing retainer.
  6. Notice: Refer to Fastener Notice in the Preface section.

  7. Install the pinion gear bearing retainer bolts.
  8. Tighten
    Tighten the pinion gear bearing retainer bolts to 88 N·m (65 lb ft).

  9. Adjust the backlash. Refer to Backlash Adjustment.
  10. Perform a gear tooth pattern check on the pinion and the ring gear. Refer to Gear Tooth Contact Pattern Inspection.
  11. If the gear tooth contact pattern indicates a high or a low flank contact pattern, adjust the pinion depth by doing the following:
  12. 7.1. Remove the pinion gear bearing retainer bolts.
    7.2. Remove the pinion gear bearing retainer.
    7.3. Remove the shim.
       • If the gear tooth contact pattern shows a high flank contact pattern, install a shim one size larger.
       • If the gear tooth contact pattern shows a low flank contact pattern, install a shim one size smaller.
    7.4. Install the new shim to the pinion gear bearing retainer.
    7.5. Install pinion gear bearing retainer.
    7.6. Install pinion gear bearing retainer bolts.

    Tighten
    Tighten the pinion gear bearing retainer bolts to 88 N·m (65 lb ft).

    7.7. Inspect the gear tooth contact pattern of the pinion and the ring gear. Refer to Gear Tooth Contact Pattern Inspection.
    7.8. If the gear tooth pattern is still incorrect, adjust the shim thickness as necessary and recheck the gear tooth pattern of the pinion and the ring gear.
  13. Inspect the backlash between the pinion and the ring gear and adjust, if necessary. Refer to Backlash Adjustment.

The pinion shims are available in the following sizes:

Shim Sizes

    • 0.15 mm (0.006 in)
    • 0.18 mm (0.007 in)
    • 0.20 mm (0.008 in)
    • 0.23 mm (0.009 in)
    • 0.25 mm (0.010 in)
    • 0.28 mm (0.011 in)
    • 0.30 mm (0.012 in)
    • 0.33 mm (0.013 in)
    • 0.36 mm (0.014 in)
    • 0.38 mm (0.015 in)
    • 0.41 mm (0.016 in)
    • 0.43 mm (0.017 in)
    • 0.46 mm (0.018 in)
    • 0.48 mm (0.019 in)
    • 0.51 mm (0.020 in)
    • 0.53 mm (0.021 in)
    • 0.56 mm (0.022 in)
    • 0.58 mm (0.023 in)
    • 0.61 mm (0.024 in)