GM Service Manual Online
For 1990-2009 cars only

Removal Procedure

Important: Do not rotate the center slip yokes to spline shafts, end yokes, companion flanges, etc. from their original position during reassembly. You must observe and accurately reference mark all driveline components relative to the propeller shaft and axles before disassembly. These components include the propeller shafts, drive axles, pinion flanges, output shafts, etc. All components must be reassembled in the exact relationship as when removed. You must follow specifications and torque values, as well as any measurements made prior to disassembly, in order to maintain the factory balance.

Important: If either the front or rear shaft of a two-piece propeller shaft is replaced, the mating shaft must be re-balanced with the replaced shaft. Two-piece shafts are system balanced and have a notice affixed to them.

  1. Raise the vehicle. Refer to Lifting and Jacking the Vehicle in General Information.
  2. Reference mark the rear propeller shaft to the pinion yoke and to the front propeller shaft.
  3. Reference mark the front propeller shaft to the transmission.

  4. Object Number: 159360  Size: SH
  5. Remove the bolts (4) and the yoke retainers (1) from the rear axle pinion yoke (2).
  6. Notice: When removing the propeller shaft, do not attempt to remove the shaft by pounding on the yoke ears or using a tool between the yoke and the universal joint. If the propeller shaft is removed by using such means, the injection joints may fracture and lead to premature failure of the joint.

  7. Slide the rear propeller shaft forward in order to disconnect the propeller shaft from the rear axle pinion yoke.
  8. Slide the rear propeller shaft rearward in order to disconnect the rear propeller shaft from the front propeller shaft stub shaft.
  9. Remove the rear propeller shaft from the vehicle.

  10. Object Number: 159366  Size: SH
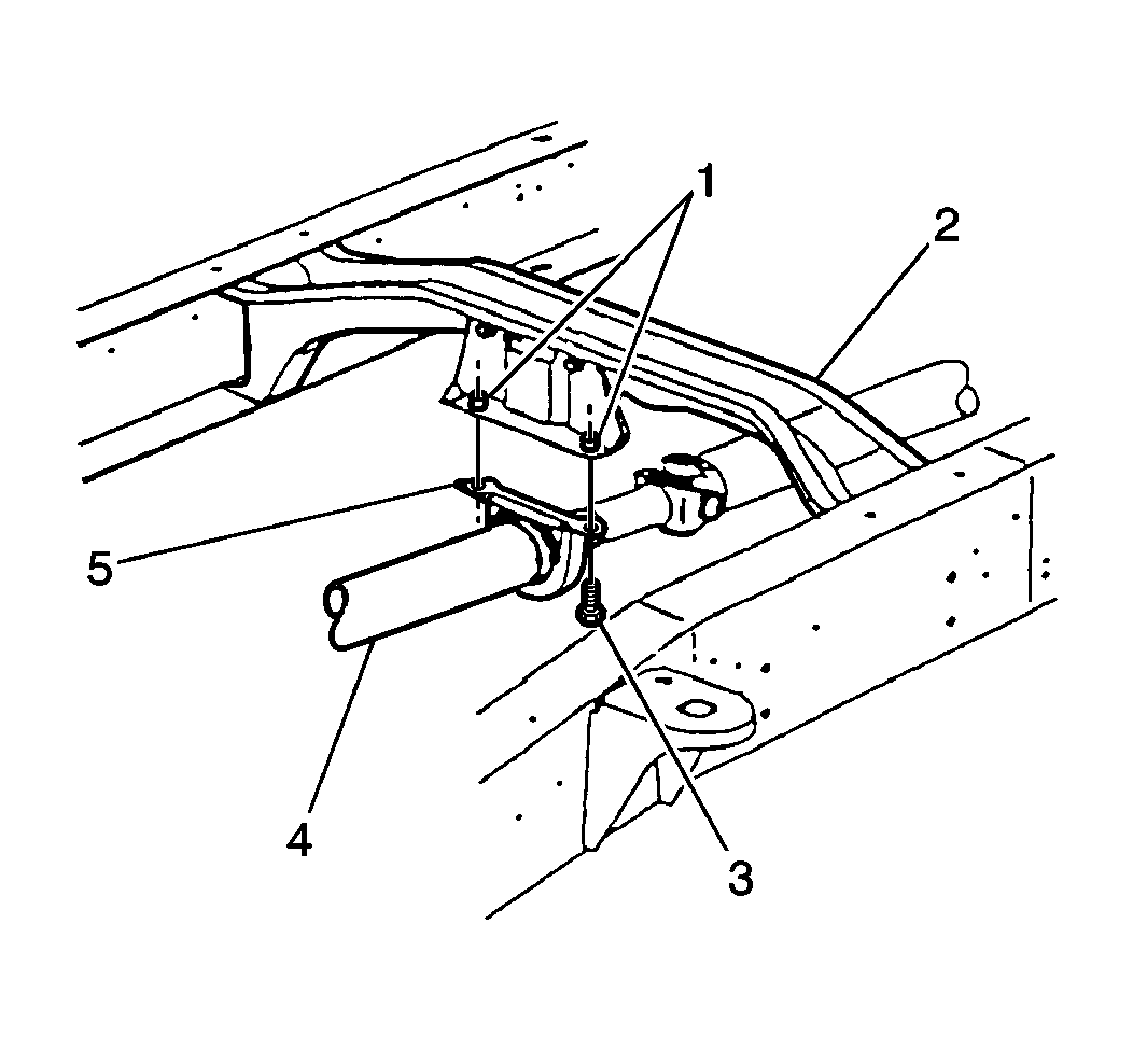
  11. Remove the center bearing support bolts (3).

  12. Object Number: 404287  Size: SH
  13. Remove the front propeller shaft by sliding the front propeller shaft rearward from the transmission.

Installation Procedure


    Object Number: 404287  Size: SH
  1. Install the front propeller shaft into the transmission.
  2. Align the reference marks made during removal.


    Object Number: 159366  Size: SH

    Notice: Use the correct fastener in the correct location. Replacement fasteners must be the correct part number for that application. Fasteners requiring replacement or fasteners requiring the use of thread locking compound or sealant are identified in the service procedure. Do not use paints, lubricants, or corrosion inhibitors on fasteners or fastener joint surfaces unless specified. These coatings affect fastener torque and joint clamping force and may damage the fastener. Use the correct tightening sequence and specifications when installing fasteners in order to avoid damage to parts and systems.

    Important: The center bearing must be aligned in order to prevent damage to the propeller shaft assembly. When bolting the center bearing in place on the frame, be sure to keep the center bearing perpendicular (90 degrees) to the propeller shaft.

  3. Install the center bearing support bolts (3) to the propeller shaft hanger (1).
  4. Tighten
    Tighten the center bearing bolts to 58 N·m (43 lb ft).

  5. Install the rear propeller shaft (3) slip yoke onto the front propeller shaft stub shaft.
  6. Mate the missing tooth in the yoke with the bridged tooth on the splined shaft.


    Object Number: 159360  Size: SH
  7. Install the rear propeller shaft (3) onto the rear axle pinion yoke.
  8. Align the reference marks made during removal.

  9. Install the yoke retainers (1) and the bolts (4).
  10. Tighten
    Tighten the yoke retainer bolts to 20 N·m (15 lb ft).

  11. Lubricate the slip yoke splines, if needed. Refer to Slip Yoke Spline Lubrication .
  12. Lower the vehicle.