GM Service Manual Online
For 1990-2009 cars only

Tools Required

    • J 37623 10 1/2 inch Pinion Bearing Remover
    • J 25234 Gear and Bearing Installer

Removal Procedure

  1. Raise the vehicle. Refer to Lifting and Jacking the Vehicle in General Information.
  2. Remove the propeller shaft. Refer to Two-Piece Propeller Shaft Replacement .

  3. Object Number: 593954  Size: SH

    Important:  During the next step, care should be exercised to prevent damage to the plastic coating on the stub shaft spline.

  4. Position theJ 37623 (3) onto the shaft between the circular can (4) of the center bearing assembly (2) and the weld shoulder (5) of the propeller shaft. The taper (6) of theJ 37623 (3) should be pointing towards the center bearing assembly.

  5. Object Number: 593957  Size: SH
  6. Stand the propeller shaft (1) on end in the press with the J 37623 (3) supporting the center bearing assembly (2) under the circular can.
  7. Press on the end of the stub shaft (1) to remove the center bearing assembly (2) and the slinger retaining ring.

Installation Procedure


    Object Number: 593960  Size: SH
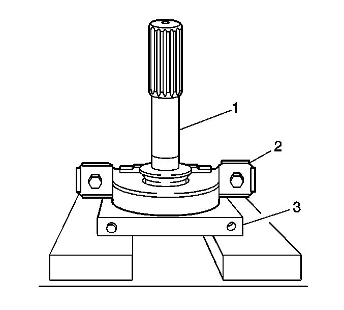
  1. Install J 37623 (2) onto propeller shaft (1) at weld shoulder (3) with taper of tool pointing away from the splined stub shaft.

  2. Object Number: 593964  Size: SH
  3. Support the J 37623 (6) in the press (5) with the stub shaft (2) vertical.
  4. Place the center bearing assembly (3) on the propeller shaft with the circular can (4) towards the weld shoulder.
  5. Install the J 25234 (1) onto the shaft.
  6. Ensure the J 25234 (1) is resting on the inner race of the center bearing.

    Important: During the next step, care should be exercised to prevent damage to the center bearing assembly, the journal of the propeller shaft, and the plastic coated splined stub shaft.

  7. Press on top of the J 25234 (1) until center bearing assembly (3) is fully seated.

  8. Object Number: 593974  Size: SH
  9. The gap (4) between circular can (2) and propeller shaft (3) should be approximately 4.0 mm (0.157 in).

  10. Object Number: 593969  Size: SH
  11. Install the slinger retaining ring (2) on top of the center bearing assembly (3).
  12. Install J 25234 onto the shaft.
  13. Important: During the next step, care should be exercised to prevent damage to the slinger retaining ring, the center bearing assembly, the journal of the propeller shaft and the plastic coated splined stub shaft.

  14. Press on top of the J 25234 until the slinger retaining ring is fully seated onto the shaft.
  15. Remove the propeller shaft from the press.
  16. Install the propeller shaft. Refer to Two-Piece Propeller Shaft Replacement .
  17. Lower the vehicle.