GM Service Manual Online
For 1990-2009 cars only

Removal Procedure

  1. Raise and suitably support the vehicle. Refer to Lifting and Jacking the Vehicle in General Information.

  2. Object Number: 587788  Size: SH
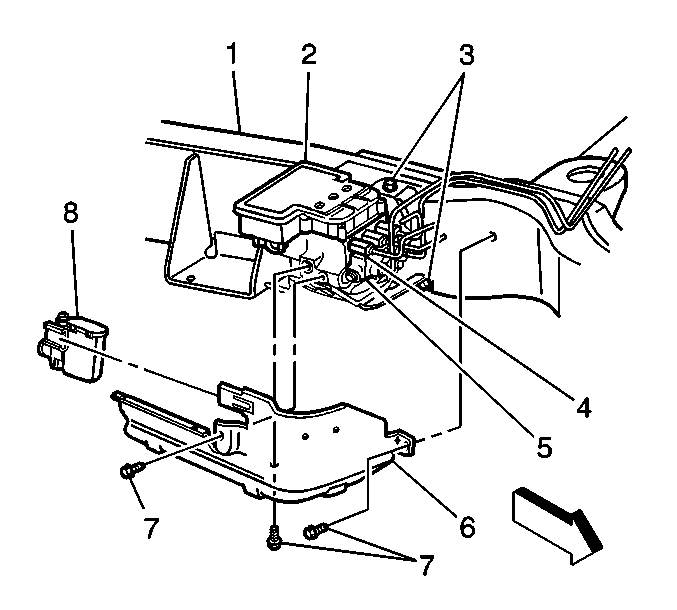
  3. Remove the EHCU (1) shield bolts and shield.
  4. Disconnect the electrical connectors from EBCM.
  5. Disconnect the electrical connector from the combination valve.
  6. Remove the front and rear brake pipes (from master cylinder) from the combination valve.
  7. Remove the right front, left front and rear brake pipes from the tube adapters.

  8. Object Number: 184173  Size: SH
  9. Remove the bolts that fasten the EHCU bracket to the frame.

  10. Object Number: 184178  Size: SH
  11. Remove the EHCU from the frame.
  12. Remove the bolts retaining the BPMV form the bracket.

  13. Object Number: 184187  Size: SH
  14. Remove the four T-25 TORX® bolts (1) that fasten the EBCM to the BPMV.
  15. Remove the EBCM (2) from the BPMV (4). Removal may require a light amount of force.

    Important: Do not use a tool to pry the EBCM or the BPMV.

  16. Remove the Allen bolts (8) from the combination valve.
  17. Remove the combination valve (9).
  18. Remove the two transfer tubes (10).

Installation Procedure

    Important: 

       • Do not reuse the transfer tubes. Always install NEW transfer tubes.
       • Do not reuse the old mounting bolts. Always install NEW mounting bolts with the new EBCM.
       • Do not use RTV or any other type of sealant on the EBCM gasket or mating surfaces.


    Object Number: 184187  Size: SH
  1. Install the NEW transfer tubes (10) into the combination valve into the combination valve (9).
  2. Install the combination valve onto the BPMV (4).
  3. Notice: Use the correct fastener in the correct location. Replacement fasteners must be the correct part number for that application. Fasteners requiring replacement or fasteners requiring the use of thread locking compound or sealant are identified in the service procedure. Do not use paints, lubricants, or corrosion inhibitors on fasteners or fastener joint surfaces unless specified. These coatings affect fastener torque and joint clamping force and may damage the fastener. Use the correct tightening sequence and specifications when installing fasteners in order to avoid damage to parts and systems.

  4. Install the Allen bolts (8) that fasten the combination valve (9) to the BPMV (4).
  5. Tighten
    Tighten the Allen bolts to 8 N·m (6 lb ft), then to 16 N·m (12 lb ft).

  6. Install EBCM (2) onto BPMV (4).
  7. Install the new EBCM bolts (1).
  8. Tighten
    Tighten the bolts to 5 N·m (39 lb in) in an X-pattern.

  9. Install BPMV (4) to bracket.
  10. Install the BPMV (4) to bracket retaining bolts.
  11. Tighten
    Tighten the bolts to 9 N·m (7 lb ft).

  12. Install the EHCU to the vehicle frame.
  13. Tighten
    Tighten the bolts to 12 N·m (9 lb ft).

  14. Install the right front, left front and rear brake pipes to the tube adapters.
  15. Tighten

        • Tighten the front brake pipe fittings to 20 N·m (16 lb ft).
        • Tighten the rear brake pipe fitting to 30 N·m (22 lb ft).
  16. Install the front and rear brake pipes (from master cylinder) to the combination valve.
  17. Tighten
    Tighten the brake pipe fittings to 30 N·m (22 lb ft).

  18. Connect the electrical connector to the combination valve.
  19. Connect the electrical connectors to the EBCM.
  20. Install the EHCU shield.
  21. Tighten
    Tighten the bolts to 12 N·m (8 lb ft).

  22. Lower the vehicle.
  23. Bleed the brake system. Refer to Antilock Brake System Automated Bleed Procedure .
  24. Important: Verify that the combination valve metering rod is depressed during bleeding.

  25. Return to Diagnostic System Check. Refer to Diagnostic System Check - ABS .