GM Service Manual Online
For 1990-2009 cars only

Removal Procedure

Tools Required

    • J 29714-A Servo Cover Depressor.
    • J 22269-01 Piston Remover
    • J 33037 Band Apply Pin Tool
  1. Raise the vehicle. Refer to Lifting and Jacking the Vehicle in General Information.
  2. Lower the transmission if needed for clearance. Refer to Transmission Replacement .
  3. Install the J 29714-A .

  4. Object Number: 14478  Size: SH
  5. Tighten the bolt in order to compress the servo cover.
  6. Remove the servo cover retaining ring.
  7. Remove the J 29714-A .

  8. Object Number: 5429  Size: SH
  9. Remove the servo cover and the O-ring seal. If the servo cover seems to be hung up on the seal, cut and remove the O-ring seal before removing the cover.
  10. Remove the 2-4 servo assembly.

Disassembly Procedure


    Object Number: 102349  Size: SH
  1. Remove the following parts:
  2. • The 4th apply piston
    • The servo return spring

    Object Number: 5430  Size: SH
  3. Remove the following parts:
  4. • The retainer ring
    • The washer
    • The spring
    • The 2nd apply piston pin

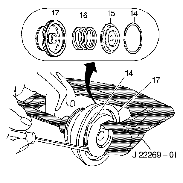
    Object Number: 7759  Size: SH
  5. Install the J 22269-01 in order to compress the second apply piston.
  6. Remove the second apply piston retaining ring.
  7. Remove the servo cushion spring retainer and the servo cushion spring.

  8. Object Number: 7758  Size: SH
  9. Remove the seals from the cover, the housing, and the pistons.
  10. Important: Check the case servo bore for damage and sharp edges.

  11. Clean all the parts using solvent.
  12. Air dry all the parts.
  13. Inspect the pistons for porosity and damage.
  14. Inspect the seal grooves for damage.
  15. Inspect the cover for porosity and damage.
  16. Inspect for nicks, cuts, and binding in the seal grooves. If damage is found, check for the cause of the damage.
  17. Inspect the springs for kinks and bending.
  18. Inspect the pin for wear and burrs.

Installation Procedure


    Object Number: 7756  Size: SH
  1. Install the band apply pin and the J 33037 .
  2. Install the servo cover retaining ring to secure the tool.

  3. Object Number: 7757  Size: SH
  4. Apply 11 N·m (98 lb in) torque. If the white line appears in the gauge slot, the pin length is correct.
  5. If the white line is not seen in the slot, replace the pin using the following pin identification:
  6. • One groove, pin length 65.82--66.12 mm (2.59--2.60 in)
    • Two grooves, pin length 67.23--67.53 mm (2.65--2.66 in)
    • No grooves, pin length 68.64--68.94 mm (2.70--2.71 in)
  7. Remove the pin and the J 33037 Band Apply Pin Tool.

  8. Object Number: 102350  Size: SH
  9. Check the 2nd apply piston and the housing dimension.
  10. Measure the piston dimension
  11. Measure the housing dimension
  12. Check the table for the transmission and piston/housing specifications. Refer to 2-4 Band Servo Piston Pin Selection .

Assembly Procedure


    Object Number: 7758  Size: SH
  1. Install new seals on all the 2-4 servo pistons and the cover.

  2. Object Number: 7759  Size: SH
  3. Install the servo cushion spring and the cushion spring retainer in the 2nd apply piston. Use the J 22269-01 in order to compress the second apply piston.
  4. Install the second apply piston retaining ring.

  5. Object Number: 5430  Size: SH
  6. Install the following parts:
  7. • The 2nd apply piston pin
    • The spring
    • The washer
    • The retainer ring

    Object Number: 102349  Size: SH
  8. Install the following parts:
  9. • The servo return spring
    • The 4th apply piston

    Important: It is recommended that the transmission adaptive pressure (TAP) information be reset.

    Resetting the TAP values using a scan tool will erase all learned values in all cells. As a result, the ECM, PCM or TCM will need to relearn the TAP values. Transmission performance may be affected as new TAP values are learned.

  10. Reset the TAP values. Refer to Adapt Function .