GM Service Manual Online
For 1990-2009 cars only
Figure 1:

A/C Compressor


Object Number: 310511  Size: MF
(1)A/C Compressor Clutch Connector
(2)A/C Compressor
(3)Exhaust Gas Recirculation (EGR) Valve Connector - 4.3L
(4)A/C High Pressure Switch Connector
Figure 2:

A/C Low Pressure Switch


Object Number: 375615  Size: MF
(1)A/C Low Pressure Switch
Figure 3:

Auxiliary Heater and A/C Wiring


Object Number: 375651  Size: MF
(1)C407
(2)Blower Motor High Speed Relay - Auxiliary
(3)Blower Motor Medium Speed Relay - Auxiliary
(4)Blower Motor Low Speed Relay - Auxiliary
(5)Blower Motor - Auxiliary
(6)Mode Actuator - Auxiliary
(7)Air Temperature Actuator - Auxiliary
(8)Blower Motor Resistor - Auxiliary
(9)C408
Figure 4:

Auxiliary Heater and A/C Wiring Controls


Object Number: 375647  Size: MF
(1)HVAC Control Processor - Auxiliary
(2)HVAC Control Assembly - Front Auxiliary
(3)HVAC Control Assembly - Rear Auxiliary
Figure 5:

Auxiliary Blower Motor Switch


Object Number: 375620  Size: MF
(1)Auxiliary Blower Motor Switch
Figure 6:

Defroster Actuator


Object Number: 375646  Size: MF
(1)Air Inlet Valve Actuator
(2)Defroster Actuator
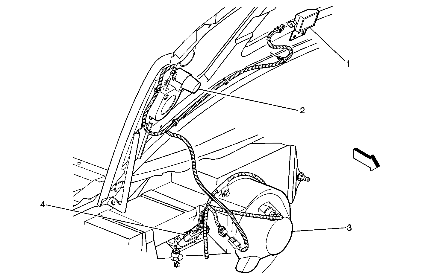
Figure 7:

Heater and A/C Controller


Object Number: 375623  Size: MF
(1)Heater and A/C Controller - Base
(2)Blower Motor Switch - Part of Heater and A/C Controller
(3)Heated Mirror Switch - Part of Heater and A/C Controller
Figure 8:

Instrument Panel Wiring, HVAC


Object Number: 375645  Size: MF
(1)Recirculation Solenoid Valve
(2)Air Temperature Actuator
Figure 9:

Underhood Lamp, Blower Motor, Blower Motor Resistor/Relay


Object Number: 690730  Size: MF
(1)Underhood Lamp
(2)Underhood Lamp Reel
(3)Blower Motor
(4)Blower Motor Resistor/Relay