GM Service Manual Online
For 1990-2009 cars only

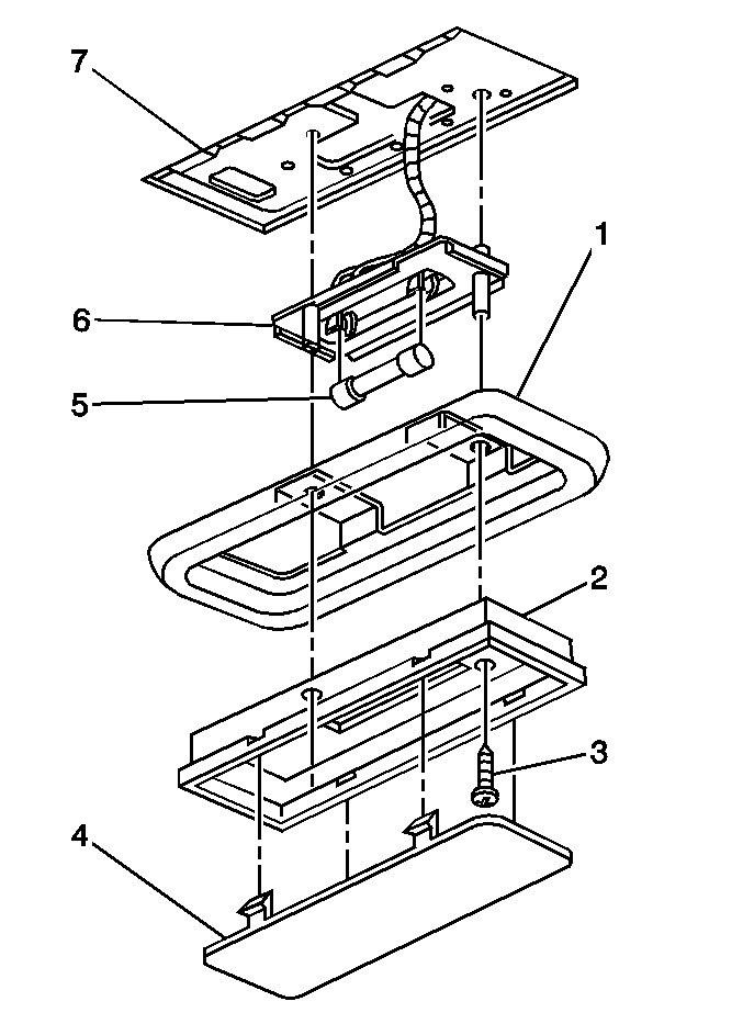
Dome Lamp Replacement All except Luxury

Removal Procedure


    Object Number: 325460  Size: MH
  1. Gently pry on the dome lamp lens (4) in order to disengage the retaining tabs from the dome lamp housing (2).
  2. Remove the bulb (5) from the socket.
  3. Remove the screws (3) that retain the dome lamp assembly to the vehicle.
  4. Disconnect the electrical connector from the dome lamp.
  5. Remove the dome lamp assembly (6) from the vehicle.

Installation Procedure

  1. Connect the electrical connector to the dome lamp.

  2. Object Number: 325460  Size: MH
  3. Install the dome lamp assembly (6) to the vehicle.
  4. Notice: Use the correct fastener in the correct location. Replacement fasteners must be the correct part number for that application. Fasteners requiring replacement or fasteners requiring the use of thread locking compound or sealant are identified in the service procedure. Do not use paints, lubricants, or corrosion inhibitors on fasteners or fastener joint surfaces unless specified. These coatings affect fastener torque and joint clamping force and may damage the fastener. Use the correct tightening sequence and specifications when installing fasteners in order to avoid damage to parts and systems.

  5. Install the screws in order to retain the dome lamp to the vehicle.
  6. Tighten
    Tighten the screws to 1.5 N·m (13 lb in).

  7. Connect the bulb (5) into the socket.
  8. Install the dome lamp lens (4) to the housing (2).
  9. Apply pressure in order to disengage the retaining tabs on the dome lamp lens.

Dome Lamp Replacement Luxury Y91

Removal Procedure


    Object Number: 746157  Size: SH
  1. Gently pry on the dome lamp lens using a suitable tool in order to disengage the retaining tabs from the dome lamp housing.
  2. Remove the screws from the dome lamp housing (1).
  3. Grasp and pull-down the overhead dome lamp assembly in order to disengage the retaining clips from the mounting bracket.
  4. Disconnect the electrical connectors from the overhead dome lamp.

Installation Procedure


    Object Number: 746157  Size: SH
  1. Connect the electrical connectors to the overhead dome lamp.
  2. Push up the overhead dome lamp housing in order to engage the retaining clips into the mounting bracket.
  3. Notice: Use the correct fastener in the correct location. Replacement fasteners must be the correct part number for that application. Fasteners requiring replacement or fasteners requiring the use of thread locking compound or sealant are identified in the service procedure. Do not use paints, lubricants, or corrosion inhibitors on fasteners or fastener joint surfaces unless specified. These coatings affect fastener torque and joint clamping force and may damage the fastener. Use the correct tightening sequence and specifications when installing fasteners in order to avoid damage to parts and systems.

  4. Install the screws into the dome lamp housing (1).
  5. Tighten
    Tighten the dome lamp mount screws to 1.5 N·m (13 lb in).

  6. Press on the dome lamp lens in order to engage the retaining tabs.