Front Fog Lamp Replacement Luxury Y91
Removal Procedure
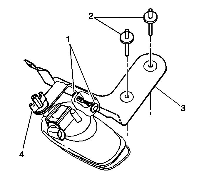
- Disconnect the electrical
connector from the front fog lamp.
- Remove the push pin retainers (1) that attach the fog lamp to
the mounting bracket (3).
- Remove the fog lamp adjuster bolt and the spring (4) from
the adjuster nut.
- Remove the fog lamp from the fog lamp mounting bracket.
Caution: Eye protection must be worn when drilling rivets to reduce
the chance of personal injury.
- Use a drill, and the appropriate drill bit in order to remove the fog-lamp
bracket rivets (2), if needed.
- If necessary, remove the fog lamp mounting bracket.
Installation Procedure
- If you removed the fog
lamp mounting bracket, install the bracket.
- If you removed the fog lamp mounting bracket, install the rivets
(2).
- Install the fog lamp to the fog lamp mounting bracket.
- Install the fog lamp adjuster bolt and the spring (4) to
the adjuster nut.
- Install the push pin retainers (1) that attach the fog lamp to
the mounting bracket (3).
- Connect the electrical connector to the front fog lamp.
- Verify that the fog lamp meet the aiming specifications. Refer
to
Fog Lamp Aiming
.