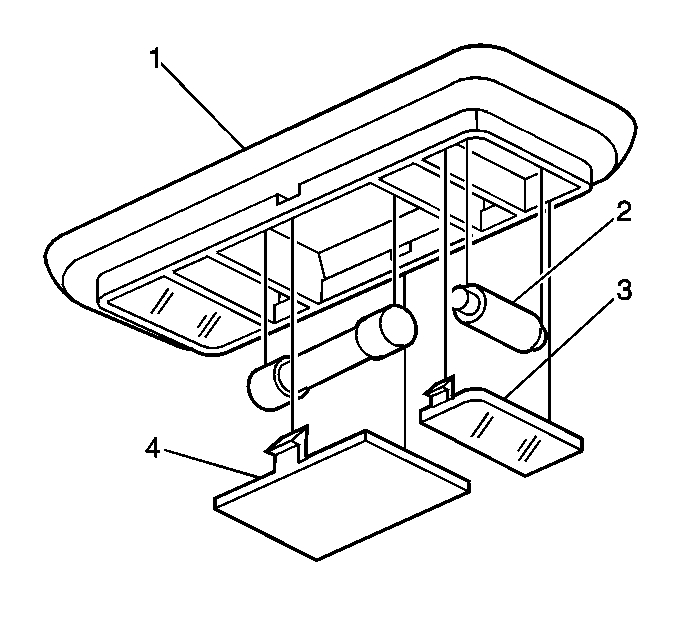
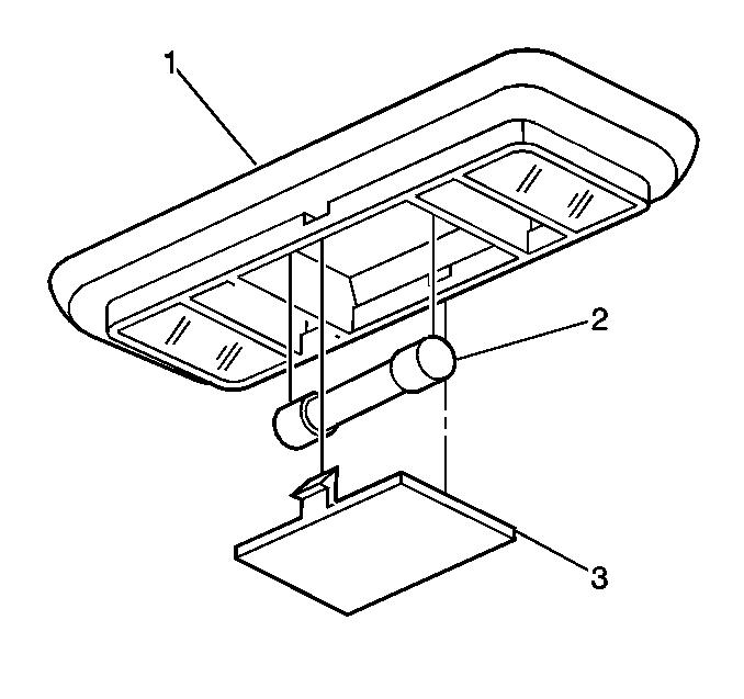
Press on the dome lamp lens in order to engage the retaining tabs.
Press on the map lamp lens in order to engage the retaining tabs.