GM Service Manual Online
For 1990-2009 cars only

Underhood Lamp Replacement Base

Removal Procedure

  1. Disconnect the electrical connector from the underhood (UH) lamp.

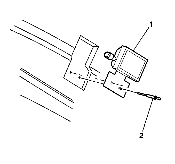
  2. Object Number: 325470  Size: SH

    Caution: Eye protection must be worn when drilling rivets to reduce the chance of personal injury.

  3. Drill out the rivets (2) that retain the underhood lamp (1) to the hood.

Installation Procedure


    Object Number: 325470  Size: SH
  1. Install the underhood lamp with the retaining rivets (2) to the hood.
  2. Connect the electrical connector to the underhood lamp.

Underhood Lamp Replacement Retractable

Removal Procedure

  1. Disconnect the electrical connector from the retractable underhood (UH) lamp.

  2. Object Number: 325474  Size: SH
  3. Remove the bolts (2) that retain the retractable underhood lamp to the hood.
  4. Remove the retractable underhood lamp (1) from the vehicle.

Installation Procedure


    Object Number: 325474  Size: SH
  1. Install the retractable underhood lamp (1) to the vehicle.
  2. Notice: Use the correct fastener in the correct location. Replacement fasteners must be the correct part number for that application. Fasteners requiring replacement or fasteners requiring the use of thread locking compound or sealant are identified in the service procedure. Do not use paints, lubricants, or corrosion inhibitors on fasteners or fastener joint surfaces unless specified. These coatings affect fastener torque and joint clamping force and may damage the fastener. Use the correct tightening sequence and specifications when installing fasteners in order to avoid damage to parts and systems.

  3. Install the retractable underhood lamp retaining bolts to the hood.
  4. Tighten
    Tighten the bolts to 2 N·m (18 lb in).

  5. Connect the electrical connector to the retractable underhood lamp.