GM Service Manual Online
For 1990-2009 cars only

Diagnostic System Check - Entertainment System

Always perform the Radio/Audio System Diagnostic System Check before proceeding with these diagnostic procedures. Refer to Diagnostic System Check - Entertainment System .

Antenna System Test

Important: Always zero out the DMM before taking a resistance measurement in order to ensure an accurate reading.

  1. Disconnect the negative battery cable.
  2. Disconnect the antenna lead-in connector from the radio receiver.
  3. Measure the resistance from the negative battery cable to the coax, outer conductor connector.
  4. The resistance measured should be 0.20 ohms or less.
  5. Test the following when the resistance is greater than 0.20 ohms.
  6. • Base of the antenna for a poor connection to body ground.
    • The coaxial cable interconnects for a poor connection or corrosion.
    • Test for an open or high resistance from the battery negative cable to the body. Refer to Circuit Testing and Wiring Repairs in Wiring Systems.
  7. After finding and correcting the condition, operate the system in order to verify the repair.

Perform the Antenna Checking Procedures after confirming the integrity of the antenna ground.

Antenna Checking Procedures

Perform the following tests for the type of antenna on the vehicle.

Mast Antennas

Unplug antenna lead-in connector from radio receiver and plug a test antenna into radio. Make sure antenna base is grounded to the vehicle chassis and keep hands off the mast.

Check radio reception in an area away from electrical interferences. Tune to several weak and strong AM and FM stations. If the radio reception improved, the problem exists with the antenna and/or lead-in cable. If the reception is still poor, refer to Audio System Troubleshooting Hints .

Important: Always zero out the DMM before taking a resistance measurement in order to ensure an accurate reading.

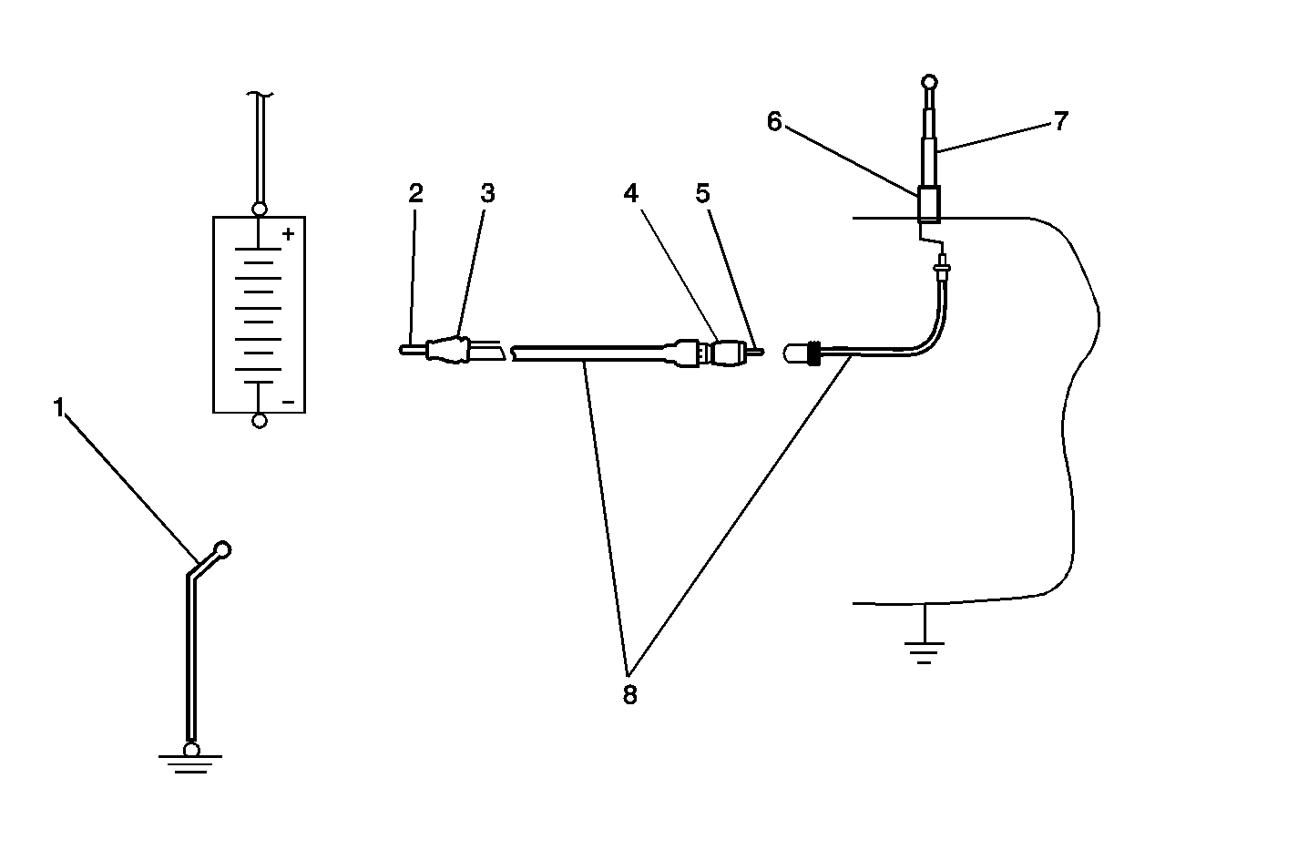
Mast Antenna System


Object Number: 782084  Size: MF
(1)Negative Battery Cable
(2)Coaxial Cable Conductor - Radio End
(3)Coaxial Cable Metal Outer Shield - Radio End
(4)Coaxial Cable Metal Outer Shield - Antenna End
(5)Coaxial Cable Conductor - Antenna End
(6)Antenna Base
(7)Antenna Mast
(8)Antenna Coaxial Cable

Ohmmeter Probes At Points

Resistance Measured In Ohms

1 and 3

Less than 0.2

1 and 4

Less than 0.2

1 and 6

Less than 0.2

1 and 2

Infinite

1 and 5

Infinite

1 and 7

Infinite

2 and 3

Infinite

2 and 4

Infinite

2 and 6

Infinite

3 and 4

Less than 0.2

3 and 6

Less than 0.2

3 and 5

Infinite

3 and 7

Infinite

Refer to the table when testing the antenna and/or lead-in cable.

  1. Measure the resistance from the coax center conductor to antenna mast. Ohmmeter probes at points 2 and 7.
  2. Total resistance from end to end of center conductor. Ohmmeter probes at points 2 and 5:
  3. • RG-58/RG-59 type cable -- less than 0.20 ohms
    • RG-62/RG-62M type cable -- less than 3.5 ohms
  4. When checking the resistance, cautiously wiggle the lead-in tip and cable. Refer to Testing for Intermittent Conditions and Poor Connections in Wiring Systems.
  5. Replace the antenna and/or lead-in cable when the above readings are not obtained. Refer to Radio Antenna Cable Extension Cable Replacement for service procedure.

Power Type Antennas

The following chart and diagram show ohmmeter readings which should be obtained.

Important: Always zero out the DMM before taking a resistance measurement in order to ensure an accurate reading.

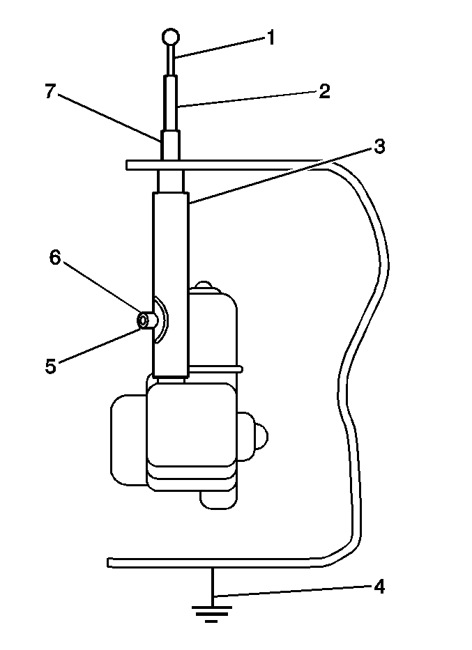
Power Antenna System


Object Number: 748733  Size: MH
(1)Top Antenna Mast Section
(2)Middle Antenna Mast Section
(3)Antenna Metal Housing Case
(4)Body Ground
(5)Antenna Lead-in Connector, Outer
(6)Antenna Lead-in Connector, Inner
(7)Lower Antenna Mast Section

Ohmmeter Probes At Points

Resistance Measured In Ohms

1 and 6

Less than 0.2

2 and 6

Less than 0.2

7 and 6

Less than 0.2

5 and 4

Less than 0.2

1 and 4

Infinite

2 and 4

Infinite

7 and 4

Infinite

Refer to the table when testing the power antenna.

  1. Disconnect the negative battery cable.
  2. Measure the resistance at the points specified in the table.
  3. With the ohmmeter probes fastened to each point, wiggle the separate mast section and antenna housing case.
  4. The resistance readings specified in the table should always be obtained. Test and/or replace the following when the resistance readings are out of specification.
  5. • Replace antenna mast section.
    • Test the ground for an open or high resistance. Refer to Circuit Testing and Wiring Repairs in Wiring Systems.
  6. After finding and correcting the antenna condition, make sure the antenna lead-in connector is corrosion free and properly fastened.
  7. Operate the system in order to verify the repair.