GM Service Manual Online
For 1990-2009 cars only

Removal Procedure

  1. Remove the side rear door trim panel. Refer to Rear Side Door Trim Panel Replacement .

  2. Object Number: 333928  Size: SH
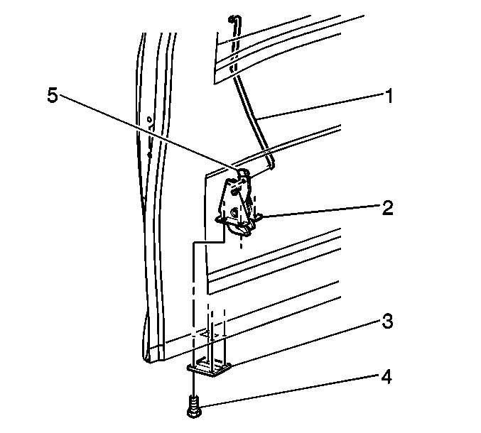
  3. Disconnect the side rear door lower latch lock rod (1) from the side rear door lower latch (2).
  4. Remove the bolts (4) that retain the side rear door lower latch (2) to the door.
  5. Remove the side rear door lower latch (2) from the door.

Installation Procedure


    Object Number: 333928  Size: SH
  1. Install the side rear door lower door latch (2) to the door.
  2. Notice: Use the correct fastener in the correct location. Replacement fasteners must be the correct part number for that application. Fasteners requiring replacement or fasteners requiring the use of thread locking compound or sealant are identified in the service procedure. Do not use paints, lubricants, or corrosion inhibitors on fasteners or fastener joint surfaces unless specified. These coatings affect fastener torque and joint clamping force and may damage the fastener. Use the correct tightening sequence and specifications when installing fasteners in order to avoid damage to parts and systems.

  3. Install the bolts (4) that retain the side rear door lower latch (2) to the door.
  4. Tighten
    Tighten the bolts to 25 N·m (18 lb ft).

  5. Connect the side rear door lower latch lock rod (1) to the side rear door lower latch (2).
  6. Install the side rear door trim panel. Refer to Rear Side Door Trim Panel Replacement .