GM Service Manual Online
For 1990-2009 cars only

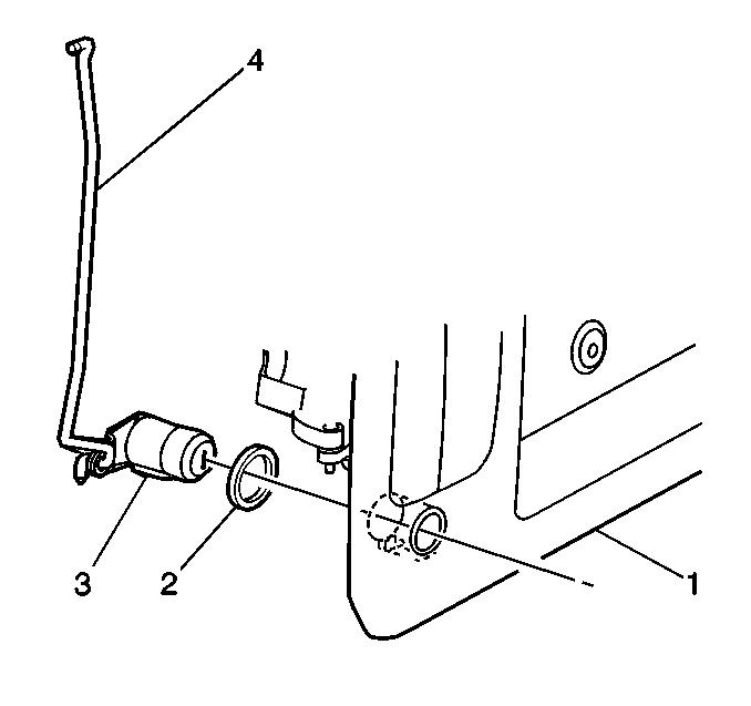
Removal Procedure


    Object Number: 334079  Size: SH
  1. Remove the right side rear door trim panel. Refer to Rear Side Door Trim Panel Replacement .
  2. Remove the outside door handle (1). Refer to Rear Door Outside Handle and License Pocket Replacement .
  3. Remove the clip that retains the lock cylinder lever to the lock cylinder (3).
  4. Press the lock cylinder retainer.
  5. Remove the lock cylinder (3) from the handle.
  6. Remove the lock cylinder (3) from the vehicle.

Installation Procedure


    Object Number: 334079  Size: SH
  1. Install the lock cylinder (3) to the vehicle.
  2. Press the lock cylinder (3) into the handle in order to engage the lock cylinder retainer.
  3. Install the clip in order to retain the lock cylinder lever to the lock cylinder (3).
  4. Install the outside door handle (1). Refer to Rear Door Outside Handle and License Pocket Replacement
  5. Install the right side rear door trim panel. Refer to Rear Side Door Trim Panel Replacement .