GM Service Manual Online
For 1990-2009 cars only

Roof Rear Console Replacement Luxury Y91

Removal Procedure


    Object Number: 746167  Size: SH
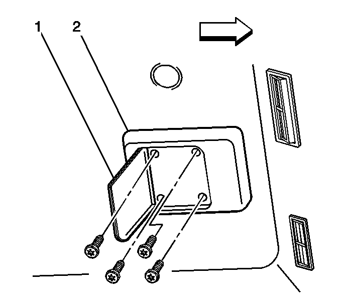
  1. Position the video screen (1) in the downward position.
  2. Remove the screws from the video screen.
  3. Pull down the overhead console (2) in order to release the retaining clips from the mounting bracket.
  4. Disconnect the electrical connectors from the overhead console.

Installation Procedure


    Object Number: 746167  Size: SH
  1. Connect the electrical connectors to the overhead console.
  2. Push up the overhead console (2) in order to engage the retaining clips into the mounting bracket.
  3. Notice: Use the correct fastener in the correct location. Replacement fasteners must be the correct part number for that application. Fasteners requiring replacement or fasteners requiring the use of thread locking compound or sealant are identified in the service procedure. Do not use paints, lubricants, or corrosion inhibitors on fasteners or fastener joint surfaces unless specified. These coatings affect fastener torque and joint clamping force and may damage the fastener. Use the correct tightening sequence and specifications when installing fasteners in order to avoid damage to parts and systems.

  4. Install the screws into the video screen.
  5. Tighten
    Tighten the screws that retain the video screen to 2 N·m (18 lb in).

  6. Position the video screen (1) in the up position.