GM Service Manual Online
For 1990-2009 cars only
Figure 1:

4.3L Engine Harness, Right Side


Object Number: 696933  Size: MF
(1)G103
(2)S156
(3)S133
(4)S132
(5)S130
Figure 2:

6.5L Engine Harness Wiring, Right Side


Object Number: 700528  Size: MF
(1)C101
(2)Engine Oil Pressure Sensor
(3)S127
(4)S158
(5)G102
(6)D103
(7)S117
(8)S120
(9)S111
(10)S146
(11)S153
(12)S109
(13)S113
Figure 3:

6.5L Engine Harness Wiring, Right Rear


Object Number: 700550  Size: MF
(1)S107
(2)Fuel Shut-off Solenoid Connector
Figure 4:

8.1L Engine Harness, Rear


Object Number: 697583  Size: MF
(1)G101
(2)G102
(3)G103
(4)S176
(5)S175
Figure 5:

8.1L Engine Harness, Front Right


Object Number: 699993  Size: MF
(1)Purge Valve
(2)S103
(3)S102
(4)Electronic Throttle Control (ETC)
(5)C125, C124 LH
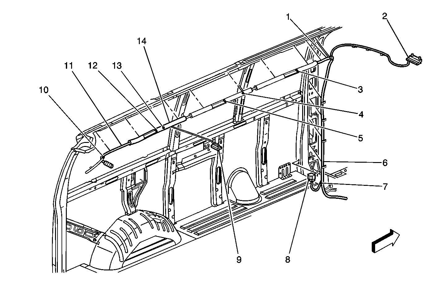
(6)Engine Coolant Temperature Sensor (ECT)
Figure 6:

Accessory Wiring Harness


Object Number: 698653  Size: MF
(1)C409
(2)C415
(3)P103
(4)S322
(5)S311
(6)S312
(7)C302
(8)Upfitter Provision Relay
Figure 7:

Antenna


Object Number: 344437  Size: MF
(1)Antenna
(2)P104
Figure 8:

Automatic Transmission, 4-Speed, 4L60-E


Object Number: 697626  Size: MF
(1)C103
(2)Vehicle Speed Sensor (VSS)
(3)Park/Neutral Position Switch
(4)S101
Figure 9:

Automatic Transmission, 4-Speed, 4L80-E


Object Number: 700040  Size: MF
(1)Vehicle Speed Sensor (VSS)
(2)S156
(3)Park/Neutral Position Switch
(4)Backup Lamp Switch - Part of Park/Neutral Position Switch
(5)Automatic Transmission Input Shaft Speed (A/T ISS) Sensor
(6)S101
Figure 10:

Auxiliary Heater and Air Conditioning Control Wiring


Object Number: 701513  Size: MF
(1)Rear Auxiliary HVAC Controller Connector
(2)S318
(3)Front Auxiliary HVAC Controller Connector
(4)HVAC Control Processor - Auxiliary
(5)S319
(6)S320
(7)S310
(8)S307
(9)S321
(10)C405
Figure 11:

Auxiliary Heater and A/C Wiring


Object Number: 699289  Size: MF
(1)C407
(2)Blower Motor High Speed Relay - Auxiliary
(3)Blower Motor Medium Speed Relay - Auxiliary
(4)Blower Motor Low Speed Relay - Auxiliary
(5)Blower Motor - Auxiliary
(6)S412
(7)Mode Actuator - Auxiliary
(8)S405
(9)S411
(10)Air Temperature Actuator - Auxiliary
(11)S413
(12)Blower Motor Resistor - Auxiliary
(13)C408
Figure 12:

Body Wiring -- Dome Lamps, Rear Window Defroster Relay


Object Number: 699468  Size: MF
(1)S306
(2)Front Dome Lamp
(3)S404
(4)S406
(5)S429
(6)S414
(7)S415
(8)Rear Window Defogger Relay
(9)Rear Dome Lamp
(10)S419
(11)S407
(12)S423
(13)S424
(14)Body Harness
Figure 13:

Bulkhead Connector


Object Number: 698163  Size: MF
(1)C100
(2)P100
(3)Underhood Fuse-Relay Center
(4)S170
(5)S165
(6)S120
(7)Powertrain Control Module (PCM)
(8)S127
Figure 14:

C419


Object Number: 323431  Size: MF
(1)C419
Figure 15:

Convenience Center Connectors


Object Number: 323413  Size: MF
(1)C202
(2)C207
(3)C210
Figure 16:

Dome Lamp Wiring


Object Number: 323424  Size: LF
(1)C417
(2)C405
Figure 17:

Electronic Brake Control Module


Object Number: 173447  Size: MF
(1)Electronic Brake Control Module (EBCM)
(2)Ignition Feed - C1
(3)Wheel Sensor - C2
(4)Brake Pressure Differential Switch
(5)Battery - C3
Figure 18:

Engine, Upper RH Side (5.0L, 5.7L)


Object Number: 697248  Size: MF
(1)S120
(2)A/C Compressor Clutch
(3)Exhaust Gas Recirculation (EGR) Valve
(4)Engine Coolant Temperature (ECT) Sensor
(5)S119
(6)S122
(7)S102
(8)S154
(9)S139
(10)S127
(11)Evaporative Emission (EVAP) Canister Vacuum Switch
(12)C110
(13)S156
(14)Ignition Control Module
(15)Ignition Coil
(16)Fuel Injectors
(17)Manifold Absolute Pressure (MAP) Sensor
(18)S132
(19)S133
Figure 19:

Entertainment Harness


Object Number: 824830  Size: MF
(1)Rear Video Screen
(2)Front Video Screen Connector
(3)RSA Controller Connector
(4)Mirror, Homelink and Reading Lights Connectors
(5)Accessory Power Outlet Connector
(6)Gamebox
(7)100-Watt Amplifier Connector
(8)Base Box Connector
(9)VCP Connector
(10)C302
(11)RSA-T Box
(12)Entertainment Harness
(13)Fuse Block - Rear
Figure 20:

Forward Lamp Wiring


Object Number: 696742  Size: MF
(1)G109
(2)C111
(3)C102
(4)G108
(5)S110
(6)S142
(7)S143, S151-Export
(8)S144, S150 -Export
(9)S135
(10)S145
(11)S118
Figure 21:

Forward Lamp Wiring, Horns


Object Number: 323365  Size: MF
(1)G108
(2)C102
(3)C111
(4)R100
Figure 22:

Front Crossbody Wiring (Center)


Object Number: 701172  Size: MF
(1)C210
(2)S245
(3)S240
(4)S241
(5)S228
(6)S242
(7)S206
(8)S244
(9)S232
(10)S243
Figure 23:

Front Crossbody Wiring (Left)


Object Number: 701184  Size: MF
(1)G200
(2)C211
(3)S229
Figure 24:

Front Crossbody Wiring (Right)


Object Number: 323416  Size: MF
(1)C212
(2)C300
Figure 25:

Front Side Door Wiring, Left


Object Number: 698794  Size: MF
(1)Power Outside Rearview Mirror, Interface Cable
(2)P500, P600 (Right)
(3)C211, C212 (Right)
(4)Radio Speaker, Left Door (Right Opposite)
(5)S502, S604 (RT)
(6)S500, S601 (RT)
(7)S501, S603 (RT)
(8)S504, S606 (RT)
(9)S503, S605 (RT)
Figure 26:

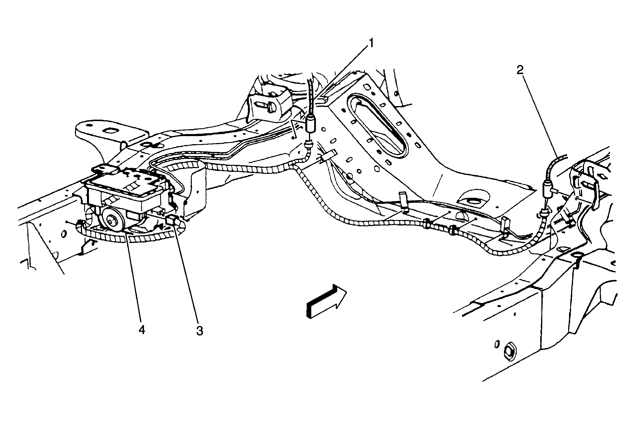
Fuel Pump Wiring


Object Number: 375609  Size: MF
(1)C301
(2)Electronic Brake Control Module (EBCM)
(3)Fuel Lift Pump
Figure 27:

Generator Wiring


Object Number: 689190  Size: MF
(1)Generator, 105/130 Amp
Figure 28:

Glow Plug Controller (Federal)


Object Number: 395118  Size: MF
(1)Glow Plug Relay-Federal
Figure 29:

Inflatable Restraint Forward Wiring


Object Number: 375567  Size: MF
(1)C114
Figure 30:

Instrument Panel, Radio


Object Number: 344444  Size: MF
(1)Radio Antenna Lead
(2)Radio
(3)C204
Figure 31:

Instrument Panel Wiring


Object Number: 698360  Size: MF
(1)C206
(2)S231
(3)S221
(4)S239
(5)C208
(6)C201
(7)C405
Figure 32:

Instrument Panel Wiring, Forward of Dash


Object Number: 698093  Size: MF
(1)S161
(2)S164
(3)Powertrain Control Module
(4)S163
(5)S162
(6)Underhood Relay Center
Figure 33:

Instrument Panel Wiring, Left Hand Carrier


Object Number: 700703  Size: LF
(1)Instrument Panel Console Connector
(2)S218
(3)S246
(4)S247
(5)S223
(6)S251
(7)S227
(8)Vehicle Speed Sensor Buffer Module
(9)S225
(10)S222
(11)S215
(12)Radio Connector
(13)HVAC Controller Connectors - C1, C2, C3
Figure 34:

Instrument Panel Wiring, Right Hand Carrier


Object Number: 700709  Size: MF
(1)C213
Figure 35:

IP Fuse Block Wiring


Object Number: 698257  Size: MF
(1)P103
(2)C100
(3)S220
(4)S252
(5)S214
(6)S213
(7)S212
(8)G202
(9)S217
(10)G201
Figure 36:

Left Body Wiring


Object Number: 699497  Size: MF
(1)G400
(2)C404
(3)C411
(4)C408
(5)C407
(6)C406
(7)C402
(8)G401
(9)C401
(10)G402
(11)S409
(12)S402
(13)S401
(14)S400
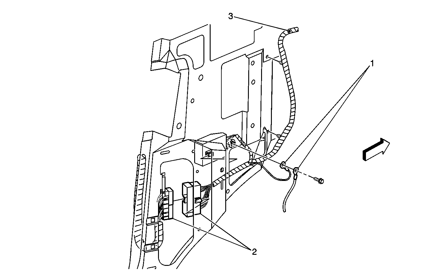
Figure 37:

LH Wiring View


Object Number: 698713  Size: MF
(1)C215
(2)C209
(3)S306
Figure 38:

Oxygen Sensor Wiring (5.0L, 5.7L, 8.1L Engines)


Object Number: 375606  Size: MF
(1)Heated Oxygen Sensor Bank 1, Sensor 2
(2)Heated Oxygen Sensor Bank 2, Sensor 2
(3)Catalytic Converter
(4)Heated Oxygen Sensor Bank 1, Sensor 1
(5)C105
(6)Heated Oxygen Sensor Bank 2, Sensor 1
Figure 39:

P400


Object Number: 323433  Size: MF
(1)P400
Figure 40:

P/B Booster System Wiring


Object Number: 323371  Size: MF
(1)P103
(2)C113
(3)G112
(4)G108
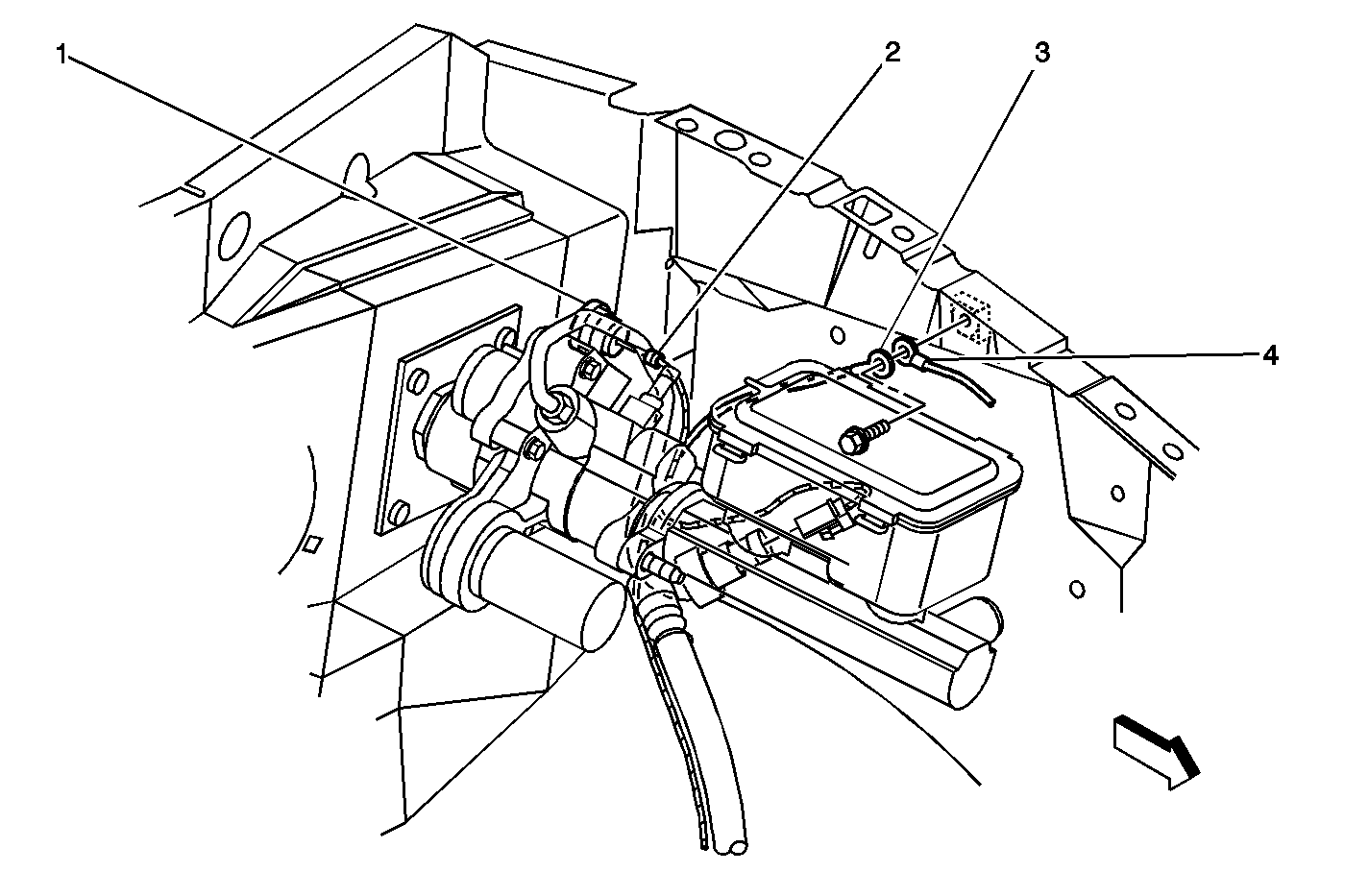
Figure 41:

Power Brake Fluid Flow Alarm And Module


Object Number: 700802  Size: MF
(1)R208
(2)S211
(3)S201
(4)P/B Booster Fluid Flow Alarm
(5)D202
(6)C208
(7)C201
(8)Park Brake Warning Switch
(9)P/B Booster Fluid Flow And Pressure Alarm Delay Module - Cutaway-School Bus
(10)S253
(11)S235
(12)S234
Figure 42:

Radio Rear Speaker Wiring


Object Number: 344455  Size: MF
(1)Right Body Harness
(2)C415
(3)Left Body Harness
(4)Radio Speaker, Right Overhead
(5)Radio Speaker, Left Overhead
(6)C403
Figure 43:

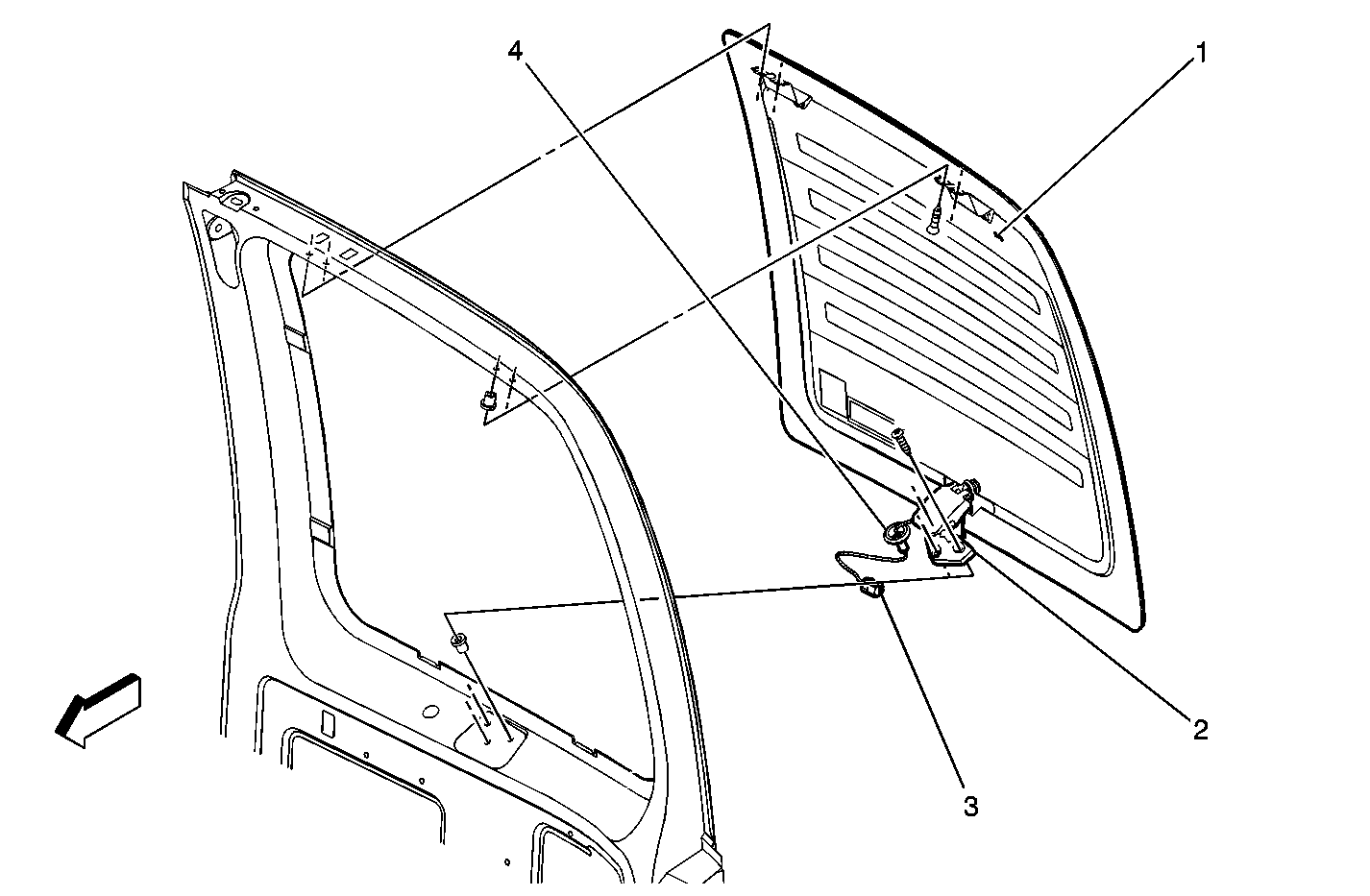
Rear Defogger Details-Stationary Window


Object Number: 699533  Size: MF
(1)RR Window/Grid
(2)Door Lock Actuator Motor, Rear
(3)Power Door Lock Switch Connector
(4)P902 LH, P901 RH
(5)C411 LH, C402 RH
(6)C400
(7)C901 LH, C902 RH
(8)P905 LH, P906 RH
(9)S903
Figure 44:

Rear Defogger Details-Swing Out Window


Object Number: 604705  Size: MF
(1)RR Window/Grid
(2)RR Window Latch w/Flex Circuit
(3)C901 LH, C902 RH
(4)P905 LH, P906 RH
Figure 45:

Right Rear Door Wiring (LH Similar), Radio Speaker


Object Number: 699553  Size: MF
(1)C412
(2)S903
(3)License Lamp
(4)Door Jamb Switch, Right Rear
(5)Door lock Actuator Motor, Rear
(6)Radio Speaker, Right Rear Door - Left Rear Door Opposite
(7)P901 RH, P902 LH
(8)C402
(9)C400 RH
Figure 46:

Steering Column Wiring


Object Number: 375631  Size: MF
(1)Steering Column Harness
(2)C200
(3)Inflatable Restraint Steering Wheel Module Connector
(4)Steering Column
Figure 47:

Sunshade Illuminated Mirror Wire


Object Number: 698743  Size: MF
(1)S204
(2)S308
(3)S203
Figure 48:

Tail lamp Assembly Wiring


Object Number: 699803  Size: MF
(1)P903 LH, P904 RH
(2)C401 RH, C404 LH
(3)S900 RH, S901 LH
(4)S909 RH, S910 LH
Figure 49:

Trailer Wiring


Object Number: 375652  Size: MF
(1)P400
(2)C406
Figure 50:

Video, RSA-T, and Entertainment Harness


Object Number: 765688  Size: MF
(1)Video Harness to Game Box
(2)Entertainment Harness
(3)Video Harness to Front Video Display
(4)RSA-T Pigtail
Figure 51:

Wheel Speed Sensor Wiring


Object Number: 173451  Size: MF
(1)Wheel Speed Sensor, LF
(2)Wheel Speed Sensor, RF
(3)Connector C3
(4)Electronic Brake Control Module (EBCM)