GM Service Manual Online
For 1990-2009 cars only
Figure 1:

Underhood Fuse Relay Center, PCM


Object Number: 688475  Size: LF
(1)Powertrain Control Module (PCM)
(2)Underhood Fuse Relay Center
Figure 2:

In-Line Fuse, LH Body Harness, Trailer Wiring


Object Number: 583693  Size: MF
(1)Inline Fuse
Figure 3:

IP Fuse Block


Object Number: 583176  Size: MF
(1)IP Fuse Block
Figure 4:

Cigar Lighter


Object Number: 656643  Size: MF
(1)Cigar Lighter
(2)Cigar Lighter Connector
Figure 5:

Fog Lamp Switch, Cigar Lighter, Front Accessory Power Outlet, and Video Cassette Player


Object Number: 765680  Size: MF
(1)Fog Lamp Switch
(2)Cigar Lighter
(3)Video Cassette Player (VCP)
(4)Front Accessory Power Outlet
Figure 6:

Video, RSA-T, and Entertainment Harness


Object Number: 765688  Size: MF
(1)Video Harness to Game Box
(2)Entertainment Harness
(3)Video Harness to Front Video Display
(4)RSA-T Pigtail
Figure 7:

Convenience Center


Object Number: 583187  Size: MF
(1)Convenience Center
Figure 8:

C302, G303, and Upfitter Provision Relay


Object Number: 781701  Size: MF
(1)C302
(2)Upfitter Provision Power Relay
(3)Driver Seat Belt Reel
(4)G303
Figure 9:

Forward Lamp Wiring


Object Number: 583107  Size: MF
(1)G109
(2)C111
(3)C102
(4)G108
Figure 10:

Battery Wiring (Gasoline)


Object Number: 583109  Size: MF
(1)G100
Figure 11:

Battery Wiring (Diesel)


Object Number: 583113  Size: MF
(1)G110
Figure 12:

G300


Object Number: 583116  Size: MF
(1)G300
Figure 13:

G302 and Right B-Pillar Speaker


Object Number: 781884  Size: MF
(1)Right B-Pillar Speaker (Left Side Similar)
(2)G302
(3)Central Pillar Lower Trim Panel - Right
Figure 14:

G304, Amplifiers, and Rear Woofer


Object Number: 765685  Size: MF
(1)Ground G304
(2)Bose 2000AMP 1
(3)Bose 2000AMP 2
(4)Rear 100 Watt Amplifier
(5)Rear Woofer
(6)Right Rear Wheel House
Figure 15:

Forward Lamp Wiring, Horns


Object Number: 583118  Size: MF
(1)G108
(2)C102
(3)C111
(4)R100
Figure 16:

Engine to Frame Ground Cable


Object Number: 583127  Size: MF
(1)G105
(1)G105
(1)G105
Figure 17:

G104


Object Number: 583130  Size: MF
(1)G104
Figure 18:

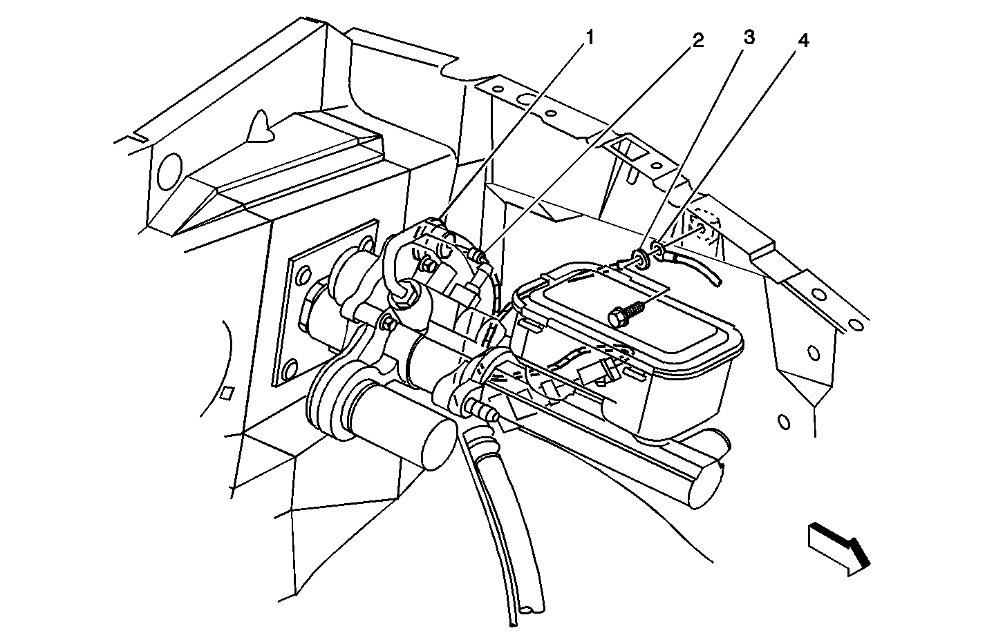
P/B Booster System Wiring


Object Number: 583135  Size: MF
(1)P103
(2)C113
(3)G112
(4)G108
Figure 19:

4.3L Engine Harness, Right Side


Object Number: 583137  Size: MF
(1)C110
(2)G103
Figure 20:

8.1L Engine Harness, Rear


Object Number: 688480  Size: LF
(1)G101
(2)G102
(3)G103
Figure 21:

G101 (6.5L)


Object Number: 583150  Size: LF
(1)G101
Figure 22:

6.5L Engine Harness, Left Side


Object Number: 583154  Size: MF
(1)C118
(2)C117
(3)C101
(4)C107
(5)C106
(6)G102
(7)G103
Figure 23:

IP Fuse Block Wiring


Object Number: 583181  Size: MF
(1)P103
(2)C100
(3)G202
(4)G201
Figure 24:

Front Crossbody Wiring (Left)


Object Number: 583189  Size: MF
(1)G200
(2)C210
(3)C211
Figure 25:

Left Body Wiring


Object Number: 583637  Size: MF
(1)G400
(2)C404
(3)C411
(4)C408
(5)C407
(6)C406
(7)C402
(8)G401
(9)C401
(10)G402
Figure 26:

G106


Object Number: 583647  Size: MF
(1)G106