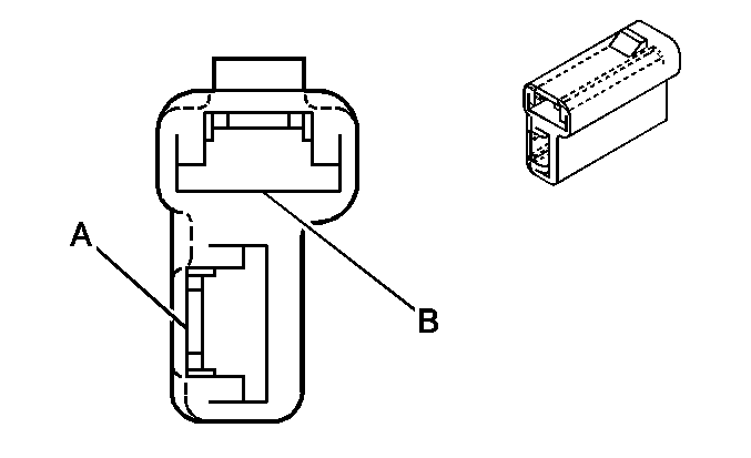
| Table 1: | Accessory Power Outlet - Rear |
| Table 2: | Auxiliary Power Outlet Connector |
| Table 3: | Cigar Lighter Connector |
| Table 4: | IP Fuse Block Connector |
| Table 5: | IP Relay Center Connector |
| Table 6: | Underhood Fuse-Relay Center Connector (Gas) |
| Table 7: | Underhood Fuse-Relay Center Connector (Diesel) |
| Table 8: | Underhood Fuse-Relay Center Connector (Export) |
| Table 9: | Upfitter Provisions Relay Connector |
| Table 10: | Rear Fuse Block - Y91 |
| |||||||
|---|---|---|---|---|---|---|---|
Connector Part Information |
| ||||||
Pin | Wire Color | Circuit No. | Function | ||||
A | RED/WHT | 1840 | Battery Positive Voltage | ||||
B | BLK | 150 | Ground | ||||
| |||||||
|---|---|---|---|---|---|---|---|
Connector Part Information |
| ||||||
Pin | Wire Color | Circuit No. | Function | ||||
A | ORN | 840 | Battery Positive Voltage | ||||
B | BLK | 150 | Ground | ||||
| |||||||
|---|---|---|---|---|---|---|---|
Connector Part Information |
| ||||||
Pin | Wire Color | Circuit No. | Function | ||||
A | ORN | 640 | Battery Positive Voltage | ||||
B | BLK | 150 | Ground | ||||
| |||||||
|---|---|---|---|---|---|---|---|
Connector Part Information |
| ||||||
Pin | Wire Color | Circuit No. | Function | ||||
A2 | BRN | 4 | Accessory Voltage | ||||
A3 | YEL | 343 | Accessory Voltage | ||||
A6 | RED | 142 | Battery Positive Voltage | ||||
A7 | ORN | 540 | Battery Positive Voltage | ||||
B2 | -- | -- | Not Used | ||||
B4 | RED | 142 | Battery Positive Voltage | ||||
B6-B8 | -- | -- | Not Used | ||||
C1 | ORN | 1140 | Battery Positive Voltage | ||||
C3 | ORN | 640 | Battery Positive Voltage | ||||
C5 | ORN | 840 | Battery Positive Voltage | ||||
C7 | ORN | 140 | Battery Positive Voltage | ||||
D2 | WHT | 1390 | Off/Run/Crank Voltage | ||||
D4 | GRY | 8 | Instrument Panel Lamp Supply Voltage - 1 | ||||
D6 | YEL | 5 | Crank Voltage | ||||
D8 | RED | 142 | Battery Positive Voltage | ||||
E1 | PNK | 1020 | Off/Run/Crank Voltage | ||||
PNK | 1020 | Off/Run/Crank Voltage | |||||
E3 | DK GRN | 44 | Instrument Panel Lamps Dimmer Switch Signal | ||||
E5 | PPL | 806 | Crank Voltage | ||||
E7 | ORN | 1440 | Battery Positive Voltage | ||||
F2 | -- | -- | Not Used | ||||
F4 | RED | 42 | Battery Positive Voltage | ||||
F6-F8 | -- | -- | Not Used | ||||
G1 | ORN | 1740 | Battery Positive Voltage | ||||
G3 | ORN | 340 | Battery Positive Voltage | ||||
G5 | ORN | 240 | Battery Positive Voltage | ||||
G7 | ORN | 40 | Battery Positive Voltage | ||||
H2 | RED | 142 | Battery Positive Voltage | ||||
H4 | -- | -- | Not Used | ||||
H6 | PNK | 3 | Battery Positive Voltage | ||||
H8 | -- | -- | Not Used | ||||
J1 | ORN | 1540 | Battery Positive Voltage | ||||
J3 | PNK | 139 | Ignition 1 Voltage | ||||
J5 | YEL | 1139 | Ignition 1 Voltage | ||||
J7 | PNK | 39 | Ignition 1 Voltage | ||||
K2-K4 | -- | -- | Not Used | ||||
K6 | BRN | 4 | Accessory Voltage | ||||
K8 | RED | 142 | Battery Positive Voltage | ||||
L1 | -- | -- | Not Used | ||||
L3 | YEL | 43 | Battery Positive Voltage | ||||
L5 | YEL | 143 | Accessory Voltage | ||||
L7 | ORN | 1040 | Battery Positive Voltage | ||||
M2 | -- | -- | Not Used | ||||
M4 | ORN | 300 | Ignition 3 Voltage | ||||
M6-M8 | -- | -- | Not Used | ||||
N1 | BRN | 341 | Ignition 3 Voltage | ||||
N3 | BRN | 441 | Ignition 3 Voltage | ||||
N5 | BRN | 141 | Ignition 3 Voltage | ||||
N7 | BRN | 41 | Ignition 3 Voltage | ||||
BRN | 41 | Ignition 3 Voltage | |||||
| |||||||
|---|---|---|---|---|---|---|---|
Connector Part Information |
| ||||||
Pin | Wire Color | Circuit No. | Function | ||||
A1 | RED | 122 | Rear Fog Lamp Supply Voltage | ||||
A3 | YEL | 1977 | Rear Fog Lamp Relay Control | ||||
A4-A9 | -- | -- | Not Used | ||||
B1 | YEL | 10 | Headlamp Switch Signal | ||||
B2 | -- | -- | Not Used | ||||
B3 | ORN | 340 | Battery Positive Voltage | ||||
B4-B6 | -- | -- | Not Used | ||||
B7 | PPL | 16 | Turn Signal Flasher Control | ||||
B8 | LT GRN | 62 | Hazard Indicator Supply Voltage | ||||
B9 | LT BLU | 1508 | Turn/Hazard Module Supply Voltage | ||||
C1-C3 | -- | -- | Not Used | ||||
C4 | ORN | 340 | Battery Positive Voltage | ||||
C5 | BRN | 9 | Park Lamp Supply Voltage | ||||
C6 | PNK | 39 | Ignition 1 Voltage | ||||
C7 | -- | -- | Not Used | ||||
C8 | BLK | 150 | Ground | ||||
C9-D3 | -- | -- | Not Used | ||||
D4 | LT GRN/BLK | 592 | DRL Relay Control | ||||
D6 | PPL | 1256 | Park Lamp Feed | ||||
D7-D9 | -- | -- | Not Used | ||||
| |||||||
|---|---|---|---|---|---|---|---|
Connector Part Information |
| ||||||
Pin | Wire Color | Circuit No. | Function | ||||
A1 | TAN/WHT | 551 | Ground | ||||
A3 | GRY | 120 | Fuel Pump Supply Voltage | ||||
A4 | BLK | 150 | Ground | ||||
A6 | RED | 242 | Battery Positive Voltage | ||||
A7-A9 | -- | -- | Not Used | ||||
B1 | ORN | 440 | Battery Positive Voltage | ||||
B2 | -- | -- | Not Used | ||||
B3 | DK GRN/WHT | 465 | Fuel Pump Relay Control | ||||
B4 | PPL | 6 | Starter Solenoid Crank Voltage | ||||
B5 | -- | -- | Not Used | ||||
B6 | YEL | 1737 | Neutral Safety Switch Park/Neutral Signal | ||||
B7-B9 | -- | -- | Not Used | ||||
C1 | DK GRN/WHT | 459 | A/C Clutch Relay Control | ||||
C3 | ORN | 1240 | Battery Positive Voltage | ||||
C4 | BLK | 28 | Horn Relay Control | ||||
C6 | ORN | 740 | Battery Positive Voltage | ||||
D1 | DK GRN | 59 | A/C Compressor Clutch Supply Voltage | ||||
D2 | -- | -- | Not Used | ||||
D3 | PNK | 639 | Ignition 1 Voltage | ||||
D4 | DK GRN | 29 | Horn Control | ||||
D5 | -- | -- | Not Used | ||||
D6 | ORN | 740 | Battery Positive Voltage | ||||
D7 | BRN | 436 | AIR Pump Relay Control - w/K18 | ||||
D9 | RED | 842 | Battery Positive Voltage - w/K18 | ||||
E7 | RED | 78 | AIR Pump Supply Voltage - w/K18 | ||||
E8 | -- | -- | Not Used | ||||
E9 | PNK | 539 | Ignition 1 Voltage - w/K18 | ||||
F1-G6 | -- | -- | Not Used | ||||
G8 | PNK | 639 | Ignition 1 Voltage | ||||
G10 | -- | -- | Not Used | ||||
G12 | ORN | 440 | Battery Positive Voltage | ||||
H1-H3 | -- | -- | Not Used | ||||
H5 | RED | 542 | Battery Positive Voltage | ||||
H7 | PNK | 3 | Battery Positive Voltage | ||||
H9 | -- | -- | Not Used | ||||
H11 | RED | 2 | Battery Positive Voltage | ||||
J6 | RED | 1542 | Battery Positive Voltage | ||||
J8 | PNK | 439 | Ignition 1 Voltage | ||||
J10 | -- | -- | Not Used | ||||
J12 | ORN | 740 | Battery Positive Voltage | ||||
K1 | PPL | 680 | ABS Pressure Differential Sensor Signal | ||||
K3 | DK GRN | 59 | A/C Compressor Clutch Supply Voltage | ||||
DK GRN | 59 | A/C Compressor Clutch Supply Voltage | |||||
K5 | PNK | 3 | Ignition 1 Voltage | ||||
K7-K11 | -- | -- | Not Used | ||||
L2 | TAN/WHT | 33 | Brake Warning Indicator Control | ||||
L4 | BLK | 150 | Ground | ||||
L6 | PNK | 1339 | Ignition 1 Voltage | ||||
PNK | 1339 | Ignition 1 Voltage | |||||
L8 | PNK | 539 | Ignition 1 Voltage | ||||
L10 | -- | -- | Not Used | ||||
L12 | ORN | 1240 | Battery Positive Voltage | ||||
M1-M2 | -- | -- | Not Used | ||||
M3 | RED | 542 | Battery Positive Voltage | ||||
RED | 542 | Battery Positive Voltage | |||||
M4 | RED | 442 | Battery Positive Voltage | ||||
M5 | RED | 342 | Battery Positive Voltage | ||||
M6 | RED | 242 | Battery Positive Voltage | ||||
RED | 242 | Battery Positive Voltage | |||||
M7 | RED | 142 | Battery Positive Voltage | ||||
M8 | RED | 42 | Battery Positive Voltage | ||||
N1-N8 | -- | -- | Not Used | ||||
| |||||||
|---|---|---|---|---|---|---|---|
Connector Part Information |
| ||||||
Pin | Wire Color | Circuit No. | Function | ||||
A1 | BLK/WHT | 451 | Ground | ||||
A3 | GRY | 120 | Fuel Pump Supply Voltage | ||||
A4 | BLK | 150 | Ground | ||||
A6 | RED | 242 | Battery Positive Voltage | ||||
A7-A9 | -- | -- | Not Used | ||||
B1 | ORN | 440 | Battery Positive Voltage | ||||
B2 | -- | -- | Not Used | ||||
B3 | DK GRN/WHT | 465 | Fuel Pump Relay Control | ||||
B4 | PPL | 6 | Starter Solenoid Crank Voltage | ||||
B5 | -- | -- | Not Used | ||||
B6 | YEL | 1737 | Neutral Safety Switch Park/Neutral Signal | ||||
B7-B9 | -- | -- | Not Used | ||||
C1 | DK GRN/WHT | 459 | A/C Clutch Relay Control | ||||
C3 | ORN | 1240 | Battery Positive Voltage | ||||
C4 | BLK | 28 | Horn Relay Control | ||||
C6 | ORN | 740 | Battery Positive Voltage | ||||
D1 | DK GRN | 59 | A/C Compressor Clutch Supply Voltage | ||||
D2 | -- | -- | Not Used | ||||
D3 | PNK | 639 | Ignition 1 Voltage | ||||
D4 | DK GRN | 29 | Horn Control | ||||
D5 | -- | -- | Not Used | ||||
D6 | ORN | 740 | Battery Positive Voltage | ||||
D7-G6 | -- | -- | Not Used | ||||
G8 | PNK | 639 | Ignition 1 Voltage | ||||
G10 | -- | -- | Not Used | ||||
G12 | ORN | 440 | Battery Positive Voltage | ||||
H1-H3 | -- | -- | Not Used | ||||
H5 | RED | 542 | Battery Positive Voltage | ||||
H7-H9 | -- | -- | Not Used | ||||
H11 | RED | 2 | Battery Positive Voltage | ||||
J2-J4 | -- | -- | Not Used | ||||
J6 | RED | 1542 | Battery Positive Voltage | ||||
J8 | PNK | 339 | Ignition 1 Voltage | ||||
J10 | -- | -- | Not Used | ||||
J12 | ORN | 740 | Battery Positive Voltage | ||||
K1 | PPL | 680 | ABS Pressure Differential Sensor Signal | ||||
K3 | DK GRN | 59 | A/C Compressor Clutch Supply Voltage | ||||
DK GRN | 59 | A/C Compressor Clutch Supply Voltage | |||||
K5 | -- | -- | Not Used | ||||
K7 | PNK | 3 | Battery Positive Voltage | ||||
K9-K11 | -- | -- | Not Used | ||||
L2 | TAN/WHT | 33 | Brake Warning Indicator Control | ||||
L4 | BLK | 150 | Ground | ||||
L6 | -- | -- | Not Used | ||||
L8 | PNK | 539 | Ignition 1 Voltage | ||||
L10 | -- | -- | Not Used | ||||
L12 | ORN | 1240 | Battery Positive Voltage | ||||
M1-M2 | -- | -- | Not Used | ||||
M3 | RED | 542 | Battery Positive Voltage | ||||
M4 | RED | 442 | Battery Positive Voltage | ||||
M5 | RED | 342 | Battery Positive Voltage | ||||
M6 | RED | 242 | Battery Positive Voltage | ||||
M7 | RED | 142 | Battery Positive Voltage | ||||
M8 | RED | 42 | Battery Positive Voltage | ||||
N1-N8 | -- | -- | Not Used | ||||
| |||||||
|---|---|---|---|---|---|---|---|
Connector Part Information |
| ||||||
Pin | Wire Color | Circuit No. | Function | ||||
A1 | BLK/WHT | 451 | Ground | ||||
A3 | GRY | 120 | Fuel Pump Supply Voltage | ||||
A4 | BLK | 150 | Ground | ||||
A6 | RED | 242 | Battery Positive Voltage | ||||
A7 | BLK/WHT | 451 | Ground | ||||
A9 | LT GRN | 867 | ABS Indicator Failure Control | ||||
LT GRN | 867 | ABS Indicator Failure Control | |||||
B1 | ORN | 440 | Battery Positive Voltage | ||||
B2 | -- | -- | Not Used | ||||
B3 | DK GRN/WHT | 465 | Fuel Pump Relay Control | ||||
B4 | PPL | 6 | Starter Solenoid Crank Voltage | ||||
B5 | -- | -- | Not Used | ||||
B6 | YEL | 1737 | Neutral Safety Switch Park/Neutral Signal | ||||
B7 | -- | -- | Not Used | ||||
B8 | BLK | 150 | Ground | ||||
B9 | BRN | 441 | Ignition 3 Voltage | ||||
C1 | DK GRN/WHT | 459 | A/C Clutch Relay Control | ||||
C3 | ORN | 1240 | Battery Positive Voltage | ||||
C4 | BLK | 28 | Horn Relay Control | ||||
C6 | ORN | 740 | Battery Positive Voltage | ||||
D1 | DK GRN | 59 | A/C Compressor Clutch Supply Voltage | ||||
D2 | -- | -- | Not Used | ||||
D3 | PNK | 639 | Ignition 1 Voltage | ||||
D4 | DK GRN | 29 | Horn Control | ||||
D5 | -- | -- | Not Used | ||||
D6 | ORN | 740 | Battery Positive Voltage | ||||
D7-E9 | -- | -- | Not Used | ||||
F1 | TAN | 12 | Headlamp Low Beam Supply Voltage | ||||
F3 | LT GRN | 11 | Headlamp High Beam Supply Voltage | ||||
F5-F11 | -- | -- | Not Used | ||||
G2 | TAN | 12 | Headlamp Low Beam Supply Voltage | ||||
G4 | LT GRN | 11 | Headlamp High Beam Supply Voltage | ||||
G6 | -- | -- | Not Used | ||||
G8 | PNK | 639 | Ignition 1 Voltage | ||||
G10 | -- | -- | Not Used | ||||
G12 | ORN | 440 | Battery Positive Voltage | ||||
H1-H3 | -- | -- | Not Used | ||||
H5 | RED | 542 | Battery Positive Voltage | ||||
H7 | PNK | 3 | Battery Positive Voltage | ||||
H9 | -- | -- | Not Used | ||||
H11 | RED | 2 | Battery Positive Voltage | ||||
J2 | TAN | 12 | Headlamp Low Beam Supply Voltage | ||||
J4 | LT GRN | 11 | Headlamp High Beam Supply Voltage | ||||
J6 | RED | 1542 | Battery Positive Voltage | ||||
J8 | PNK | 439 | Ignition 1 Voltage | ||||
J10 | -- | -- | Not Used | ||||
J12 | ORN | 740 | Battery Positive Voltage | ||||
K1 | PPL | 680 | ABS Pressure Differential Sensor Signal | ||||
K3 | DK GRN | 59 | A/C Compressor Clutch Supply Voltage | ||||
DK GRN | 59 | A/C Compressor Clutch Supply Voltage | |||||
K5-K11 | -- | -- | Not Used | ||||
L2 | TAN/WHT | 33 | Brake Warning Indicator Control | ||||
L4 | BLK | 150 | Ground | ||||
L6 | -- | -- | Not Used | ||||
L8 | PNK | 539 | Ignition 1 Voltage | ||||
L10 | -- | -- | Not Used | ||||
L12 | ORN | 1240 | Battery Positive Voltage | ||||
M1-M2 | -- | -- | Not Used | ||||
M3 | RED | 542 | Battery Positive Voltage | ||||
M4 | RED | 442 | Battery Positive Voltage | ||||
M5 | RED | 342 | Battery Positive Voltage | ||||
M6 | RED | 242 | Battery Positive Voltage | ||||
M7 | RED | 142 | Battery Positive Voltage | ||||
M8 | RED | 42 | Battery Positive Voltage | ||||
N1-N8 | -- | -- | Not Used | ||||
| |||||||
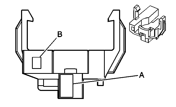
|---|---|---|---|---|---|---|---|
Connector Part Information |
| ||||||
Pin | Wire Color | Circuit No. | Function | ||||
30 | RED | 1042 | Battery Positive Voltage | ||||
85 | BLK | 150 | Ground | ||||
86 | YEL | 43 | Accessory Voltage | ||||
87 | RED | 1042 | Battery Positive Voltage | ||||
| |||||||
|---|---|---|---|---|---|---|---|
Connector Part Information |
| ||||||
Pin | Wire Color | Circuit No. | Function | ||||
1 | PPL | 34 | Front Fog Lamps Supply Voltage | ||||
2 | RED/WHT | 2140 | Battery Positive Voltage | ||||
3 | ORN | 192 | Front Fog Lamp Switch Signal | ||||
4 | -- | -- | Not Used | ||||
5 | BLK | 150 | Ground | ||||
6 | YEL/BLK | 1029 | Amplifier Supply Voltage | ||||
7 | YEL | 243 | Accessory Voltage | ||||
8 | DK GRN | 1001 | Amplifier Relay Control | ||||
9 | -- | -- | Not Used | ||||
10 | BLK | 150 | Ground | ||||
11 | YEL | 243 | Accessory Voltage | ||||
12 | RED/BLK | 1042 | Battery Positive Voltage | ||||
13 | RED/WHT | 2140 | Battery Positive Voltage | ||||
14 | RED | 842 | Battery Positive Voltage | ||||
15 | RED/WHT | 2040 | Battery Positive Voltage | ||||
16 | RED | 842 | Battery Positive Voltage | ||||
17 | -- | -- | Not Used | ||||
18 | -- | -- | Not Used | ||||
19 | RED/WHT | 1940 | Battery Positive Voltage | ||||
20 | RED | 842 | Battery Positive Voltage | ||||
21 | RED/WHT | 1840 | Battery Positive Voltage | ||||
22 | RED | 842 | Battery Positive Voltage | ||||