GM Service Manual Online
For 1990-2009 cars only

Propeller Shaft Runout Measurement Two-Piece

Tools Required

    • J 7872 Magnetic Base Dial Indicator Set, or equivalent
    • J 8001 Dial Indicator Set, or equivalent

    Object Number: 652343  Size: SH
  1. Raise and suitably support the vehicle. Ensure that the drive axle is supported at ride height (vehicle body supported by suspension components) with the wheels free to rotate. Refer to Lifting and Jacking the Vehicle in General Information.
  2. Place the transmission in NEUTRAL.
  3. Clean the circumference of the propeller shafts of any debris and/or undercoating along the front (1), center (2), and rear (3) positions.
  4. Inspect the propeller shafts for dents, damage, and/or missing weights. Any propeller shaft that is dented or damaged requires replacement.

  5. Object Number: 734521  Size: SH
  6. Mount the J 7872 , or equivalent, or the J 8001 , or equivalent, to the vehicle underbody, or to a service stand in order to measure the runout of the propeller shafts beginning at the rear-most position.

  7. Object Number: 652343  Size: SH
  8. Rotate the pinion flange or the transmission yoke by hand while taking runout measurements of the propeller shafts. The propeller shafts will rotate more easily in one direction than in the other. If necessary, the tire and wheel assemblies and even the rotors/drums can be removed from the drive axle to provide easier rotation of the propeller shafts.
  9. Important: Do not include fluctuations on the dial indicator due to welds or surface irregularities.

  10. Beginning at the rear-most position and working forward, record the runout measurement at the rear (3), the center (2), and the front (1) of the rear propeller shaft.

  11. Object Number: 734520  Size: SH
  12. Mark the position of the rear propeller shaft to the pinion flange and the front shaft, then remove the rear propeller shaft.
  13. Inspect the front propeller shaft support bearing assembly (3) for damaged rubber components, worn bearing(s), or a damaged/cracked bracket which could be affecting the runout of the propeller shafts.
  14. If the support bearing assembly exhibited any of these conditions, it requires replacement before proceeding.
  15. Inspect the propeller shaft support bearing assembly (3) for loose or missing shims/washers (if equipped). Reinstall correctly or replace any shims/washers as necessary to ensure proper alignment of the support bearing assembly.

  16. Object Number: 182285  Size: SH
  17. Position the J 7872 , or equivalent (1), or the J 8001 , or equivalent (1), approximately 13 mm (½ in) from the end of the stub shaft (3).

  18. Object Number: 734520  Size: SH

    Important: Do not include fluctuations on the dial indicator due to welds or surface irregularities.

  19. Beginning at the rear-most position and working forward, record the runout measurement at the stub shaft (splines) (4), the center (2), and the front (1) of the front propeller shaft.
  20. Compare the front propeller shaft runout measurements recorded to the runout tolerance specifications.
  21. If any of the front propeller shaft runout measurements exceed the runout tolerances, perform the following:
  22. 15.1. Inspect the deflection of transmission output shaft for indications of a worn or damaged bushing which could be affecting the runout of the front propeller shaft.

    A leaking transmission output shaft seal may be an indication of an output shaft bushing concern.

    15.2. If the transmission output shaft bushing is found to be worn or damaged, the bushing must be replaced before proceeding.
    15.3. If the transmission output shaft bushing was replaced; remeasure and record the runout of the front propeller shaft at the same 3 places measured previously.
    15.4. Compare the front propeller shaft runout remeasurements recorded to the runout tolerance specifications.

            Important: Inspect the runout of any replacement propeller shaft.

    15.5. If any of the front propeller shaft runout remeasurements still exceed the runout tolerances, the front propeller shaft requires replacement before proceeding. Check the runout of the replacement propeller shaft.

            Important: Inspect the runout of any replacement propeller shaft.

    15.6. If the transmission output shaft bushing was not found to be worn or damaged, the front propeller shaft requires replacement before proceeding. Check the runout of the replacement propeller shaft.

    Object Number: 652343  Size: SH
  23. If the front propeller shaft has been replaced, remeasure the runout of the rear propeller shaft in the same 3 places measured previously.
  24. Compare the rear propeller shaft runout remeasurements recorded to the runout tolerance specifications.
  25. If any of the rear propeller shaft runout original measurements (front propeller shaft not replaced), or remeasurements (front shaft replaced) exceed the runout tolerances, perform the following:
  26. 18.1. Mark the position of the rear propeller shaft to the pinion flange.
    18.2. Remove the rear propeller shaft from the pinion flange.
    18.3. Rotate the rear propeller shaft 180 degrees from it's original position.
    18.4. Reinstall the rear propeller shaft to the pinion flange.
    18.5. Remeasure and record the runout of the rear propeller shaft at the same 3 places measured previously.
    18.6. Compare the rear propeller shaft runout remeasurements recorded to the runout tolerance specifications.
    18.7. If any of the rear propeller shaft runout remeasurements still exceed the runout tolerances, perform the following:
             18.7.1. Inspect the pinion flange runout to determine if the pinion flange is affecting the runout of the propeller shaft. Refer to Pinion Flange Runout Measurement .
             18.7.2. If the pinion flange runout exceeds the runout tolerances, the pinion flange must be reindexed or replaced to bring the runout within tolerances before proceeding.
             18.7.3. If the pinion flange was reindexed or replaced, return the propeller shaft to it's original relationship when reinstalling the shaft to the flange.

                       Important: Inspect the runout of any replacement propeller shaft.

             18.7.4. If the first measurement of pinion flange runout was within tolerances, the rear propeller shaft requires replacement. Check the runout of the replacement propeller shaft.
             18.7.5. If the pinion flange was reindexed or replaced, remeasure and record the runout of the rear propeller shaft at the same 3 places measured previously.
             18.7.6. Compare the rear propeller shaft runout remeasurements recorded to the runout tolerance specifications.
             18.7.7. If any of the runout remeasurements still exceed the runout tolerances, remove and rotate the rear propeller shaft 180 degrees from it's original position at the reindexed or replaced pinion flange.
             18.7.8. Reinstall the rear propeller shaft to the reindexed or replaced pinion flange then remeasure and record the runout of the rear propeller shaft at the same 3 places measured previously.
             18.7.9. Compare the rear propeller shaft runout remeasurements recorded to the runout tolerance specifications.

                       Important: Inspect the runout of any replacement propeller shaft.

             18.7.10. If any of the rear propeller shaft runout remeasurements still exceed the runout tolerances, the rear propeller shaft requires replacement. Check the runout of the replacement propeller shaft.

Propeller Shaft Runout Measurement One-Piece

Tools Required

    • J 7872 Magnetic Base Dial Indicator Set, or equivalent
    • J 8001 Dial Indicator Set, or equivalent

    Object Number: 652343  Size: SH
  1. Raise and suitably support the vehicle. Ensure that the drive axle is supported at ride height (vehicle body supported by suspension components) with the wheels free to rotate. Refer to Lifting and Jacking the Vehicle in General Information.
  2. Place the transmission in NEUTRAL.
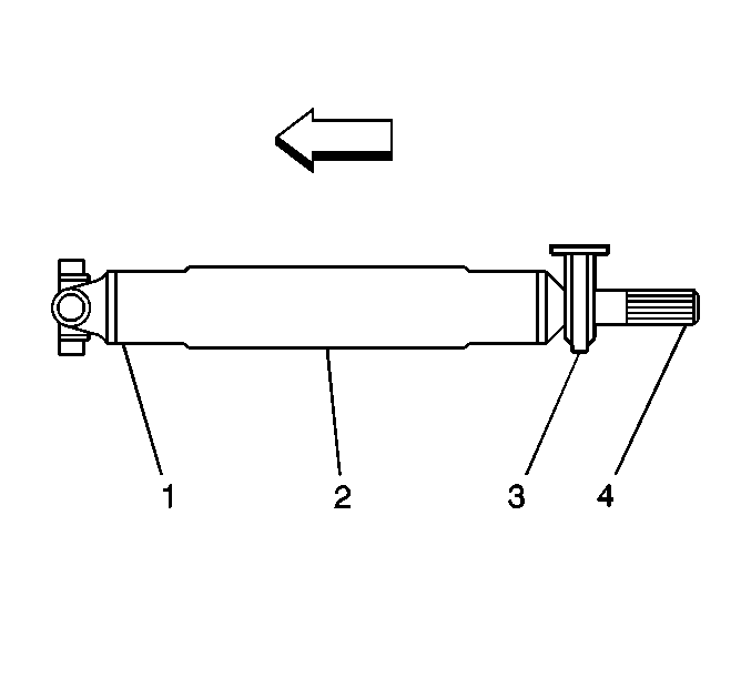
  3. Clean the circumference of the propeller shaft of any debris and/or undercoating along the front (1), center (2), and rear (3) positions.
  4. Inspect the propeller shaft for dents, damage, and/or missing weights. Any propeller shaft that is dented or damaged requires replacement.

  5. Object Number: 734521  Size: SH
  6. Mount the J 7872 , or equivalent, or the J 8001 , or equivalent, to the vehicle underbody, or to a service stand in order to measure the runout of the propeller shaft beginning at the rear-most position.

  7. Object Number: 652343  Size: SH
  8. Rotate the pinion flange or the transmission yoke by hand while taking runout measurements of the propeller shaft. The propeller shaft will rotate more easily in one direction than in the other. If necessary, the tire and wheel assemblies and even the rotors/drums can be removed from the drive axle to provide easier rotation of the propeller shaft.
  9. Important: Do not include fluctuations on the dial indicator due to welds or surface irregularities.

  10. Beginning at the rear-most position and working forward, record the runout measurement at the rear (3), the center (2), and the front (1) of the propeller shaft.
  11. Compare the propeller shaft runout measurements recorded to the runout tolerance specifications.
  12. If any of the propeller shaft runout measurements exceed the runout tolerances, perform the following:
  13. 9.1. Mark the position of the propeller shaft to the pinion flange.
    9.2. Remove the propeller shaft from the pinion flange.
    9.3. Rotate the propeller shaft 180 degrees from it's original position.
    9.4. Reinstall the propeller shaft to the pinion flange.
    9.5. Remeasure and record the runout of the propeller shaft at the same 3 places measured previously.
    9.6. Compare the propeller shaft runout remeasurements recorded to the runout tolerance specifications.
    9.7. If any of the propeller shaft runout remeasurements still exceed the runout tolerances, perform the following:
             9.7.1. Inspect the pinion flange runout to determine if the pinion flange is affecting the runout of the propeller shaft. Refer to Pinion Flange Runout Measurement .
             9.7.2. If the pinion flange runout exceeds the runout tolerances, the pinion flange must be reindexed or replaced to bring the runout within tolerances before proceeding.
             9.7.3. If the pinion flange was reindexed or replaced, return the propeller shaft to it's original relationship when reinstalling the shaft to the flange.
             9.7.4. If the pinion flange runout is within tolerances, inspect the deflection of transmission output shaft for indications of a worn or damaged bushing which could be affecting the runout of the propeller shaft.

    A leaking transmission output shaft seal may be an indication of an output shaft bushing concern.

             9.7.5. If the transmission output shaft bushing is found to be worn or damaged, the bushing must be replaced before proceeding.

                       Important: Inspect the runout of any replacement propeller shaft.

             9.7.6. If the first measurement of pinion flange runout was within tolerances and the transmission output shaft bushing was not found to be worn or damaged, the propeller shaft requires replacement. Check the runout of the replacement propeller shaft.
             9.7.7. If either the pinion flange was reindexed or replaced, or if the transmission output shaft bushing was replaced; remeasure and record the runout of the propeller shaft at the same 3 places measured previously.
             9.7.8. Compare the propeller shaft runout remeasurements recorded to the runout tolerance specifications.
             9.7.9. If any of the propeller shaft runout remeasurements still exceed the runout tolerances, remove and rotate the propeller shaft 180 degrees from it's original position at the reindexed or replaced pinion flange.
             9.7.10. Reinstall the propeller shaft to the reindexed or replaced pinion flange then remeasure and record the runout of the propeller shaft at the same 3 places measured previously.
             9.7.11. Compare the propeller shaft runout remeasurements recorded to the runout tolerance specifications.

                       Important: Inspect the runout of any replacement propeller shaft.

             9.7.12. If any of the propeller shaft runout remeasurements still exceed the runout tolerances, the propeller shaft requires replacement. Check the runout of the replacement propeller shaft.