Clutch Pilot Bearing Installation C/K/C3500HD
Caution: Wear safety glasses in order to avoid eye damage.
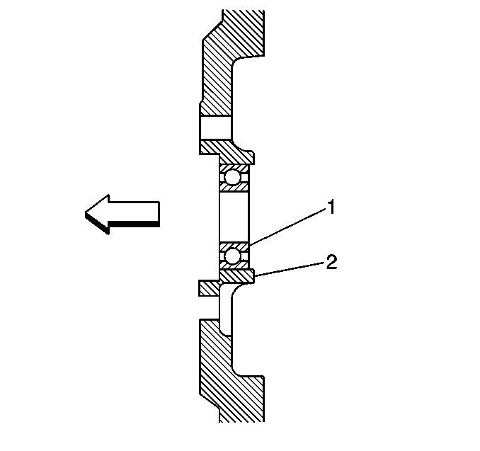
- Install
the NEW clutch pilot bearing.
Important: Make sure the bearing is installed parallel to the rear of the crankshaft.
- Measure to ensure the proper installation depth is obtained. The bearing (1)
should be (A) 14.650-15.650 mm (0.577-0.616 in)
from the lip of the crankshaft, or (B) 6.400-7.400 mm
(0.252-0.291 in) from the crankshaft flange.
Clutch Pilot Bearing Installation Medium Duty
Caution: Wear safety glasses in order to avoid eye damage.
Important: Install the bearing from the crankshaft side of the engine flywheel.
- Install the NEW clutch pilot bearing (1) flush with the surface
of the crankshaft flange bore (2).
- Ensure that proper installation is obtained.