GM Service Manual Online
For 1990-2009 cars only
Makes
🢒
Chevrolet
🢒
2001
🢒
Express
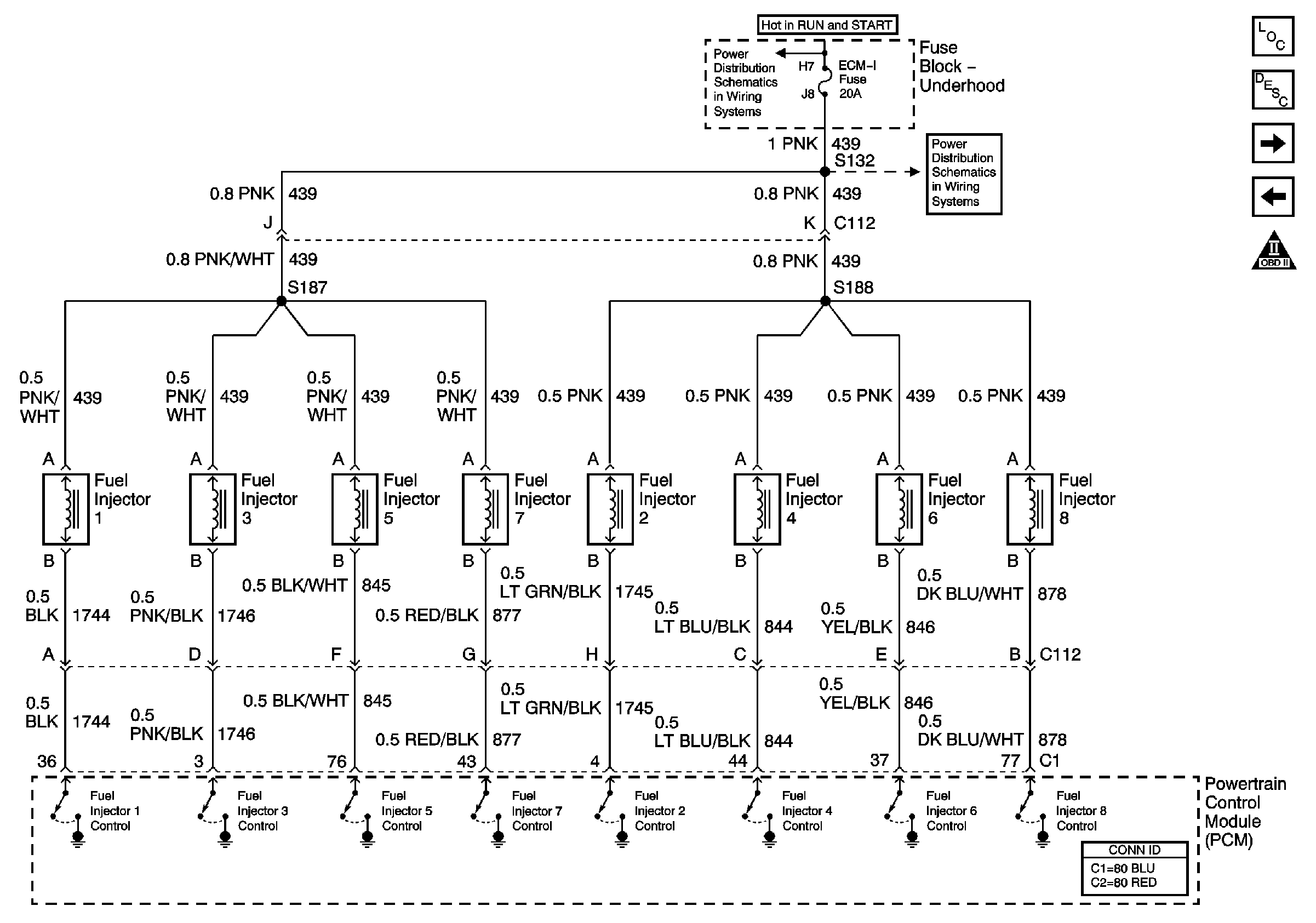
🢒 Fuel Injector Controls
Fuel Injector Controls
Fuel Injector Controls
Master Electrical Component List
Fuel System Description
Sensor Controls: EGR, Fuel Tank Pressure Sensor, MAP, IAT, ECT
Fuel Pump Controls
OBD II Symbol Description Notice
Ignition A, Ignition B Fuses, and Ignition Switch
ECM 1 and Ignition E Fuses (8.1L)