GM Service Manual Online
For 1990-2009 cars only
Makes
🢒
Chevrolet
🢒
2001
🢒
Express
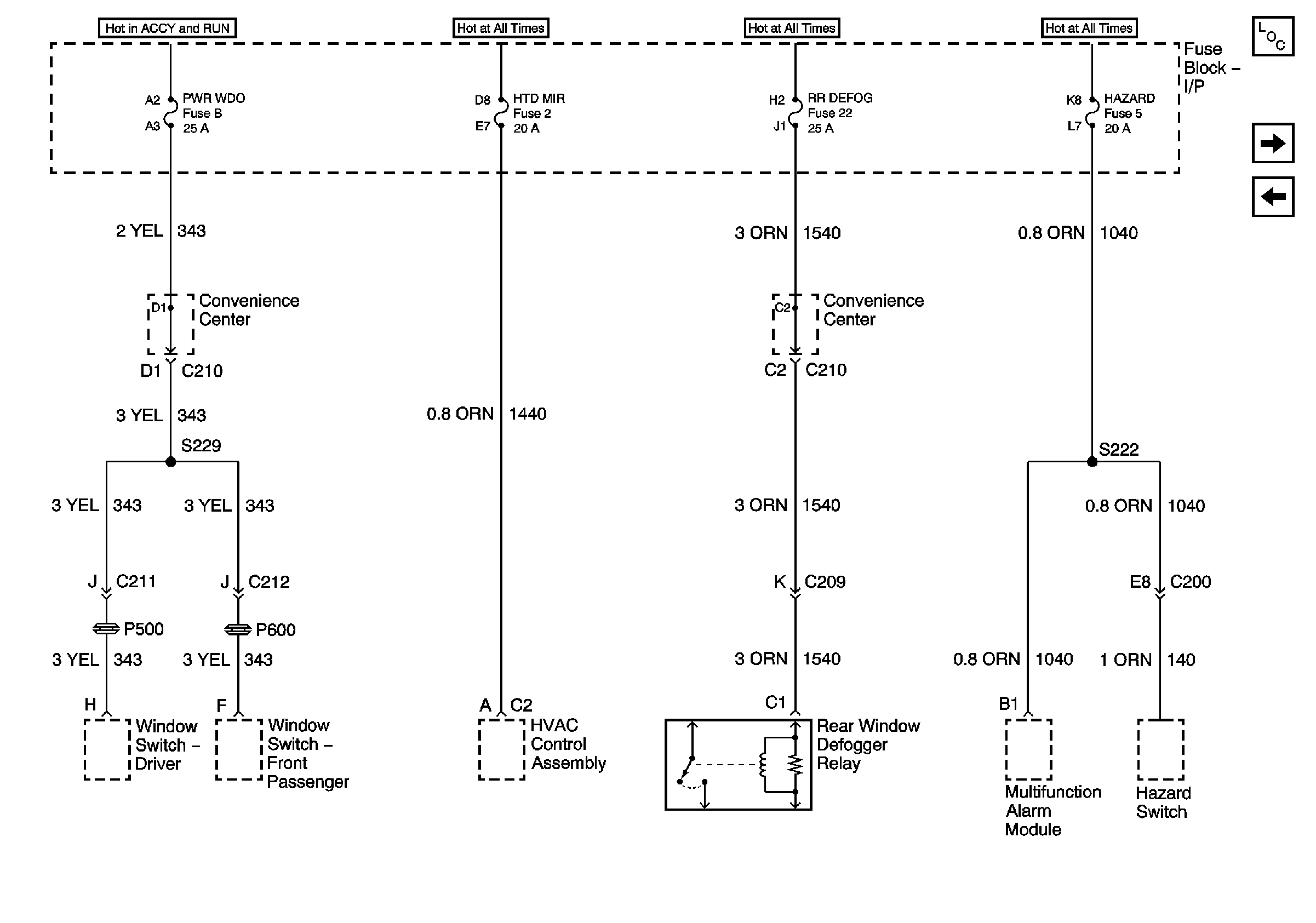
🢒 Power Windows, Heated Mirrors, Rear Defogger, and Hazard Fuses
Power Windows, Heated Mirrors, Rear Defogger, and Hazard Fuses
Power Windows, Heated Mirrors, Rear Defogger, and Hazard Fuses
Master Electrical Component List
Power Accessory Fuse
Left/Right Headlamps, Left/Right High Beam Fuses