GM Service Manual Online
For 1990-2009 cars only
Makes
🢒
Chevrolet
🢒
2001
🢒
Express
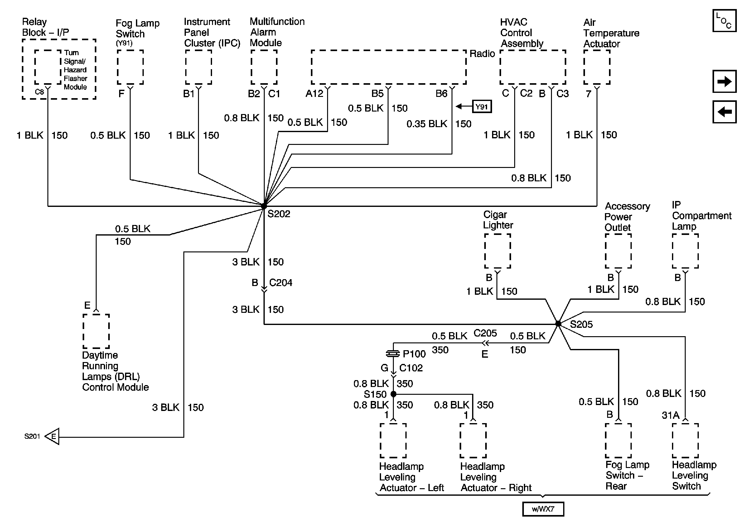
🢒 Components through S202 and S205 to G201
Components through S202 and S205 to G201
Components through S202 and S205 to G201
Master Electrical Component List
G200
G201
G201