GM Service Manual Online
For 1990-2009 cars only
Makes
🢒
Chevrolet
🢒
2001
🢒
Express
🢒 8.1L Engine
8.1L Engine
8.1L Engine
Master Electrical Component List
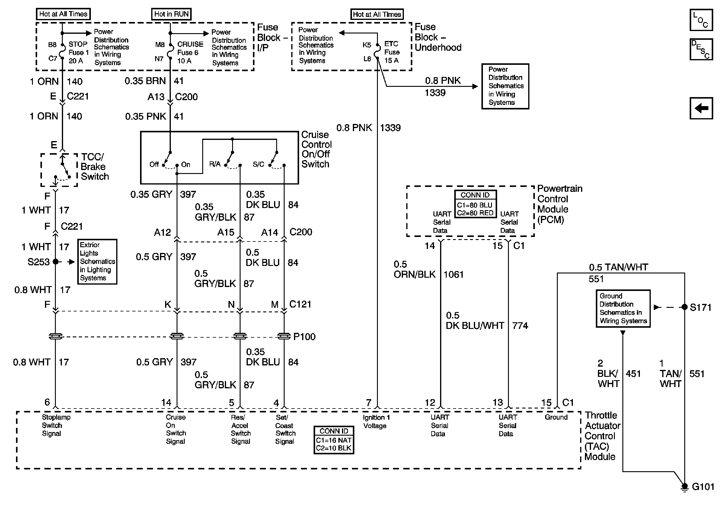
Cruise Control Description and Operation w/ ETC
6.5L Diesel Engine
Lighting and Battery Fuses
Ignition A, Ignition B Fuses, and Ignition Switch
ABS, Blower, AIR and Rear Blower Fuses
ABS, Blower, AIR and Rear Blower Fuses
PARK LPS, TURN B/U, HAZARD, STOP Fuses
G101 (Gasoline Engines)