GM Service Manual Online
For 1990-2009 cars only
Makes
🢒
Chevrolet
🢒
2001
🢒
Express
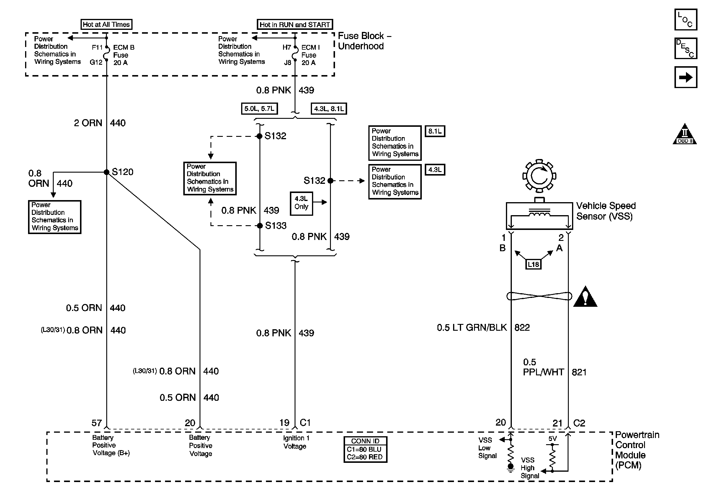
🢒 PWR and VSS Controls
PWR and VSS Controls
PWR and VSS Controls
Master Electrical Component List
Electronic Component Description
Solenoid and TCC/Stoplamp Controls
OBD II Symbol Description Notice
Automatic Transmission Schematic Icons
ECM B, Horn, and A/C Fuses
Battery, Auxiliary Battery, and Underhood Fuse/Relay Center
Ignition A, Ignition B Fuses, and Ignition Switch
ECM 1 and Ignition E Fuses (5.0L and 5.7L)
ECM 1 and Ignition E Fuses (8.1L)
ECM 1 and Ignition E Fuses (4.3L)