GM Service Manual Online
For 1990-2009 cars only
Makes
🢒
Chevrolet
🢒
2001
🢒
Express
🢒 Charging System: Diesel Engines
Charging System: Diesel Engines
Charging System: Diesel Engines
Master Electrical Component List
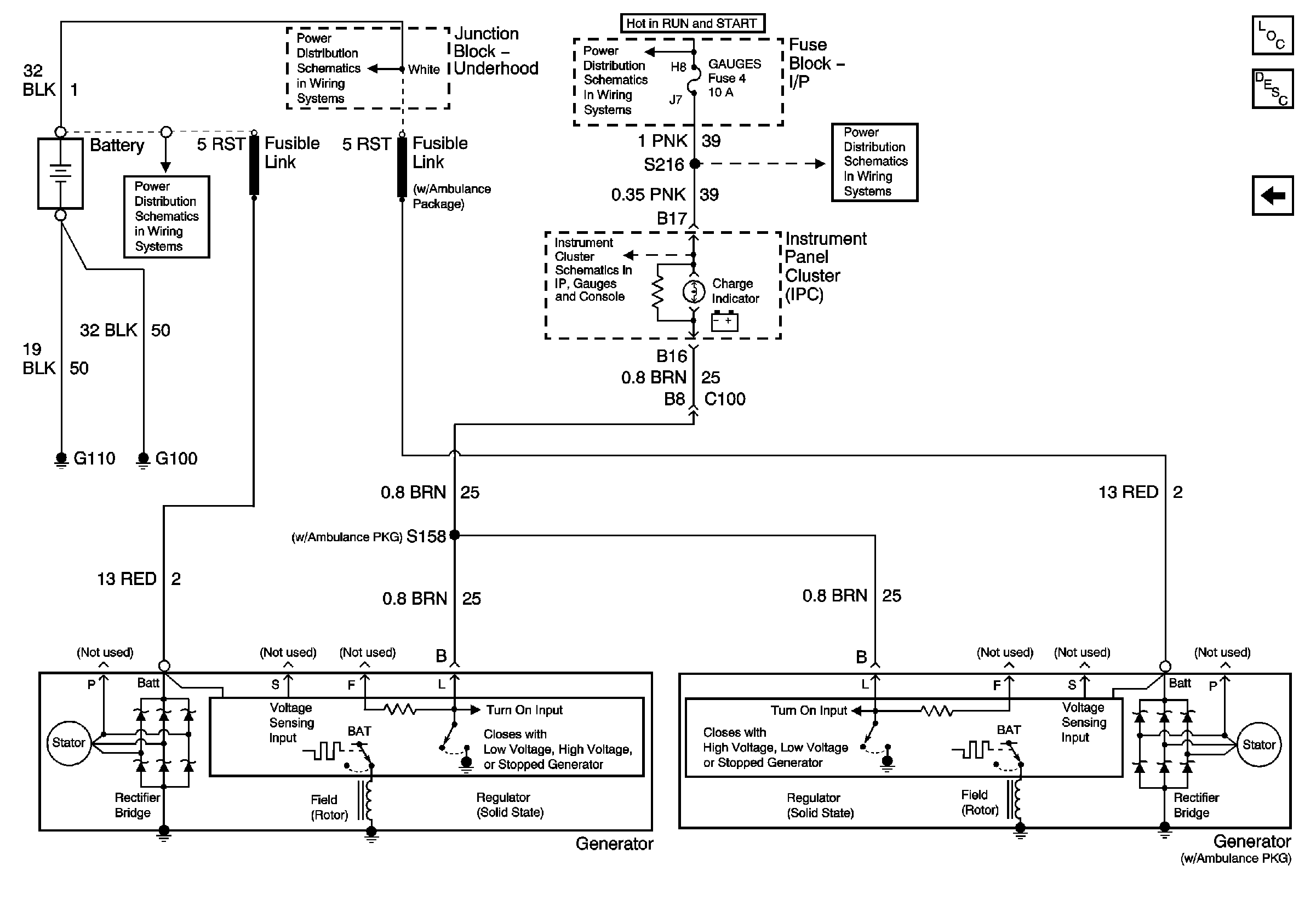
Charging System Description and Operation
Charging System: Gasoline Engines
Gauges Fuse
Ignition A, Ignition B Fuses, and Ignition Switch
Battery, Auxiliary Battery, and Underhood Fuse/Relay Center
Battery, Auxiliary Battery, and Underhood Fuse/Relay Center
Indicators 1 of 2 (Diesel)