GM Service Manual Online
For 1990-2009 cars only

Tools Required

J 45059 Angle Meter


    Object Number: 1411025  Size: SH

    Notice: The left and right cylinder head gaskets are not interchangeable. Improper placement of the cylinder head gasket will block coolant and oil passages. Blocked coolant and oil passages will cause severe engine damage.

    Important: The stamped letter R or L, must face up. R is the right bank, L is the left bank.

  1. Install the right cylinder head gasket of the correct grade. The left and right cylinder head gaskets are not interchangeable. Refer to Cylinder Head Gasket Selection .

  2. Object Number: 1336113  Size: SH
  3. Install the right cylinder head.

  4. Object Number: 663831  Size: SH

    Notice: This component uses bolts with a preapplied molybdenum disulfide coating for thread lubrication. Do not remove the coating or use any additional lubricant. Improperly lubricated threads will adversely affect the bolt torque and clamp load. Improper bolt torque and clamp load can lead to engine damage.

    Notice: Use the correct fastener in the correct location. Replacement fasteners must be the correct part number for that application. Fasteners requiring replacement or fasteners requiring the use of thread locking compound or sealant are identified in the service procedure. Do not use paints, lubricants, or corrosion inhibitors on fasteners or fastener joint surfaces unless specified. These coatings affect fastener torque and joint clamping force and may damage the fastener. Use the correct tightening sequence and specifications when installing fasteners in order to avoid damage to parts and systems.

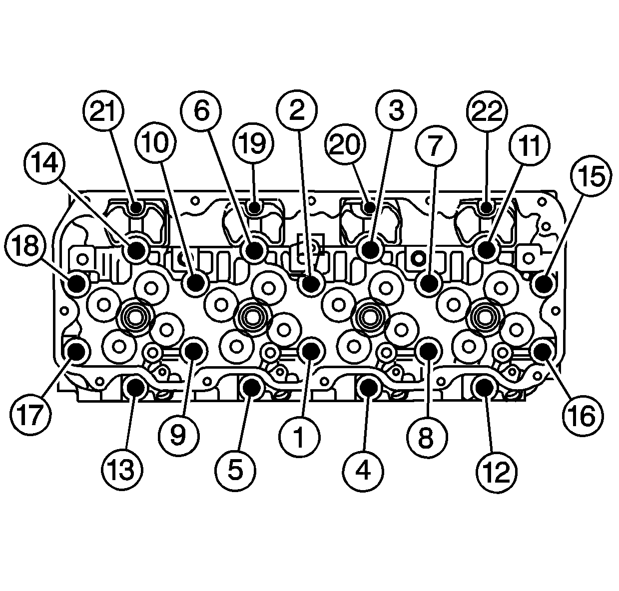
  5. Install the NEW M12 cylinder head bolts. Reuse the M8 bolts.
  6. Tighten the M12 cylinder head bolts in three steps:

    Tighten

    1. 1st step 50 N·m (37 lb ft)
    2. 2nd step 80 N·m (59 lb ft)
    3. 3rd step tighten 60 degrees using J 45059
    4. 4th step tighten 60 degrees using J 45059
  7. Install the M8 bolts.
  8. Tighten
    Tighten the M8 cylinder head bolts to 25 N·m (18 lb ft).