GM Service Manual Online
For 1990-2009 cars only
Makes
🢒
Chevrolet
🢒
2002
🢒
Express
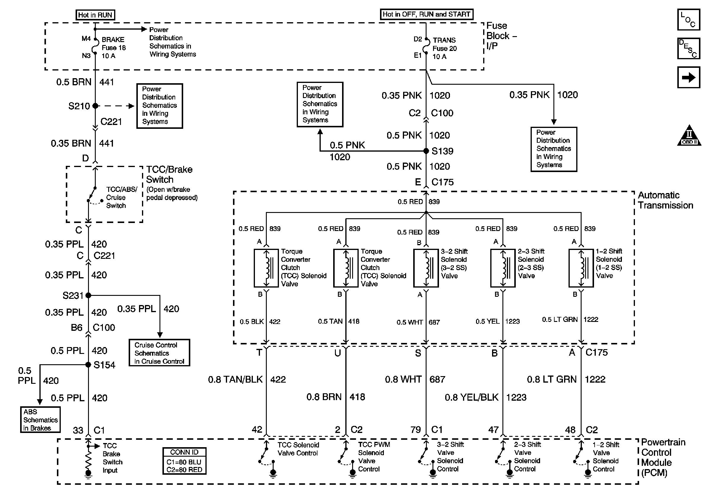
🢒 PWR and Solenoids
PWR and Solenoids
PWR and Solenoids
Master Electrical Component List
Electronic Component Description
Park/Neutral Position Switch
OBD II Symbol Description Notice
Ignition A, Ignition B Fuses, and Ignition Switch
Cruise, Heater A/C, and Brake Fuses
Radio 1, Wiper, Transmission, and Crank Fuses
Radio 1, Wiper, Transmission, and Crank Fuses
Power, Ground, DLC and Indicator
4.3L, 5.0L and 5.7L Engines