GM Service Manual Online
For 1990-2009 cars only

DTC P0560 Diesel Only


Object Number: 700765  Size: MF
Master Electrical Component List
Automatic Transmission Controls Schematics Diesel
OBD II Symbol Description Notice

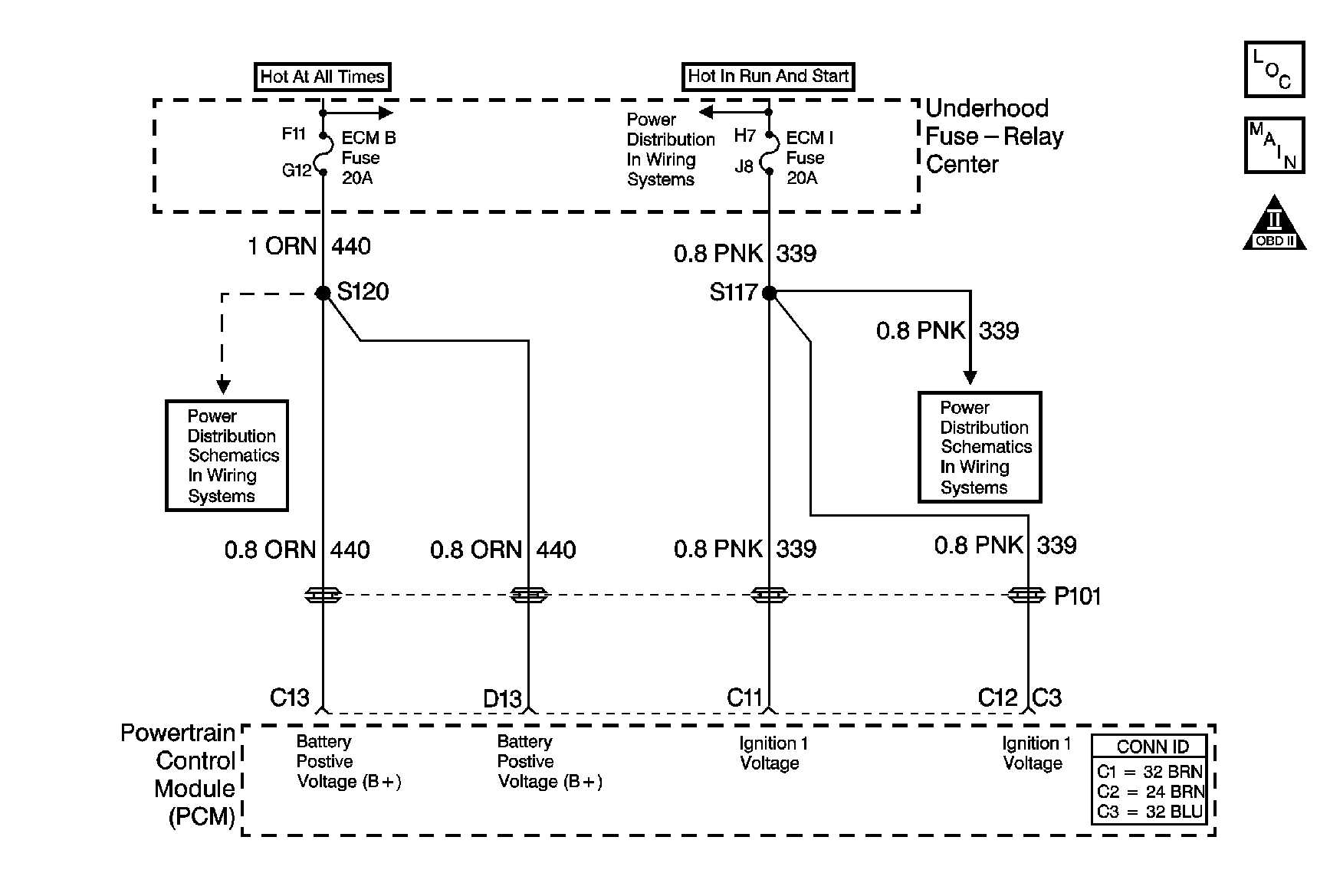
Circuit Description

Ignition 1 voltage circuit is the ignition voltage feed for the powertrain control module (PCM). Battery positive voltage circuit is the battery feed for the PCM.

If the PCM detects either a low system voltage or a high system voltage for a short time, then DTC P0560 sets. DTC P0560 is a type C DTC.

Conditions for Running the DTC

System Voltage Low

The engine speed is greater than 1,500 RPM.

System Voltage High

No engine speed needed.

Conditions for Setting the DTC

System Voltage Low

One of the following conditions exist for greater than 15 seconds:

    • The system voltage is less than 10.5 volts at a maximum transmission temperature of 152°C (305°F).
    • The system voltage is less than 6.7 volts at a minimum transmission temperature of -40°C (-40°F).

System Voltage High

System voltage is greater than 19 volts for 10 seconds.

Action Taken When the DTC Sets

    • The PCM does not illuminate the malfunction indicator lamp (MIL).
    • The PCM commands an immediate landing to second gear.
    • The PCM turns off the PC solenoid valve.
    • The PCM inhibits the TCC engagement.
    • The PCM freezes the shift adapts.
    • The PCM records the operating conditions when the Conditions for Setting the DTC are met. The PCM stores this information as Failure Records.
    • The PCM stores DTC P0560 in PCM history.

Conditions for Clearing the DTC

    • A scan tool clears the DTC from PCM history.
    • The PCM clears the DTC from PCM history if the vehicle completes 40 warm-up cycles without a non-emission related diagnostic fault occurring.
    • The PCM cancels the DTC default actions when the fault no longer exists and the ignition switch is OFF long enough in order to power down the PCM.

Diagnostic Aids

    • Charging the battery with a battery charger and jumpstarting an engine may set DTCs.
    • DTC P0560 defaults to an elevated line pressure condition which may result in partial TCC apply. This may produce an idle surge that could stall the engine.

Test Description

The numbers below refer to the step numbers on the diagnostic table.

  1. This step tests the charging system voltage.

  2. This step tests the battery voltage input at the PCM.

  3. This step tests the ignition voltage inputs at the PCM.

Step

Action

Value(s)

Yes

No

1

Did you perform the Powertrain Diagnostic System Check?

--

Go to Step 2

Go to Diagnostic System Check - Engine Controls in Engine Controls - 6.5L

2

  1. Install a scan tool.
  2. Turn ON the ignition, with the engine OFF.
  3. Important: Before clearing the DTC, use the scan tool in order to record the Failure Records. Using the Clear Info function erases the Failure Records from the PCM.

  4. Record the DTC Failure Records.
  5. Clear the DTC.
  6. Important: If any DTCs are present, refer to their applicable diagnostic tables before continuing.

  7. Using the DMM, measure the battery voltage across the battery terminals.
  8. Record the battery voltage measurement for future reference.

Does the voltage measure higher than the specified value?

10.5 V

Go to Step 3

Go to Charging System Test in Engine Electrical

3

  1. Remove the ECM B fuse.
  2. Inspect the ECM B fuse for an open.

Is the fuse open?

--

Go to Step 11

Go to Step 4

4

  1. Remove the ECM 1 fuse.
  2. Inspect the ECM 1 fuse for an open.

Is the fuse open?

--

Go to Step 12

Go to Step 5

5

  1. Start the engine.
  2. Allow the engine to warm to normal operating temperature.

Does the generator lamp illuminate?

--

Go to Charging System Test in Engine Electrical

Go to Step 6

6

  1. Increase the engine speed to greater than 1,500 RPM.
  2. Observe the scan tool ignition voltage.

Does the ignition voltage measure within the specified range?

13-15 V

Go to Step 7

Go to Charging System Test in Engine Electrical

7

  1. Turn OFF the ignition.
  2. Disconnect the PCM connector C3. Additional DTCs will set.
  3. Turn ON the ignition, with the engine OFF.
  4. Measure the battery voltage input at the PCM connector terminal C3-C13. Use the DMM and the J 35616 connector test adapter kit.

Is there a voltage variance between the voltage measured at the battery, taken in Step 2, and at terminal C3-C13 that is greater than the specified value?

0.5 V

Go to Step 8

Go to Step 9

8

Repair the high resistance condition in the battery power feed circuit (CKT 440) of the PCM.

Refer to Circuit Testing and Wiring Repairs in Wiring Systems.

Did you complete the repair?

--

Go to Step 14

--

9

Measure the ignition voltage input at PCM connector terminal C3-C11.

Is there a voltage variance between the voltage measured at the battery, taken in step 2, and at terminal C3-C11 that is greater than the specified value?

0.5 V

Go to Step 10

Go to Step 13

10

Repair the high resistance condition in the ignition 1 voltage circuit (CKT 339) of the PCM.

Refer to Circuit Testing and Wiring Repairs in Wiring Systems.

Did you complete the repair?

--

Go to Step 14

--

11

Test the battery power feed (CKT 440) for a short to ground between the PCM connector C3-C13, C3-D13 and the Underhood Fuse-Relay Center.

Did you find and correct the condition?

--

Go to Step 14

--

12

Test the ignition 1 voltage circuit (CKT 339) for a short to ground between the PCM connector C3-C11, C3-C12 and the Underhood Fuse-Relay Center.

Did you find and correct the condition?

--

Go to Step 14

--

13

Replace the PCM.

Refer to Powertrain Control Module Replacement in Engine Controls - 6.5L.

Did you complete the replacement?

--

Go to Step 14

--

14

Perform the following procedure in order to verify the repair:

  1. Select DTC.
  2. Select Clear Info.
  3. Operate the vehicle under the following conditions:
  4. • Start the vehicle.
    • Warm the vehicle to normal operating temperature.
    • Using the scan tool, verify that the PCM sees an ignition voltage between 8.3 and 16.5 volts.
  5. Select Specific DTC.
  6. Enter DTC P0560.

Has the test run and passed?

--

System OK

Go to Step 1