GM Service Manual Online
For 1990-2009 cars only

DTC P0713 Gas


Object Number: 657407  Size: MF
Master Electrical Component List
Automatic Transmission Controls Schematics Gas
OBD II Symbol Description Notice

Circuit Description

The automatic transmission fluid temperature (TFT) sensor is part of the 4L80-E automatic transmission (AT) wiring harness assembly. The TFT sensor is a resistor, or thermistor, which changes value based on temperature. The sensor has a negative temperature coefficient. This means that as the temperature increases, the resistance decreases, and as the temperature decreases the resistance increases. The powertrain control module (PCM) supplies a 5 volt reference signal to the sensor and measures the voltage drop in the circuit. When the transmission fluid is cold, the sensor resistance is high and the PCM detects high signal voltage. As the fluid temperature warms to a normal operating temperature, the resistance becomes less and the signal voltage decreases. The PCM uses this information to control shift quality and torque converter clutch apply.

If the PCM detects a continuous open or short to the power in the TFT signal circuit or the TFT sensor, then DTC P0713 sets. DTC P0713 is a type C DTC.

Conditions for Running the DTC

    • The engine is running for greater than 7 seconds.
    • System voltage is 8-18 volts.

Conditions for Setting the DTC

    • The TFT sensor indicates a voltage greater than 4.94 volts.
    • All conditions met for 407 seconds (6.8 minutes).

Action Taken When the DTC Sets

    • The PCM does not illuminate the malfunction indicator lamp (MIL).
    • The PCM commands increased line pressure.
    • The PCM freezes shift adapts.
    • The PCM determines a TFT default transmission temperature (TFT) using the following matrix:
       - If the engine run time is less than 60 seconds then default TFT equals 47°C (117°F).
       - If ECT is less than 20°C (68°F), IAT is used.
       - If the ECT is 20-110°C (68-230°F) then default TFT equals ECT.
       - If the ECT is greater than 110°C (230°F) then default TFT is set to 140°C (284°F) and transmission shift pattern is in hot mode.
       - If ECT and TFT DTCs are both set then default TFT is 140°C (284°F).
    • The PCM records the operating conditions when the Conditions for Setting the DTC are met. The PCM stores this information as Failure Records.
    • The PCM stores DTC P0713 in PCM history.

Conditions for Clearing the DTC

    • A scan tool clears the DTC from PCM history.
    • The PCM clears the DTC from PCM history if the vehicle completes 40 warm-up cycles without a non-emission related diagnostic fault occurring.
    • The PCM cancels the DTC default actions when the fault no longer exists and the ignition switch is OFF long enough in order to power down the PCM.

Diagnostic Aids

DTC P0713 defaults to an elevated line pressure condition which may result in partial TCC apply. This may produce an idle surge that could stall the engine.

Test Description

The numbers below refer to the step numbers on the diagnostic table.

  1. This step verifies a condition in the TFT sensor circuit inside the transmission.

  2. This step tests for higher than normal circuit voltage which may also damage the TFT sensor.

Step

Action

Value(s)

Yes

No

1

Did you perform the Powertrain Diagnostic System Check?

--

Go to Step 2

Go to Diagnostic System Check - Engine Controls in Engine Controls - 4.3L or Diagnostic System Check - Engine Controls in Engine Controls - 5.0/5.7L or Diagnostic System Check - Engine Controls in Engine Controls - 8.1L

2

  1. Install a scan tool.
  2. Turn ON the ignition, with the engine OFF.
  3. Important: Before clearing the DTCs, use the scan tool in order to record the Failure Records. Using the Clear Info function erases the Failure Records from the PCM.

  4. Record the DTC Failure Records.

Does the scan tool display a Trans. Temp. Sensor Voltage less than the specified value?

4.93 V

Go to Intermittent Conditions in Engine Controls - 4.3L or Intermittent Conditions in Engine Controls - 5.0/5.7L or Intermittent Conditions in Engine Controls - 8.1L

Go to Step 3

3

  1. Turn OFF the ignition.
  2. Disconnect the AT inline 20-way connector. Additional DTCs may set.
  3. Install the J 44152 jumper harness (20 pins) on the transmission side of the AT inline 20-way connector.
  4. Using the DMM and the J 35616 connector test adapter kit, measure the resistance between terminal L and M of the J 44152 .
  5. Refer to Automatic Transmission Inline Harness Connector End View .

Is the resistance less than the specified value?

100 K ohms

Go to Step 6

Go to Step 4

4

Measure the resistance between terminal L and all other terminals of the J 44152 .

Is the resistance between terminal L and any other terminal less than the specified value?

1,000 K ohms

Go to Step 7

Go to Step 5

5

Important: High voltage, B+, in the signal circuit may damage the TFT sensor.

Test the sensor signal circuit (CKT 1227) of the TFT sensor for a short to voltage between PCM connector C2 and the AT inline 20-way connector.

Refer to Circuit Testing and Wiring Repairs in Wiring Systems.

Did you find and correct the condition?

--

Go to Step 7

Go to Step 7

6

  1. Test the sensor signal circuit (CKT 1227) of the TFT sensor for an open between the PCM connector C2 and the AT inline 20-way connector.
  2. Test the low reference circuit (CKT 2762/407) of the TFT sensor for an open between the PCM connector C1 and the AT inline 20-way connector.

Refer to Circuit Testing in Wiring Systems.

Did you find and correct the condition?

--

Go to Step 9

Go to Step 8

7

Replace the automatic transmission wiring harness.

Refer to Valve Body and Pressure Switch Replacement .

Did you complete the replacement?

--

Go to Step 9

--

8

Replace the PCM.

Refer to Powertrain Control Module Replacement in Engine Controls - 4.3L or Powertrain Control Module Replacement in Engine Controls - 5.0/5.7L or Powertrain Control Module Replacement in Engine Controls - 8.1L.

Did you complete the replacement?

--

Go to Step 9

--

9

Perform the following procedure in order to verify the repair:

  1. Select DTC.
  2. Select Clear Info.
  3. Operate the vehicle so that the TFT sensor indicates a voltage less than 4.93 volts for 407 seconds (6.8 minutes).
  4. Select Specific DTCs.
  5. Enter DTC P0713.

Has the test run and passed?

--

System OK

Go to Step 1

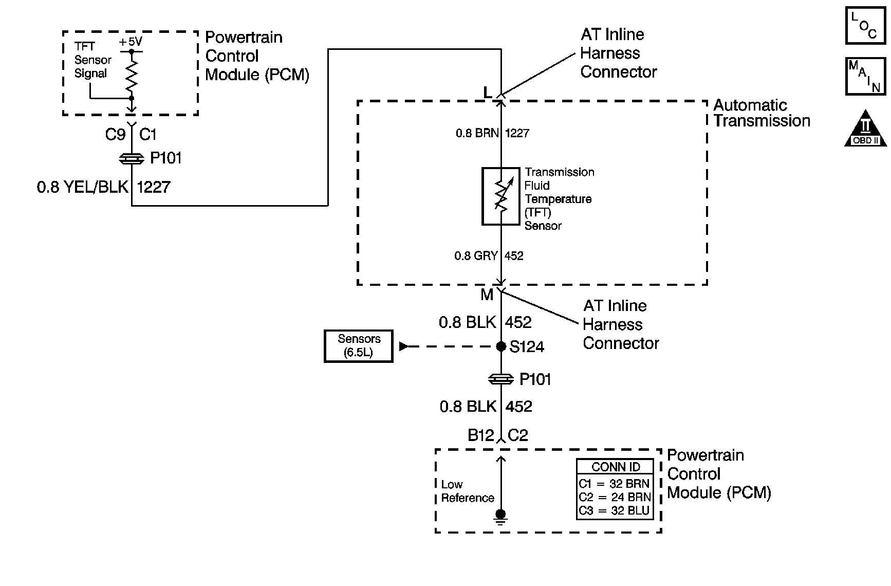
DTC P0713 Diesel


Object Number: 700768  Size: MF
Master Electrical Component List
Automatic Transmission Controls Schematics Diesel
OBD II Symbol Description Notice

Circuit Description

The automatic transmission fluid temperature (TFT) sensor is part of the 4L80-E automatic transmission (AT) wiring harness assembly. The TFT sensor is a resistor, or thermistor, which changes value based on temperature. The sensor has a negative temperature coefficient. This means that as the temperature increases, the resistance decreases, and as the temperature decreases the resistance increases. The powertrain control module (PCM) supplies a 5 volt reference signal to the sensor and measures the voltage drop in the circuit. When the transmission fluid is cold, the sensor resistance is high and the PCM detects high signal voltage. As the fluid temperature warms to a normal operating temperature, the resistance becomes less and the signal voltage decreases. The PCM uses this information to control shift quality and torque converter clutch apply. DTC P0713 is a type C DTC.

Conditions for Running the DTC

The ignition is ON.

Conditions for Setting the DTC

    • The TFT sensor indicates a voltage greater than 4.94 volts.
    • All conditions are met for 400 seconds (6.6 minutes).

Action Taken When the DTC Sets

    • The PCM does not illuminate the malfunction indicator lamp (MIL).
    • The PCM commands increased line pressure.
    • The PCM freezes shift adapts.
    • The PCM determines a TFT default transmission fluid temperature (TFT) using the following matrix:
       - If the engine coolant temperature (ECT) is less than -30°C (-22°F) then default TFT is set to -28°C (-19°F).
       - If the ECT is -30 to +110°C (-22 to +230°F) then default TFT equals ECT plus 10 degrees.
       - If the ECT is greater 110°C (230°F) then default TFT is set to 140°C (284°F) and transmission shift pattern is in Hot Mode.
       - If ECT and TFT DTCs are both set then default TFT is 140°C (284°F).
    • The PCM records the operating conditions when the Conditions for Setting the DTC are met. The PCM stores this information as Failure Records.
    • The PCM stores DTC P0713 in PCM history.

Conditions for Clearing the DTC

    • A scan tool clears the DTC from PCM history.
    • The PCM clears the DTC from PCM history if the vehicle completes 40 warm-up cycles without a non-emission related diagnostic fault occurring.
    • The PCM cancels the DTC default actions when the fault no longer exists and the ignition switch is OFF long enough in order to power down the PCM.

Diagnostic Aids

    • DTC P0218 may set approximately 600 seconds after DTC P0713 has set. Follow the diagnostic table for DTC P0713 before proceeding to the diagnostic table for DTC P0218.
    • DTC P0713 defaults to an elevated line pressure condition which may result in partial TCC apply. This may produce an idle surge that could stall the engine.

Test Description

The numbers below refer to the step numbers on the diagnostic table.

  1. This step verifies a condition in the TFT sensor circuit.

  2. This step tests for higher than normal circuit voltage which may also damage the TFT sensor.

Step

Action

Value(s)

Yes

No

1

Did you perform the Powertrain Diagnostic System Check?

--

Go to Step 2

Go to Diagnostic System Check - Engine Controls in Engine Controls - 6.5L

2

  1. Install a scan tool.
  2. Turn ON the ignition, with the engine OFF.
  3. Important: Before clearing the DTCs, use the scan tool in order to record the Failure Records. Using the Clear Info function erases the Failure Records from the PCM.

  4. Record the DTC Failure Records.

Does the scan tool display a Trans. Fluid Sensor Voltage less than the specified value?

4.93 V

Go to Intermittent Conditions in Engine Controls - 6.5L

Go to Step 3

3

  1. Turn OFF the ignition.
  2. Disconnect the AT inline 20-way connector. Additional DTCs may set.
  3. Install the J 44152 jumper harness (20 pins) on the transmission side of the AT inline 20-way connector.
  4. Using the DMM and the J 35616 connector test adapter kit, measure the resistance between terminal L and M of the J 44152 .
  5. Refer to Automatic Transmission Inline Harness Connector End View .

Is the resistance less than the specified value?

100 K ohms

Go to Step 6

Go to Step 4

4

Measure the resistance between terminal L and all other terminals of the J 44152 .

Is the resistance between terminal L and any other terminal less than the specified value?

1,000 K ohms

Go to Step 7

Go to Step 5

5

Important: High voltage, B+, in the signal circuit may damage the TFT sensor.

Test the sensor signal circuit (CKT 1227) of the TFT sensor for a short to voltage between PCM connector C1 and the AT inline 20-way connector.

Refer to Circuit Testing and Wiring Repairs in Wiring Systems.

Did you find and correct the condition?

--

Go to Step 7

Go to Step 7

6

  1. Test the sensor signal circuit (CKT 1227) of the TFT sensor for an open between the PCM connector C1 and the AT inline 20-way connector.
  2. Test the low reference circuit (CKT 452) of the TFT sensor for an open between the PCM connector C2 and the AT inline 20-way connector.

Refer to Circuit Testing in Wiring Systems.

Did you find and correct the condition?

--

Go to Step 9

Go to Step 8

7

Replace the automatic transmission wiring harness.

Refer to Valve Body and Pressure Switch Replacement .

Did you complete the replacement?

--

Go to Step 9

--

8

Replace the PCM.

Refer to Powertrain Control Module Replacement in Engine Controls - 6.5L.

Did you complete the replacement?

--

Go to Step 9

--

9

Perform the following procedure in order to verify the repair:

  1. Select DTC.
  2. Select Clear Info.
  3. Operate the vehicle so that the TFT sensor indicates a voltage less than 4.93 volts for 400 seconds (6.8 minutes).
  4. Select Specific DTC.
  5. Enter DTC P0713.

Has the test run and passed?

--

System OK

Go to Step 1