GM Service Manual Online
For 1990-2009 cars only

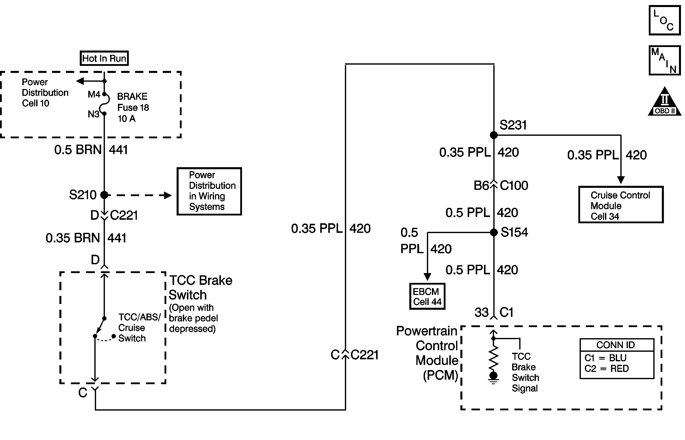
DTC P0719 Gas


Object Number: 800097  Size: MF
Master Electrical Component List
Automatic Transmission Controls Schematics Gas
OBD II Symbol Description Notice

Circuit Description

The TCC Brake switch indicates the brake pedal status. The normally closed TCC Brake switch supplies a B+ signal to the powertrain control module (PCM). The signal voltage circuit opens when the brakes are applied.

If the PCM detects an open TCC Brake switch circuit during accelerations, then DTC P0719 sets. DTC P0719 is a type C DTC.

Conditions for Running the DTC

    • No OSS DTC P0502 or P0503.
    • The following sequence of events occurs:
        1. The vehicle speed is less than 8 km/h (5 mph).
        2. Then the vehicle speed is 8-40 km/h (5-25 mph) for 1.7 seconds.
        3. Then the vehicle speed is greater than 40 km/h (25 mph) for 7 seconds.

Conditions for Setting the DTC

    • All conditions are met for 8 occurrences.
    • The PCM detects an open TCC Brake switch/circuit, 0 volts, for 15 minutes.

Action Taken When the DTC Sets

    • The PCM does not illuminate the malfunction indicator lamp (MIL).
    • For TCC scheduling, the PCM disregards the brake switch state if the TP sensor is greater than 1.5 percent and the vehicle speed is greater than 32 km/h (20 mph).
    • The PCM records the operating conditions when the Conditions for Setting the DTC are met. The PCM stores this information as Failure Records.
    • The PCM stores DTC P0719 in PCM history.

Conditions for Clearing the DTC

    • A scan tool clears the DTC from PCM history.
    • The PCM clears the DTC from PCM history if the vehicle completes 40 warm-up cycles without a non-emission related diagnostic fault occurring.
    • The PCM cancels the DTC default actions when the fault no longer exists and the ignition switch is OFF long enough in order to power down the PCM.

Diagnostic Aids

Inspect the brake switch for proper mounting and operation.

Test Description

The numbers below refer to the step numbers on the diagnostic table.

  1. This step tests for TCC Brake switch voltage to the PCM connector.

  2. This step isolates the TCC Brake switch as a source for setting the DTC.

  3. This step tests for a short to ground in the voltage circuit (CKT 441) to the TCC Brake switch.

  4. This step tests for a short to ground in the TCC Brake switch circuit (CKT 420), from the TCC Brake switch to the PCM.

  5. This step isolates the PCM as a source for causing the fuse to open.

Step

Action

Value(s)

Yes

No

1

Did you perform the Powertrain Diagnostic System Check?

--

Go to Step 2

Go to Diagnostic System Check - Engine Controls in Engine Controls - 4.3L or Diagnostic System Check - Engine Controls in Engine Controls - 5.0/5.7L or Diagnostic System Check - Engine Controls in Engine Controls - 8.1L

2

  1. Install a scan tool.
  2. Turn ON the ignition, with the engine OFF.
  3. Important: Before clearing the DTCs, use the scan tool in order to record the Failure Records. Using the Clear Info function erases the Failure Records from the PCM.

  4. Record the Failure Records.
  5. Clear the DTCs.
  6. Caution: When you are performing service on or near the SIR components or the SIR wiring, you must disable the SIR system. Refer to Disabling the SIR System. Failure to follow the correct procedure could cause air bag deployment, personal injury, or unnecessary SIR system repairs.

  7. Select the TCC Brake Switch on the scan tool.
  8. Do not apply the brake pedal.

Does the scan tool TCC Brake Switch indicate CLOSED, when the brake pedal is not applied?

--

Go to Intermittent Conditions in Engine Controls - 4.3L or Intermittent Conditions in Engine Controls - 5.0/5.7L or Intermittent Conditions in Engine Controls - 8.1L

Go to Step 3

3

  1. Remove the brake fuse.
  2. Inspect the brake fuse for an open.
  3. Refer to General Electrical Diagnosis in Wiring Systems.

Is the fuse open?

--

Go to Step 10

Go to Step 4

4

  1. Turn OFF the ignition.
  2. Disconnect the PCM connector C1 from the PCM.
  3. Connect a 12 volt test lamp to a good ground.
  4. Using the J 35616-A connector test adapter kit and the 12 volt test lamp, probe terminal C1-33.
  5. Install the fuse.
  6. Turn ON the ignition, with the engine OFF.
  7. Do not apply the brake pedal.

Does the test lamp illuminate?

--

Go to Step 15

Go to Step 5

5

  1. Turn OFF the ignition.
  2. Remove the connector from the TCC Brake switch.
  3. Use the DMM to measure B+ voltage at terminal D of the brake switch connector.
  4. Turn ON the ignition, with the engine OFF.

Does the voltage measure within the specified value?

10-13 V

Go to Step 7

Go to Step 6

6

Important: The condition that affects this circuit may exist in other connecting branches of the circuit. Refer to Power Distribution Schematics in Wiring Systems for complete circuit distribution.

Test the ignition voltage circuit (CKT 441) for an open.

Did you find and correct the condition?

--

Go to Step 16

--

7

  1. Turn ON the ignition, with the engine OFF.
  2. Install a fused jumper wire from terminal C to terminal D of the TCC Brake switch connector.
  3. Probe the PCM connector terminal C1-33 with the test lamp.

Does the test lamp illuminate?

--

Go to Step 9

Go to Step 8

8

Important: The condition that affects this circuit may exist in other connecting branches of the circuit. Refer to Power Distribution Schematics in Wiring Systems for complete circuit distribution.

Test the TCC brake switch circuit (CKT 420) for an open.

Did you find and correct the condition?

--

Go to Step 16

--

9

Replace the TCC Brake switch.

Refer to Stop Lamp Switch Replacement in Hydraulic Brakes.

Did you complete the replacement?

--

Go to Step 16

--

10

  1. Turn ON the ignition, with the engine OFF.
  2. Apply and hold the brake pedal.
  3. Install a new fuse while keeping the brake pedal applied.

Does the fuse open with the brake pedal applied?

--

Go to Step 11

Go to Step 12

11

Important: The condition that affects this circuit may exist in other connecting branches of the circuit. Refer to Power Distribution Schematics in Wiring Systems for complete circuit distribution.

Test the ignition voltage circuit (CKT 441) for a short to ground.

Did you find and correct the condition?

--

Go to Step 16

--

12

With the key in the RUN position, release the brake pedal.

Does the fuse open when the brake pedal is released?

--

Go to Step 13

Go to Intermittent Conditions in Engine Controls - 4.3L or Intermittent Conditions in Engine Controls - 5.0/5.7L or Intermittent Conditions in Engine Controls - 8.1L

13

  1. Disconnect the PCM connector C1 from the PCM. Additional DTCs may set.
  2. Turn ON the ignition, with the engine OFF.
  3. Install a new fuse.
  4. Do not apply the brake pedal.

Does the fuse open?

--

Go to Step 14

Go to Step 15

14

Important: The condition that affects this circuit may exist in other connecting branches of the circuit. Refer to Power Distribution Schematics in Wiring Systems for complete circuit distribution.

Test the TCC brake switch circuit (CKT 420) for a short to ground.

Did you find and correct the condition?

--

Go to Step 16

--

15

Replace the PCM.

Refer to Powertrain Control Module Replacement in Engine Controls - 4.3L or Powertrain Control Module Replacement in Engine Controls - 5.0/5.7L or Powertrain Control Module Replacement in Engine Controls - 8.1L.

Did you complete the replacement?

--

Go to Step 16

--

16

Perform the following procedure in order to verify the repair:

  1. Select DTC.
  2. Select Clear Info.
  3. Operate the vehicle under the following conditions:
  4. • Turn ON the ignition, with the engine OFF.
    • The brake pedal is not applied.
    • Select TCC Brake Switch on the scan tool.

Does the TCC Brake Switch indicate CLOSED when the brake pedal is not applied, then indicate OPEN when the brake pedal is applied?

--

System OK

Go to Step 1

DTC P0719 Diesel


Object Number: 700775  Size: MF
Master Electrical Component List
Automatic Transmission Controls Schematics Diesel
OBD II Symbol Description Notice

Circuit Description

The normally open TCC Brake switch indicates brake pedal status to the powertrain control module (PCM). Applying the brake pedal closes the switch, supplying voltage to the PCM. Releasing the brake pedal interrupts voltage to the PCM.

If the PCM detects an open TCC Brake switch, stuck OFF, during decelerations, then DTC P0719 sets. DTC P0719 is a type C DTC.

Conditions for Running the DTC

    • No VSS sensor DTC P0722 or P0723.
    • The following sequence of events occur:
        1. The vehicle speed is greater than 32 km/h (20 mph) for 6 seconds.
        2. Then the vehicle speed is 8-32 km/h (5-20 mph) for 3 seconds.
        3. Then the vehicle speed is less than 8 km/h (5 mph).
        4. DTC P0719 has not passed.

Conditions for Setting the DTC

    • All conditions are met for ten occurrences.
    • The PCM detects a closed TCC Brake switch/circuit, 0 volts.

Action Taken When the DTC Sets

    • The PCM does not illuminate the malfunction indicator lamp (MIL).
    • The PCM records the operating conditions when the Conditions for Setting the DTC are met. The PCM stores this information as Failure Records.
    • The PCM stores DTC P0719 in PCM history.

Conditions for Clearing the DTC

    • A scan tool clears the DTC from PCM history.
    • The PCM clears the DTC from PCM history if the vehicle completes 40 warm-up cycles without a non-emission related diagnostic fault occurring.
    • The PCM cancels the DTC default actions when the fault no longer exists and the ignition switch is OFF long enough in order to power down the PCM.

Diagnostic Aids

    • Ask about the customer driving habits and any unusual driving conditions he or she might have, such as stop and go traffic or expressway driving.
    • A short in the Brake Switch circuit will cause the fuse to open.
    • Inspect the TCC Brake switch for proper mounting and operation.

Test Description

The numbers below refer to the step numbers on the diagnostic table.

  1. This step isolates the TCC Brake switch as a source for setting the DTC.

  2. This step tests for a short to ground between the fuse and the TCC Brake switch.

  3. This step tests for a short to ground in circuit 17.

  4. This step removes the PCM from circuit 17 as the source of a short to ground.

Step

Action

Value(s)

Yes

No

1

Did you perform the Powertrain Diagnostic System Check?

--

Go to Step 2

Go to Diagnostic System Check - Engine Controls in Engine Controls - 6.5L

2

  1. Install a scan tool.
  2. Turn ON the ignition, with the engine OFF.
  3. Important: Before clearing the DTC, use the scan tool in order to record the Freeze Frame and Failure Records. Using the Clear Info function erases the Failure Records from the PCM.

  4. Record the DTC Failure Records.
  5. Clear the DTC.
  6. Caution: When you are performing service on or near the SIR components or the SIR wiring, you must disable the SIR system. Refer to Disabling the SIR System. Failure to follow the correct procedure could cause air bag deployment, personal injury, or unnecessary SIR system repairs.

  7. Select the TCC Brake switch on the scan tool.
  8. Disconnect the TCC Brake switch connector from the TCC Brake switch.
  9. Connect a test lamp from cavity E (CKT 140) of the TCC Brake switch connector to a known good ground.

Does the test lamp illuminate?

--

Go to Step 3

Go to Step 4

3

Install a fused jumper wire from terminal E (CKT 140) to terminal F (CKT 17) of the TCC Brake switch connector.

Did the scan tool TCC Brake switch status change from Open to Closed?

--

Go to Step 10

Go to Step 12

4

  1. Remove the Stop/Hazard fuse.
  2. Inspect the Stop/Hazard fuse for an open.
  3. Refer to Circuit Testing and Wiring Repairs in Wiring Systems.

Is the fuse open?

--

Go to Step 5

Go to Step 11

5

Replace the Stop/Hazard fuse.

Does the replacement fuse open immediately?

--

Go to Step 6

Go to Step 7

6

Test the battery positive voltage circuit (CKT 140) of the TCC Brake switch for a short to ground between the power distribution block and the TCC Brake switch connector.

Refer to Circuit Testing and Wiring Repairs in Wiring Systems.

Did you find and correct the condition?

--

Go to Step 14

--

7

  1. Connect the TCC Brake switch connector.
  2. Apply the brake pedal.

Does the fuse open immediately?

--

Go to Step 8

Go to Intermittent Conditions in Engine Controls - 6.5L

8

  1. Disconnect the PCM  connector C2.
  2. Replace the Brake switch fuse.
  3. Apply the brake pedal.

Does the fuse open immediately?

--

Go to Step 9

Go to Step 13

9

Test the lamp switch signal circuit (CKT 17) of the TCC Brake switch for a short to ground between the PCM connector C2-B10 and the TCC Brake switch connector.

Refer to Circuit Testing and Wiring Repairs in Wiring Systems.

Did you find and correct the condition?

--

Go to Step 14

--

10

Replace the stop lamp switch.

Refer to Stop Lamp Switch Replacement in Hydraulic Brakes.

Did you complete the replacement?

--

Go to Step 14

--

11

Test the battery positive voltage circuit (CKT 140) of the TCC Brake switch for an open between the power distribution block and the TCC Brake switch connector.

Refer to Circuit Testing and Wiring Repairs in Wiring Systems.

Did you find and correct the condition?

--

Go to Step 14

--

12

Test the lamp switch signal circuit (CKT 17) of the TCC Brake switch for an open between the PCM connector C2-B10 and the TCC Brake switch connector.

Refer to Circuit Testing and Wiring Repairs in Wiring Systems.

Did you find and correct the condition?

--

Go to Step 14

Go to Step 13

13

Replace the PCM.

Refer to Powertrain Control Module Replacement in Engine Controls - 6.5L.

Did you complete the replacement?

--

Go to Step 14

--

14

Perform the following procedure in order to verify your repair:

  1. Select DTC.
  2. Select Clear Info.
  3. Operate the vehicle under the following conditions:
  4. • With the engine OFF, the ignition switch is in the RUN position.
    • Apply the brake pedal.
    • The scan tool TCC Brake Switch status must indicate Closed, 12 volts, for 2 seconds.
  5. Select Specific DTC.
  6. Enter DTC P0719.

Has the test run and passed?

--

System OK

Go to Step 1