| • | J 33838 Pinion Setting Gage |
| • | J 29763 Static Timing Gage |
Important: Make sure all of the tools, the pinion bearings, and the pinion bearing cups are clean before proceeding.
Tighten
Tighten the bolt until a rotating torque of 1.7-3.4 N·m (15-30 lb in) for new bearings or 1.0-2.3 N·m (10-20 lb in) for used bearings is obtained.
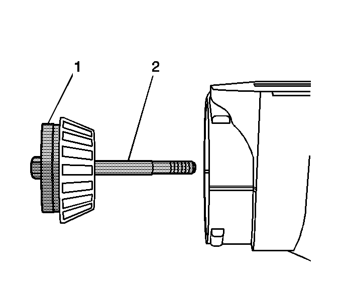
| 10.1. | Install the collar and the lock nut onto the J 33838 . |
Do not tighten the lock nut at this time.
| 10.2. | Install the J 29763 into the collar. |
| 10.4. | With the stem of the J 29763 touching the contact surface of the J 33838 , push down on the J 29763 until the needle of the J 29763 has turned 3/4 of a turn clockwise. |
| 10.5. | Tighten the lock nut of the J 29763 finger tight. |